TOP
|
特許
|
意匠
|
商標
特許ウォッチ
Twitter
他の特許を見る
10個以上の画像は省略されています。
公開番号
2025132472
公報種別
公開特許公報(A)
公開日
2025-09-10
出願番号
2024030076
出願日
2024-02-29
発明の名称
集合継手
出願人
積水化学工業株式会社
代理人
個人
,
個人
,
個人
,
個人
主分類
E03C
1/12 20060101AFI20250903BHJP(上水;下水)
要約
【課題】負圧の発生を抑制できる集合継手を得る。
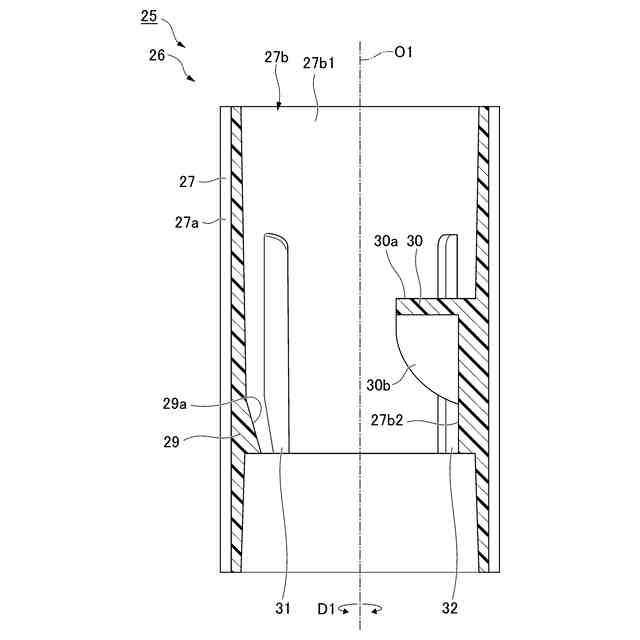
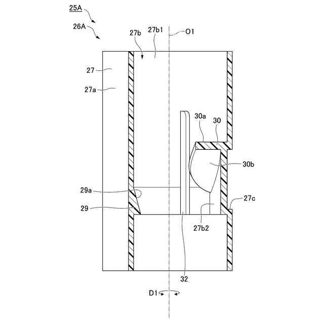
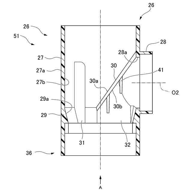
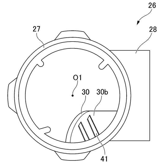
【解決手段】集合継手25は、建物の床スラブSに設けた貫通孔Hに設置される集合継手25であって、上階から延びる縦管10と接続される縦管接続部46、および、横管20と接続される横管接続部28を有する集合部65と、下階から延びる縦管15と接続される下部接続部36と、集合部65と下部接続部36との間に配置されて排水用の排水用流路を形成する中間部材61と、を備え、中間部材61の排水用流路を形成する流路形成部62の内径が、125mmよりも大きく、かつ、160mmよりも小さい、集合継手である。
【選択図】図1
特許請求の範囲
【請求項1】
建物の床スラブに設けた貫通孔に設置される集合継手であって、
上階から延びる縦管と接続される縦管接続部、および、横管と接続される横管接続部を有する集合部と、
下階から延びる縦管と接続される下部接続部と、
前記集合部と前記下部接続部との間に配置されて排水用流路を形成する中間部材と、
を備え、
前記中間部材の前記排水用流路を形成する流路形成部の内径が、125mmよりも大きく、かつ、160mmよりも小さい、集合継手。
続きを表示(約 530 文字)
【請求項2】
前記中間部材は、前記集合部内と前記下部接続部内とに亘って配置されていて、軸方向の全体が前記流路形成部となっている、請求項1に記載の集合継手。
【請求項3】
前記中間部材は、上端部が前記集合部が挿入される受口となっている、請求項1に記載の集合継手。
【請求項4】
前記中間部材は、下端部が前記下部接続部が挿入される受口となっている、請求項3に記載の集合継手。
【請求項5】
前記中間部材は、下端部が前記下部接続部に挿入される差口となっている、請求項3に記載の集合継手。
【請求項6】
前記集合部の下端部は、前記下部接続部に挿入される差口となっていて、前記中間部材は、前記集合部内に配置され、軸方向の全体が前記流路形成部となっている、請求項1に記載の集合継手。
【請求項7】
前記集合部の下端部は、前記下部接続部が挿入される受口となっていて、前記中間部材は、前記集合部内に配置され、軸方向の全体が前記流路形成部となっている、請求項1に記載の集合継手。
【請求項8】
前記中間部材は、熱膨張性耐火材を含む、請求項1から7のいずれか一項に記載の集合継手。
発明の詳細な説明
【技術分野】
【0001】
本発明は、集合継手に関する。
続きを表示(約 1,300 文字)
【背景技術】
【0002】
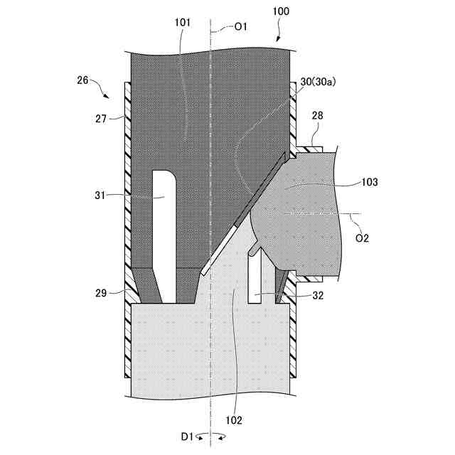
従来から、下記特許文献1に記載の集合継手が知られている。集合継手は、建物の床スラブに設けた貫通孔に設置される。この集合継手は、上階から延びる縦管と接続される縦管接続部、および、横管と接続される横管接続部を有する集合部と、下階から延びる縦管と接続される下部接続部と、集合部と下部接続部との間に配置される中間部材と、を備えている。
【先行技術文献】
【特許文献】
【0003】
特開2022-87083号公報
【発明の概要】
【発明が解決しようとする課題】
【0004】
本願発明者は、前記集合継手の集合部において、縦管を流れる上階からの排水と、横管を流れる排水と、が合流するときに、その合流部分である中間部材内において、集合継手内が排水で疑似的に封止されることを見出した。このように集合継手内が排水で封止されると、例えば、下階の縦管内で下階の排水が流下したとき等に、排水で封止される部分と、排水が流下する部分と、の間で負圧が生じるおそれがある。この場合であって、その負圧が各階の排水設備に及ぶと、例えば、排水トラップ等の封水部が破封される可能性がある。
【0005】
本発明は、かかる問題点を解決するためになされたもので、負圧の発生を抑制できる集合継手を得ることを目的とするものである。
【課題を解決するための手段】
【0006】
前記の目的を達成するため、本発明に係る集合継手は、建物の床スラブに設けた貫通孔に設置される集合継手であって、上階から延びる縦管と接続される縦管接続部、および、横管と接続される横管接続部を有する集合部と、下階から延びる縦管と接続される下部接続部と、前記集合部と前記下部接続部との間に配置されて排水用流路を形成する中間部材と、を備え、前記中間部材の前記排水用流路を形成する流路形成部の内径が、125mmよりも大きく、かつ、160mmよりも小さい、集合継手である。
【0007】
この集合継手では、中間部材の流路形成部の内径が、125mmよりも大きく、かつ、160mmよりも小さい。中間部材の流路形成部の内径が、125mmよりも大きいことで、中間部材の流路形成部の流路断面積を十分確保することが可能になり、中間部材内が排水で封止されることが抑制され、負圧の発生が抑制される。一方、中間部材の流路形成部の内径が160mmよりも小さいことで、集合継手が過剰に大きくなることがなく、例えば、省スペース化を図ること等ができる。
【0008】
本発明に係る集合継手は、前記中間部材が、前記集合部内と前記下部接続部内とに亘って配置されていて、軸方向の全体が前記流路形成部となっていても良い。
【0009】
この集合継手では、中間部材の形状を例えば円筒状等に簡素化できるため、その製造が容易となる。
【0010】
本発明に係る集合継手は、前記中間部材が、上端部が前記集合部が挿入される受口となっていても良い。
(【0011】以降は省略されています)
この特許をJ-PlatPat(特許庁公式サイト)で参照する
関連特許
積水化学工業株式会社
粘着テープ
3日前
積水化学工業株式会社
粘着テープ
3日前
積水化学工業株式会社
表面材及び表面材付き基材
3日前
積水化学工業株式会社
既設管更生方法および既設管更生設備
4日前
積水化学工業株式会社
ポリビニルアセタール樹脂
3日前
積水化学工業株式会社
ポリビニルアセタール樹脂
3日前
積水化学工業株式会社
ポリビニルアセタール樹脂
3日前
積水化学工業株式会社
ポリビニルアセタール樹脂
3日前
積水化学工業株式会社
ポリビニルアセタール樹脂
3日前
積水化学工業株式会社
ポリビニルアセタール樹脂
3日前
積水化学工業株式会社
ポリビニルアセタール樹脂
3日前
積水化学工業株式会社
ポリビニルアセタール樹脂
3日前
積水化学工業株式会社
ポリビニルアセタール樹脂
3日前
積水化学工業株式会社
ポリビニルアセタール樹脂
3日前
積水化学工業株式会社
ウレタン樹脂組成物及びポリウレタンフォーム
3日前
積水化学工業株式会社
ポリビニルアセタール樹脂、ポリビニルアセタール樹脂溶液の製造方法
3日前
積水化学工業株式会社
ポリビニルアセタール樹脂、ポリビニルアセタール樹脂溶液の製造方法
3日前
積水化学工業株式会社
ポリビニルアセタール樹脂、ポリビニルアセタール樹脂溶液の製造方法
3日前
丸一株式会社
排水配管部材
19日前
個人
ドクター中まミズつクル
2か月前
株式会社田中設備
蓋体
1か月前
TOTO株式会社
トイレ装置
2か月前
一文機工株式会社
トイレ装置
24日前
TOTO株式会社
排水システム
2か月前
TOTO株式会社
排水システム
2か月前
株式会社KVK
水栓
3か月前
ミサワホーム株式会社
外構
1か月前
株式会社KVK
水栓
3か月前
タイガースポリマー株式会社
側溝
2か月前
株式会社KVK
水栓
3か月前
TOTO株式会社
便座装置
2か月前
株式会社KVK
水栓
1か月前
TOTO株式会社
トイレ装置
2か月前
TOTO株式会社
トイレ装置
2か月前
TOTO株式会社
トイレ装置
2か月前
ホーコス株式会社
床置型グリース阻集器
2か月前
続きを見る
他の特許を見る