TOP
|
特許
|
意匠
|
商標
特許ウォッチ
Twitter
他の特許を見る
10個以上の画像は省略されています。
公開番号
2025132272
公報種別
公開特許公報(A)
公開日
2025-09-10
出願番号
2024029707
出願日
2024-02-29
発明の名称
シールド電線の端末構造及びその形成方法、並びに端子付き電線及びコネクタ付き電線
出願人
古河電気工業株式会社
,
古河AS株式会社
代理人
個人
,
個人
主分類
H01R
13/6595 20110101AFI20250903BHJP(基本的電気素子)
要約
【課題】シールド電線に対するフェルールの引っ張り強度が高く、コンパクトで形成が容易なシールド電線の端末構造及びその形成方法、並びに端子付き電線及びコネクタ付き電線の提供。
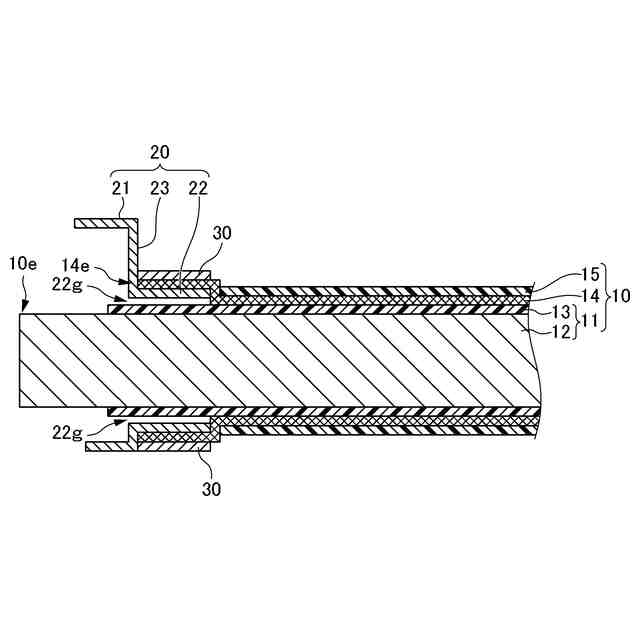
【解決手段】導線12が絶縁層13で被覆されたコア部11と、その外周に配置されたシールド層14と、その外周を被覆する外被15とを有するシールド電線10の端末構造であって、コア部11の外径と同等以上の内径を有する筒状部22を有し、筒状部22が、所定長さの外被15が剥離されて露出するシールド層14の露出部分とコア部11との間に位置するフェルール20と、シールド電線10の外径と同等以上の内径を有し、筒状部22の外周面と対向する位置で、筒状部22とともにシールド層14の露出部分を挟んだ状態で固定配置されるリング状のスリーブ30と、を備える、シールド電線の端末構造及びその形成方法。当該端末構造を有する端子付き電線及びコネクタ付き電線。
【選択図】図1
特許請求の範囲
【請求項1】
導線が絶縁層で被覆されたコア部と、該コア部の外周に配置されたシールド層と、該シールド層の外周を被覆する外被とを有するシールド電線の端末構造であって、
前記コア部の外径と同等以上の内径を有する筒状部を有し、前記筒状部が、所定長さの前記外被が剥離されて露出する前記シールド層の露出部分と、前記コア部との間に位置するフェルールと、
前記シールド電線の外径と同等以上の内径を有し、前記筒状部の外周面と対向する位置で、前記筒状部とともに前記シールド層の露出部分を挟んだ状態で固定配置されるリング状のスリーブと、を備える、シールド電線の端末構造。
続きを表示(約 970 文字)
【請求項2】
請求項1に記載のシールド電線の端末構造を形成するためのシールド電線の端末構造の形成方法であって、
前記シールド電線の端部を、先端から順に、前記導線、前記絶縁層及び前記シールド層が露出するようにストリップ加工するストリップ工程と、
前記スリーブを、前記シールド電線の先端から、前記シールド層の露出部分が形成される位置を通過して前記外被が残る位置まで嵌装するスリーブ嵌装工程と、
前記フェルールの前記筒状部を、前記シールド層の露出部分と前記コア部との間に嵌入するフェルール配置工程と、
前記スリーブを前記シールド層の前記露出部分まで移動して、前記スリーブが前記シールド層の前記露出部分を挟んだ状態で前記筒状部の外周面と対向する位置関係になるように配置するスリーブ配置工程と、
前記スリーブを外周から圧着して、前記フェルールを前記シールド電線に固定する圧着工程と、
を有する、シールド電線の端末構造の形成方法。
【請求項3】
請求項1に記載のシールド電線の端末構造を形成するためのシールド電線の端末構造の形成方法であって、
前記シールド電線の端部を、先端から順に、前記導線、前記絶縁層及び前記シールド層が露出するようにストリップ加工するストリップ工程と、
前記フェルールの前記筒状部を、前記シールド層の露出部分と前記コア部との間に嵌入するフェルール配置工程と、
前記シールド層の前記露出部分を挟んだ状態で前記筒状部の外周面と対向する位置に帯状体を巻き付けてリング状にし、これを前記スリーブとして配置するスリーブ配置工程と、
前記スリーブを外周から圧着して、前記フェルールを前記シールド電線に固定する圧着工程と、
を有する、シールド電線の端末構造の形成方法。
【請求項4】
請求項1に記載のシールド電線の端末構造を有する端子付き電線であって、
前記コア部の先端から所定長さの前記絶縁層が剥離され、内部の前記導線が端子と接続されている、端子付き電線。
【請求項5】
請求項4に記載の端子付き電線と、該端子付き電線の前記端子が収容されるコネクタハウジングと、を有する、コネクタ付き電線。
発明の詳細な説明
【技術分野】
【0001】
本発明は、シールド電線の端末構造及びその形成方法、並びに端子付き電線及びコネクタ付き電線に関する。
続きを表示(約 1,500 文字)
【背景技術】
【0002】
従来、例えば自動車のワイヤハーネスに用いられる電線には、外部への電磁波の漏洩を防止するため、あるいは、外部から電線への電磁波の影響を抑制するために、シールド電線が用いられている。
【0003】
このようなシールド電線としては、例えば、絶縁被覆がなされた被覆電線の外周に編組線を含むシールド層が形成され、シールド層の外周に外被が形成されたシールド電線が提案されている。このようなシールド電線の端部に端子等を接続してコネクタを構成する際には、シールド層を接地するための端末構造を形成する必要がある。
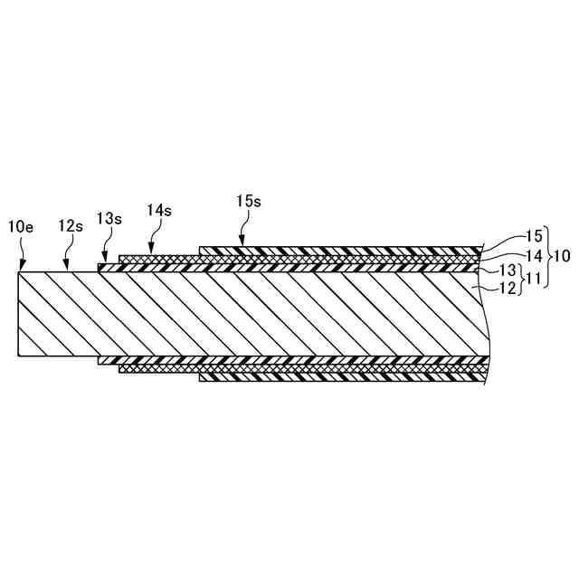
【0004】
図12は、従来の端末構造を形成する工程を示す説明図である。まず、図12(a)、図12(b)に示すように、シールド電線100の最外周の外被103を、端部から所定長さ切断除去し、内部の編組線を含むシールド層105を露出させる。
【0005】
次に、図12(c)に示すように、シールド層105を所定長さに切断し、内部のコア部107を露出させる。すなわち、外被103の先端からシールド層105が所定長さ露出し、シールド層105の先端からコア部107が所定長さ露出する。なお、コア部107は導体が絶縁被覆された電線である。
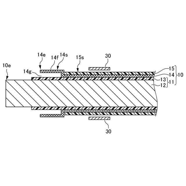
【0006】
次に、図12(d)に示すように、外被103の端部近傍において、所定長さのインナーフェルール109を配置する。インナーフェルール109は金属製の環状部材である。その後、図12(e)に示すように、外被103から露出していたシールド層105を外被103側(インナーフェルール109側)に折り返す。これにより、インナーフェルール109がシールド層105によって覆われる。
【0007】
最後に、図12(f)に示すように、シールド層105の外周にアウターフェルール113を配置する。アウターフェルール113はインナーフェルール109と同様に金属製の環状部材であり、インナーフェルール109の外径よりも内径が大きい。この状態でアウターフェルール113を外周から圧縮することで、インナーフェルール109とアウターフェルール113とでシールド層105が挟まれた状態で圧着することができる。
【0008】
この後、コア部107には端子が接続され、端子はコネクタ本体に収容される。この際、アウターフェルール113をコネクタ本体の内部の金属部材と接触させ、金属部材を接地線と接続することで、シールド電線100のシールド層を接地させることができる。
【0009】
しかし、シールド層105の折り返し片にインナーフェルール109及びアウターフェルール113が固定された状態なので、シールド電線100に対するこれらフェルールの引っ張り強度が低下する懸念がある。また、これらフェルールとシールド電線100との固定部が、インナーフェルール109とシールド層105の折り返し片とアウターフェルール113と外被103とが積層した状態であり、シールド線100の外周から大きく張り出してしまうため、当該部分の構造が大型化してしまう。さらに、折り返しの分だけシールド層105の必要長が長くなるためストリップ加工を一度に行うことができず、シールド層105の折り返し作業の前後にストリップ加工をしなければならないため、作業量が多くなってしまう。
【先行技術文献】
【特許文献】
【0010】
特開2013-51141号公報
(【0011】以降は省略されています)
この特許をJ-PlatPat(特許庁公式サイト)で参照する
関連特許
日本発條株式会社
積層体
9日前
ローム株式会社
半導体装置
5日前
ローム株式会社
半導体装置
7日前
ローム株式会社
半導体装置
7日前
ローム株式会社
半導体装置
今日
ローム株式会社
半導体装置
7日前
個人
防雪防塵カバー
9日前
個人
半導体パッケージ用ガラス基板
8日前
株式会社ホロン
冷陰極電子源
5日前
太陽誘電株式会社
全固体電池
5日前
株式会社GSユアサ
蓄電装置
5日前
株式会社GSユアサ
蓄電装置
9日前
日本特殊陶業株式会社
保持装置
7日前
TDK株式会社
電子部品
5日前
日本特殊陶業株式会社
保持装置
5日前
ローム株式会社
電子装置
9日前
日本特殊陶業株式会社
保持装置
5日前
日本特殊陶業株式会社
保持装置
9日前
トヨタ自動車株式会社
二次電池
9日前
株式会社デンソー
電子装置
9日前
SMK株式会社
キートップ及びスイッチ
今日
矢崎総業株式会社
コネクタ
12日前
住友電装株式会社
コネクタ
9日前
トヨタ自動車株式会社
電池パック
13日前
日東電工株式会社
電子装置
1日前
トヨタ自動車株式会社
電池パック
13日前
トヨタ自動車株式会社
電池パック
13日前
ローム株式会社
半導体装置
9日前
ヒロセ電機株式会社
電気コネクタ
9日前
株式会社カネカ
正極活物質
9日前
ローム株式会社
半導体装置
9日前
住友電装株式会社
コネクタ
9日前
住友電装株式会社
コネクタ
9日前
住友電装株式会社
コネクタ
9日前
TDK株式会社
コイル部品
7日前
日本特殊陶業株式会社
電極
5日前
続きを見る
他の特許を見る