TOP
|
特許
|
意匠
|
商標
特許ウォッチ
Twitter
他の特許を見る
公開番号
2025132133
公報種別
公開特許公報(A)
公開日
2025-09-10
出願番号
2024029497
出願日
2024-02-29
発明の名称
調光体
出願人
TOPPANホールディングス株式会社
代理人
個人
,
個人
主分類
E06B
3/70 20060101AFI20250903BHJP(戸,窓,シャッタまたはローラブラインド一般;はしご)
要約
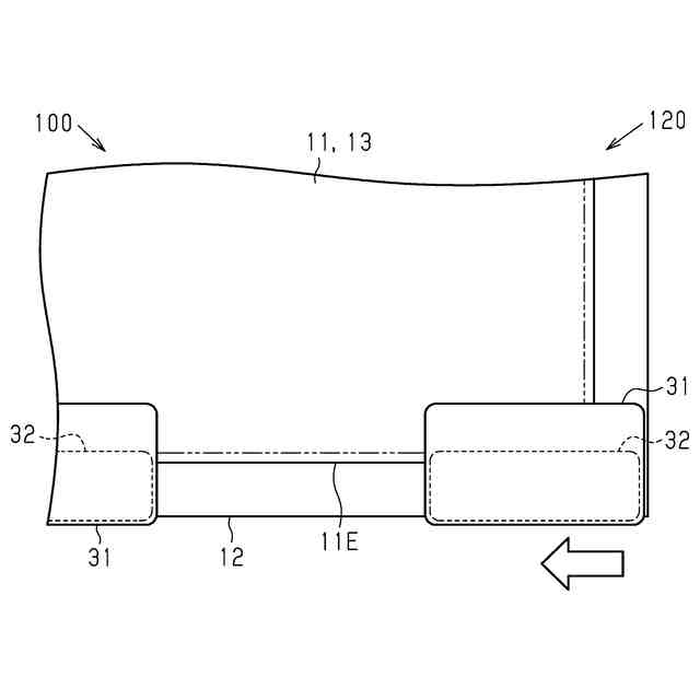
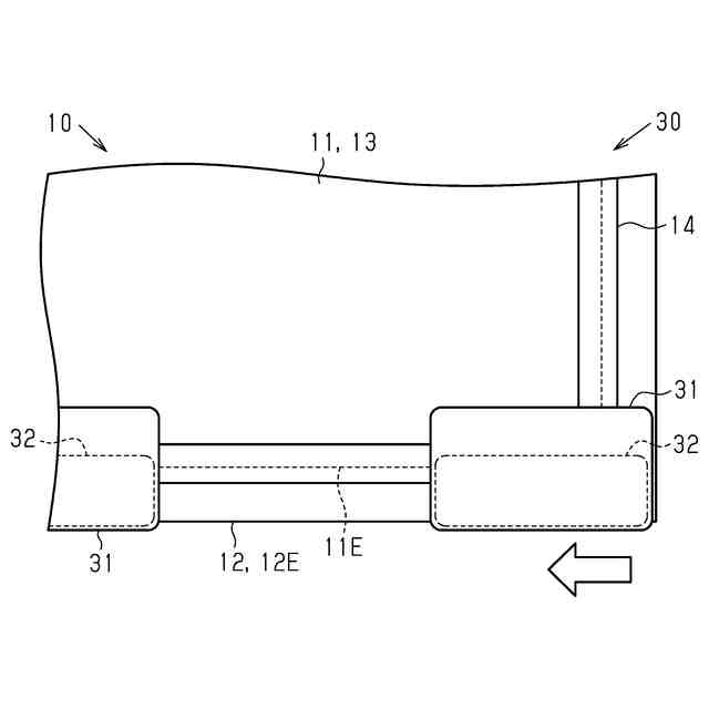
【課題】調光体をサッシに取り付ける際に、調光シートの一部が透明部材から剥がれたり、調光シートに皺が生じたり、透明部材に対する調光シートの位置が変わることを抑えることを可能とした調光体を提供する。
【解決手段】調光体10は、調光シート11と、調光シート11を支持する透明部材12と、調光シート11と透明部材12との間に位置し、調光シート11を透明部材12に貼り付ける粘着層13とを備える。透明部材12が広がる平面と対向する視点から見て、透明部材12は調光シート11よりも大きく、調光シート11の外縁11Eにおける全周が透明部材12内に位置する。調光体10は、透明部材12が広がる平面と対向する視点から見て、調光シート11の外縁11Eにおける少なくとも一部を透明部材12に固定する樹脂製の固定部14を備える。
【選択図】図1
特許請求の範囲
【請求項1】
調光シートと、
前記調光シートを支持する透明部材と、
前記調光シートと前記透明部材との間に位置し、前記調光シートを前記透明部材に貼り付ける粘着層と、を備える調光体であって、
前記透明部材が広がる平面と対向する視点から見て、前記透明部材は前記調光シートよりも大きく、前記調光シートの外縁における全周が前記透明部材内に位置し、
前記透明部材が広がる前記平面と対向する前記視点から見て、前記調光シートの前記外縁における少なくとも一部を前記透明部材に固定する樹脂製の固定部を備える
調光体。
続きを表示(約 310 文字)
【請求項2】
前記固定部は、紫外線硬化性樹脂の硬化体である
請求項1に記載の調光体。
【請求項3】
前記固定部は、溶剤揮発型の樹脂の硬化体である
請求項1に記載の調光体。
【請求項4】
前記固定部は、湿気硬化型の樹脂の硬化体である
請求項1に記載の調光体。
【請求項5】
前記粘着層は、自己粘着性を有する
請求項1から4のいずれか一項に記載の調光体。
【請求項6】
前記透明部材は、ガラス、アクリル系樹脂、および、ポリカーボネート系樹脂のいずれかを含む
請求項1から4のいずれか一項に記載の調光体。
発明の詳細な説明
【技術分野】
【0001】
本開示は、調光体に関する。
続きを表示(約 1,700 文字)
【背景技術】
【0002】
調光シートの一例は、一対の透明導電シートと、透明導電シート間に位置する調光層とを備えている。各透明導電シートは、透明電極層と透明樹脂層とを備えている。一対の透明電極層が、調光層を挟んでいる。調光層は、例えば、複数の空隙を備える透明高分子層と、透明高分子層の空隙内に位置する液晶組成物とを備えている。調光シートは、調光層に対して電圧が印加されているか否かに応じて、第1の散乱状態と第2の散乱状態とを有する。第1の散乱状態と第2の散乱状態との間では、拡散透過率が異なる。調光シートは、接着層によって支持基材に貼り付けられる(例えば、特許文献1を参照)。
【先行技術文献】
【特許文献】
【0003】
特開2019-124939号公報
【発明の概要】
【発明が解決しようとする課題】
【0004】
透明部材と調光シートとを含む調光体は、調光体の支持部材であるサッシに取り付けられ、これによって調光窓が形成される。調光体がサッシに固定される際には、例えば、調光体がサッシに挿入された後に、調光体とサッシとの隙間を埋めるコーキング剤が当該隙間に充填される。コーキング剤が硬化されることによって、調光体がサッシに固定される。あるいは、グレイジングチャンネルが巻き付けされた調光体が、サッシの溝をグレイジングチャンネルが埋めるように、サッシに固定される。
【0005】
調光体がコーキング剤によってサッシに固定される場合には、コーキング剤の収縮によって、調光シートの一部が透明部材の一部から剥がれることがある。調光体がグレイジングチャンネルによってサッシに固定される場合には、調光シートとグレイジングチャンネルとの間に生じる摩擦力によって、調光シートに皺が生じたり、透明部材に対する調光シートの位置が変わったりする。
【課題を解決するための手段】
【0006】
上記課題を解決するための調光体は、調光シートと、前記調光シートを支持する透明部材と、前記調光シートと前記透明部材との間に位置し、前記調光シートを前記透明部材に貼り付ける粘着層と、を備える調光体である。前記透明部材が広がる平面と対向する視点から見て、前記透明部材は前記調光シートよりも大きく、前記調光シートの外縁における全周が前記透明部材内に位置する。前記透明部材が広がる前記平面と対向する前記視点から見て、前記調光シートの前記外縁における少なくとも一部を前記透明部材に固定する樹脂製の固定部を備える。
【0007】
上記調光体によれば、調光シートにおける外縁が固定部によって透明部材に固定されている。そのため、調光体をサッシに取り付ける際に、調光シートを透明部材から剥がすような力が調光シートに作用しても、調光シートの一部が透明部材から剥がれることが抑えられる。また、調光体をサッシに取り付ける際に、透明部材に対する調光シートの位置が変わるような摩擦力が調光シートに作用しても、調光シートに皺が生じたり、透明部材に対する調光シートの位置が変わったりすることが抑えられる。
【0008】
上記調光体において、前記固定部は、紫外線硬化性樹脂の硬化体であってもよい。
上記調光体において、前記固定部は、溶剤揮発型の樹脂の硬化体であってもよい。
上記調光体において、前記固定部は、湿気硬化型の樹脂の硬化体であってもよい。
【0009】
上記調光体において、前記粘着層は、自己粘着性を有してもよい。
上記調光体によれば、粘着層が自己粘着による接着力しか有しないから、調光体が固定部を有することの実効性が高まる。
【0010】
上記調光体において、前記透明部材は、ガラス、アクリル系樹脂、および、ポリカーボネート系樹脂のいずれかを含んでもよい。
上記調光体によれば、透明度の高い調光体を得ることが可能であるから、窓に用いる上で好適な調光体を得ることができる。
【発明の効果】
(【0011】以降は省略されています)
この特許をJ-PlatPat(特許庁公式サイト)で参照する
関連特許
株式会社ESP
止水板
2か月前
中国電力株式会社
脚立
1か月前
株式会社ナカオ
作業台
1か月前
三協立山株式会社
構造体
3か月前
三協立山株式会社
開口部装置
1か月前
三協立山株式会社
開口部装置
1か月前
三協立山株式会社
開口部装置
1か月前
三協立山株式会社
開口部装置
1か月前
三協立山株式会社
開口部装置
1か月前
三協立山株式会社
開口部装置
5日前
ミサワホーム株式会社
水切り材
1か月前
不二サッシ株式会社
引違いサッシ
4日前
株式会社TJMデザイン
脚立用ホルダー
3か月前
文化シヤッター株式会社
止水装置
4日前
不二サッシ株式会社
引違いサッシ
1か月前
株式会社ニチベイ
縦型ブラインド
2か月前
三協立山株式会社
サッシの製造方法
1か月前
永大産業株式会社
開閉構造体
3か月前
株式会社LIXIL
太陽電池ガラス
13日前
株式会社LIXIL
建具
23日前
株式会社LIXIL
建具
23日前
株式会社LIXIL
建具
23日前
株式会社LIXIL
建具
13日前
株式会社LIXIL
建具
10日前
株式会社LIXIL
建具
10日前
株式会社LIXIL
建具
10日前
株式会社LIXIL
建具
10日前
株式会社LIXIL
建具
10日前
株式会社LIXIL
建具
23日前
ナブテスコ株式会社
建具及び表示装置
3か月前
株式会社LIXIL
建具
10日前
株式会社LIXIL
建具
2か月前
株式会社LIXIL
建具
2日前
株式会社LIXIL
建具
2か月前
株式会社LIXIL
建具
2か月前
株式会社大林組
シャッター装置
2か月前
続きを見る
他の特許を見る