TOP
|
特許
|
意匠
|
商標
特許ウォッチ
Twitter
他の特許を見る
10個以上の画像は省略されています。
公開番号
2025131922
公報種別
公開特許公報(A)
公開日
2025-09-09
出願番号
2025108972,2023554231
出願日
2025-06-27,2022-01-14
発明の名称
情報処理装置、情報処理方法、及びプログラム
出願人
NTTテクノクロス株式会社
代理人
弁理士法人ITOH
主分類
G10L
15/10 20060101AFI20250902BHJP(楽器;音響)
要約
【課題】対話内容の把握を支援すること。
【解決手段】一実施形態に係る情報処理装置は、所定の対話における発話に基づいて、前記発話が行われたときの前記対話の場面を表すシーンを特定する特定部と、関係性があるシーン同士を定義した関係性定義情報に基づいて、前記対話における前記発話の時系列及び前記シーンの時系列と、前記シーン間の関係性とを可視化するための可視化情報を作成する作成部と、を有し、前記関係性定義情報には、親子関係があるシーン同士を定義した階層構造定義と、依存関係があるシーン同士を定義した関連定義とが少なくとも含まれ、前記作成部は、前記シーンの時系列において、第1のシーンの直後に該第1のシーンを親に持つ第2のシーンが1つ以上続く場合、前記第2のシーンを非表示にし、かつ、ユーザの選択操作に応じて前記第2のシーンを表示させる部品を前記第1のシーンに付与して表示させるための可視化情報を作成する。
【選択図】図2
特許請求の範囲
【請求項1】
所定の対話における発話に基づいて、前記発話が行われたときの前記対話の場面を表すシーンを特定する特定部と、
関係性があるシーン同士を定義した関係性定義情報に基づいて、前記対話における前記発話の時系列及び前記シーンの時系列と、前記シーン間の関係性とを可視化するための可視化情報を作成する作成部と、
を有し、
前記関係性定義情報には、親子関係があるシーン同士を定義した階層構造定義と、依存関係があるシーン同士を定義した関連定義とが少なくとも含まれ、
前記作成部は、
前記シーンの時系列において、第1のシーンの直後に該第1のシーンを親に持つ第2のシーンが1つ以上続く場合、前記第2のシーンを非表示にし、かつ、ユーザの選択操作に応じて前記第2のシーンを表示させる部品を前記第1のシーンに付与して表示させるための可視化情報を作成する、情報処理装置。
続きを表示(約 1,400 文字)
【請求項2】
所定の対話における発話に基づいて、前記発話が行われたときの前記対話の場面を表すシーンを特定する特定部と、
前記対話における前記発話の時系列及び前記シーンの時系列と、前記シーン間の関係性とを可視化するための可視化情報を作成する作成部と、
を有し、
前記作成部は、
前記シーンの時系列において、依存関係がある複数のシーンうちの一部のシーンのみが存在する場合、所定の警告を表示させるための可視化情報を作成する、情報処理装置。
【請求項3】
所定の対話における発話に基づいて、前記発話が行われたときの前記対話の場面を表すシーンを特定する特定部と、
前記対話における前記発話の時系列及び前記シーンの時系列と、前記シーン間の関係性とを可視化するための可視化情報を作成する作成部と、
を有し、
前記作成部は、
前記シーンの時系列のうちの現在のシーンと、過去の対話履歴情報とに基づいて、前記現在のシーンから遷移するシーンの候補と遷移確率とを表示させるための可視化情報を作成する、情報処理装置。
【請求項4】
所定の対話における発話に基づいて、前記発話が行われたときの前記対話の場面を表すシーンを特定する特定手順と、
関係性があるシーン同士を定義した関係性定義情報に基づいて、前記対話における前記発話の時系列及び前記シーンの時系列と、前記シーン間の関係性とを可視化するための可視化情報を作成する作成手順と、
をコンピュータが実行し、
前記関係性定義情報には、親子関係があるシーン同士を定義した階層構造定義と、依存関係があるシーン同士を定義した関連定義とが少なくとも含まれ、
前記作成手順は、
前記シーンの時系列において、第1のシーンの直後に該第1のシーンを親に持つ第2のシーンが1つ以上続く場合、前記第2のシーンを非表示にし、かつ、ユーザの選択操作に応じて前記第2のシーンを表示させる部品を前記第1のシーンに付与して表示させるための可視化情報を作成する、情報処理方法。
【請求項5】
所定の対話における発話に基づいて、前記発話が行われたときの前記対話の場面を表すシーンを特定する特定手順と、
前記対話における前記発話の時系列及び前記シーンの時系列と、前記シーン間の関係性とを可視化するための可視化情報を作成する作成手順と、
をコンピュータが実行し、
前記作成手順は、
前記シーンの時系列において、依存関係がある複数のシーンうちの一部のシーンのみが存在する場合、所定の警告を表示させるための可視化情報を作成する、情報処理方法。
【請求項6】
所定の対話における発話に基づいて、前記発話が行われたときの前記対話の場面を表すシーンを特定する特定手順と、
前記対話における前記発話の時系列及び前記シーンの時系列と、前記シーン間の関係性とを可視化するための可視化情報を作成する作成手順と、
をコンピュータが実行し、
前記作成手順は、
前記シーンの時系列のうちの現在のシーンと、過去の対話履歴情報とに基づいて、前記現在のシーンから遷移するシーンの候補と遷移確率とを表示させるための可視化情報を作成する、情報処理方法。
【請求項7】
コンピュータを、請求項1乃至3の何れか一項に記載の情報処理装置として機能させるプログラム。
発明の詳細な説明
【技術分野】
【0001】
本発明は、情報処理装置、情報処理方法、及びプログラムに関する。
続きを表示(約 2,200 文字)
【背景技術】
【0002】
コンタクトセンタ(又は、コールセンタとも呼ばれる。)では、一般に、アフターコールワーク(ACW:After Call Work)と呼ばれる作業が行われている。ACWとは、顧客との電話応対終了後に行う作業のことであり、例えば、応対記録の作成、商品やサービスの発注作業等といった後処理のことである。
【0003】
ACWは重要な作業である一方、顧客対応ができない時間であるため、ACWを効率化させることが求められている。これに対して、応対記録の作成を効率化するための技術として、顧客との通話における発話を音声認識技術によりテキスト化し、そのテキストから発話のシーンを特定する技術が知られている(例えば、特許文献1等)。ここで、シーンとは、オペレータと顧客の間で行われている対話の場面のことであり、例えば、最初の挨拶等の場面を表す「オープニング」、顧客からの問い合わせ内容を把握する場面を表す「問い合せ把握」、問い合わせ内容に対して回答及び対応を行う場合を表す「対応」、最後の挨拶等の場面を表す「クロージング」等がある。
【先行技術文献】
【特許文献】
【0004】
国際公開第2020/036189号
【発明の概要】
【発明が解決しようとする課題】
【0005】
しかしながら、通話中に様々な話題の対話が行われた場合には様々なシーンが特定され、その結果、シーン間の関係性(例えば、シーン間の構造関係、シーン間の関連等)の把握が困難になる。このため、通話全体の対話内容の把握が困難になり、例えば、応対記録の作成に時間を要してしまうことがある。
【0006】
本発明の一実施形態は、上記の点に鑑みてなされたもので、対話内容の把握を支援することを目的とする。
【課題を解決するための手段】
【0007】
上記目的を達成するため、一実施形態に係る情報処理装置は、所定の対話における発話に基づいて、前記発話が行われたときの前記対話の場面を表すシーンを特定する特定部と、関係性があるシーン同士を定義した関係性定義情報に基づいて、前記対話における前記発話の時系列及び前記シーンの時系列と、前記シーン間の関係性とを可視化するための可視化情報を作成する作成部と、を有し、前記関係性定義情報には、親子関係があるシーン同士を定義した階層構造定義と、依存関係があるシーン同士を定義した関連定義とが少なくとも含まれ、前記作成部は、前記シーンの時系列において、第1のシーンの直後に該第1のシーンを親に持つ第2のシーンが1つ以上続く場合、前記第2のシーンを非表示にし、かつ、ユーザの選択操作に応じて前記第2のシーンを表示させる部品を前記第1のシーンに付与して表示させるための可視化情報を作成する。
【発明の効果】
【0008】
対話内容の把握を支援することができる。
【図面の簡単な説明】
【0009】
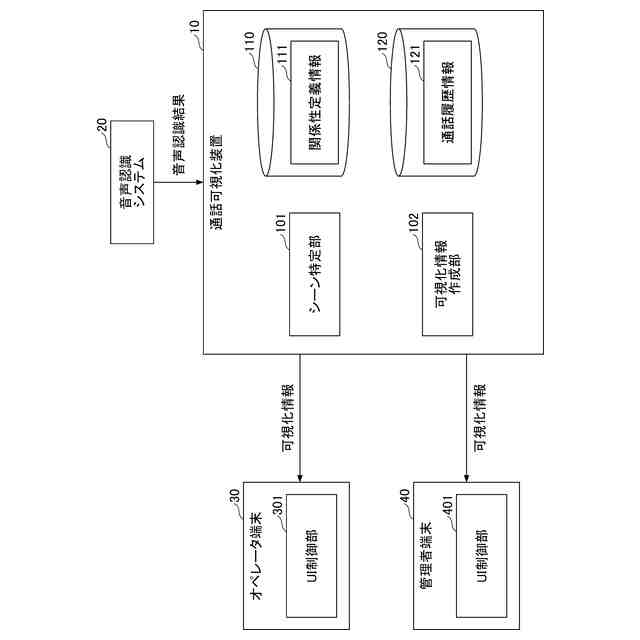
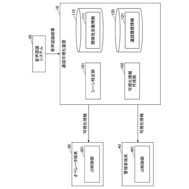
第一の実施形態に係るコンタクトセンタシステムの全体構成の一例を示す図である。
第一の実施形態に係るコンタクトセンタシステムの機能構成の一例を示す図である。
定義情報に含まれる階層構造定義の一例を説明するための図である。
定義情報に含まれる関連定義の一例を説明するための図である。
第一の実施形態に係る通話可視化処理の一例を示すフローチャートである。
シーンの階層構造を可視化したオペレータ画面の一例を説明するための図(その1)である。
シーンの階層構造を可視化したオペレータ画面の一例を説明するための図(その2)である。
シーンの関連性を可視化したオペレータ画面の一例を説明するための図である。
シーンの関連性と補足情報を可視化したオペレータ画面の一例を説明するための図である。
一変形例の具体例を模式的に示す図である。
第二の実施形態に係るコンタクトセンタシステムの機能構成の一例を示す図である。
第二の実施形態に係る通話可視化処理の一例を示すフローチャートである。
シーンに応じたトークスクリプトを支援情報として可視化したオペレータ画面の一例を説明するための図である。
次のシーン候補とその遷移確率を支援情報として可視化したオペレータ画面の一例を説明するための図である。
【発明を実施するための形態】
【0010】
以下、本発明の一実施形態として第一の実施形態と第二の実施形態について説明する。以下、各実施形態では、コンタクトセンタを対象として、コンタクトセンタのオペレータが顧客との通話における対話内容(つまり、通話内容)を把握する際にその把握を支援することができるコンタクトセンタシステム1について説明する。ただし、コンタクトセンタは一例であって、コンタクトセンタ以外にも、例えば、オフィス等で勤務する担当者を対象として、当該担当者の通話内容を把握する場合等にも同様に適用することが可能である。また、通話は2者間に限られず、3者以上の間で行われていてもよい。
(【0011】以降は省略されています)
この特許をJ-PlatPat(特許庁公式サイト)で参照する
関連特許
個人
木管楽器
11日前
株式会社豊田中央研究所
吸音構造体
19日前
本田技研工業株式会社
車室環境制御装置
15日前
株式会社東芝
吸音装置
17日前
積水樹脂株式会社
吸音シート
15日前
株式会社SinasSP
自動騒音低減装置
2日前
カシオ計算機株式会社
減音器具
17日前
トヨタ自動車株式会社
判定装置
4日前
日本軽金属株式会社
遮音壁
9日前
カシオ計算機株式会社
減音器具
17日前
株式会社第一興商
カラオケ装置
15日前
株式会社第一興商
カラオケ装置
19日前
株式会社第一興商
カラオケ装置
9日前
カシオ計算機株式会社
発音装置、発音方法及びプログラム
4日前
日本電気株式会社
放送用システムおよび字幕作成方法
11日前
中原大學
能動騒音除去機能を持つレンジフード
19日前
ブラザー工業株式会社
カラオケ装置及びカラオケプログラム
9日前
シャープ株式会社
電子機器および電子機器の制御方法
9日前
カシオ計算機株式会社
電子鍵盤楽器
15日前
ブラザー工業株式会社
音声録音装置、及び、音声録音用プログラム
8日前
株式会社JVCケンウッド
収音装置、収音方法、およびプログラム
4日前
大建工業株式会社
吸音体及び音環境調整構造
4日前
ブラザー工業株式会社
カラオケ用プログラム、及び、カラオケ装置
8日前
株式会社JVCケンウッド
クリッピング装置及びクリッピング方法
19日前
有限会社ツバサ
エレキギターおよび保護フィルム付きの樹脂プレート
2日前
カシオ計算機株式会社
電子楽器、電子楽器の制御方法及びプログラム
15日前
株式会社河合楽器製作所
鍵盤楽器の鍵盤装置
10日前
トヨタ自動車株式会社
運転者認知機能改善システム
15日前
株式会社河合楽器製作所
鍵盤楽器の鍵盤装置
10日前
株式会社NTTドコモ
情報処理装置及び情報処理方法
9日前
株式会社リコー
対話装置、対話システム、対話方法及びプログラム
8日前
株式会社SUBARU
乗物用遮音構造体、及び車両
1日前
株式会社東芝
吸音装置及び音響メタマテリアル
17日前
株式会社河合楽器製作所
鍵盤楽器の楽音制御方法
10日前
カシオ計算機株式会社
演奏装置、方法およびプログラム
16日前
株式会社河合楽器製作所
鍵盤楽器の楽音制御方法
10日前
続きを見る
他の特許を見る