TOP
|
特許
|
意匠
|
商標
特許ウォッチ
Twitter
他の特許を見る
公開番号
2025131219
公報種別
公開特許公報(A)
公開日
2025-09-09
出願番号
2024028824
出願日
2024-02-28
発明の名称
通信装置、情報管理システム及び情報管理方法
出願人
沖電気工業株式会社
代理人
個人
,
個人
主分類
G06Q
10/06 20230101AFI20250902BHJP(計算;計数)
要約
【課題】1台のデバイスを複数の人間で共用する場合に、誰がどのデバイスを使用するのかがわかるようにする。
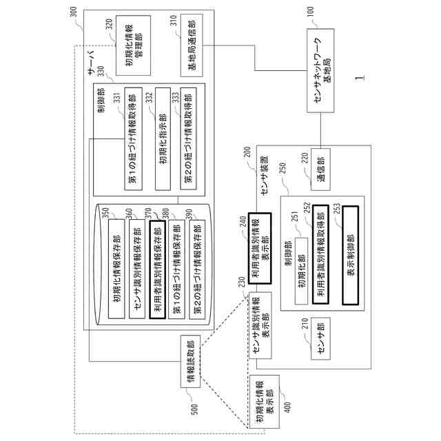
【解決手段】本発明に係る通信装置は、センサ部と、センサ部の利用者の変更に基づく初期化の際、少なくとも、センサ部に設定する初期化情報と利用者識別情報とをサーバから取得する通信部と、取得部により取得された初期化情報をセンサ部に設定する初期化部と、取得部により取得された利用者識別情報を表示部に表示する表示制御部とを備えることを特徴とする。
【選択図】 図1
特許請求の範囲
【請求項1】
センサ部と、
前記センサ部の利用者の変更に基づく初期化の際、少なくとも、前記センサ部に設定する初期化情報と利用者識別情報とをサーバから取得する通信部と、
前記取得部により取得された前記初期化情報を前記センサ部に設定する初期化部と、
前記取得部により取得された前記利用者識別情報を表示部に表示する表示制御部と
を備えることを特徴とする通信装置。
続きを表示(約 1,400 文字)
【請求項2】
前記表示制御部が、前記センサ部の変更後の利用者に係る前記利用者識別情報を表示することを特徴とする請求項1に記載の通信装置。
【請求項3】
前記表示制御部が、前記利用者識別情報の表示後、所定時間経過後に拡大表示することを特徴とする請求項1に記載の通信装置。
【請求項4】
前記表示制御部が、前記センサ部の変更後の利用者の氏名、学年組、出席番号を含む利用者識別情報を表示することを特徴とする請求項1に記載の通信装置。
【請求項5】
センサ部を有する複数の通信装置と、それぞれの前記通信装置からセンシングデータを収集して管理するサーバとを備える情報管理システムにおいて、
前記サーバが、
それぞれの前記通信装置の前記センサ部のセンサ識別情報に対応付けられた、前記センサ部に設定する初期化情報と、利用者識別情報との関連付け情報を保存する紐づけ情報保存手段と、
それぞれの前記通信装置から初期化指示を取得すると、要求元の前記通信装置の前記センサ部のセンサ識別情報に基づいて、対応する前記初期化情報及び前記利用者識別情報を、要求元の前記通信装置に与える通信部と
を有し、
それぞれの前記通信装置は、
前記センサ部の利用者の変更に基づく初期化の際、少なくとも、前記センサ部に設定する初期化情報と利用者識別情報とをサーバから取得する通信部と、
前記取得部により取得された前記初期化情報を前記センサ部に設定する初期化部と、
前記取得部により取得された前記利用者識別情報を表示部に表示する表示制御部と
を有する
ことを特徴とする情報管理システム。
【請求項6】
それぞれの前記通信装置において表示される前記センサ識別情報と、それぞれの前記通信装置の前記センサに設定する前記初期化情報とを読み取る情報読取部を備え、
前記サーバが、前記情報読取部から取得した前記センサ識別情報と前記初期化情報とを関連付けて前記紐づけ情報保存部に保存する
ことを特徴とする請求項5に記載の情報管理システム。
【請求項7】
センサ部を有する複数の通信装置と、それぞれの前記通信装置からセンシングデータを収集して管理するサーバとを備えるシステムの情報管理方法において、
前記サーバが、
それぞれの前記通信装置の前記センサ部のセンサ識別情報に対応付けられた、前記センサ部に設定する初期化情報と、利用者識別情報との関連付け情報を保存し、
それぞれの前記通信装置から初期化指示を取得すると、要求元の前記通信装置の前記センサ部のセンサ識別情報に基づいて、対応する前記初期化情報及び前記利用者識別情報を、要求元の前記通信装置に与え、
それぞれの前記通信装置が、
前記センサ部の利用者の変更に基づく初期化の際、少なくとも、前記センサ部に設定する初期化情報と利用者識別情報とを前記サーバから取得し、
前記取得部により取得された前記初期化情報を前記センサ部に設定し、
前記取得部により取得された前記利用者識別情報を表示部に表示する表示制御部と
を有する
ことを特徴とする情報管理方法。
発明の詳細な説明
【技術分野】
【0001】
本発明は、通信装置、情報管理システム及び情報管理方法に関し、例えば、センサネットワークのサーバ及びデバイスに適用し得るものである。
続きを表示(約 1,800 文字)
【背景技術】
【0002】
近年、体育・保健体育科の授業においてもICT(体育ICT)を活用することが行なわれており、その活用例の1つとして、例えば、センサネットワークシステムを用いて、センサ機能を有するウェラブル端末を用いて、児童の体調管理を行なうものが考えられている(特許文献1参照)。
【先行技術文献】
【特許文献】
【0003】
特開2023-150291号公報
【発明の概要】
【発明が解決しようとする課題】
【0004】
一般的には、ウェラブル端末は個人の持ち物にあるので、通常であれば、例えば身長、体重等の利用者の初期化情報を1度だけ入力すれば完了する。
【0005】
しかしながら、学校における体育の授業の際に、ウェラブル端末を子供毎に配布するのではなく、授業のたびにウェラブル端末を使いまわし、複数の子供のあいだで1台のウェラブル端末を共用するような場合、子供が使用するたびに(すなわち授業のたびに)、それぞれの子供の初期化情報を入力する必要があり、非常に煩わしい処理となる。また、1台のウェラブル端末を複数の子供で共用する場合、どの子供がどのウェラブル端末を使用すればよいかわからないという課題もある。
【0006】
そこで、本発明は、上述した課題に鑑み、1台のデバイスを複数の人間で共用する場合に、誰がどのデバイスを使用するのかがわかる通信装置、情報管理システム及び情報管理方法を提供しようとするものである。
【課題を解決するための手段】
【0007】
かかる課題を解決するために、第1の本発明に係る通信装置は、(1)センサ部と、(2)センサ部の利用者の変更に基づく初期化の際、少なくとも、センサ部に設定する初期化情報と利用者識別情報とをサーバから取得する通信部と、(3)取得部により取得された初期化情報をセンサ部に設定する初期化部と、(4)取得部により取得された利用者識別情報を表示部に表示する表示制御部とを備えることを特徴とする。
【0008】
第2の本発明に係る情報管理システムは、センサ部を有する複数の通信装置と、それぞれの前記通信装置からセンシングデータを収集して管理するサーバとを備える情報管理システムにおいて、(1)サーバが、それぞれの通信装置のセンサ部のセンサ識別情報に対応付けられた、センサ部に設定する初期化情報と、利用者識別情報との関連付け情報を保存する紐づけ情報保存手段と、それぞれの通信装置から初期化指示を取得すると、要求元の通信装置のセンサ部のセンサ識別情報に基づいて、対応する初期化情報及び利用者識別情報を、要求元の通信装置に与える通信部とを有し、(2)それぞれの通信装置は、センサ部の利用者の変更に基づく初期化の際、少なくとも、センサ部に設定する初期化情報と利用者識別情報とをサーバから取得する通信部と、取得部により取得された初期化情報をセンサ部に設定する初期化部と、取得部により取得された利用者識別情報を表示部に表示する表示制御部とを有することを特徴とする。
【0009】
第3の本発明に係る情報管理方法は、センサ部を有する複数の通信装置と、それぞれの通信装置からセンシングデータを収集して管理するサーバとを備えるシステムの情報管理方法において、(1)サーバが、それぞれの通信装置のセンサ部のセンサ識別情報に対応付けられた、センサ部に設定する初期化情報と、利用者識別情報との関連付け情報を保存し、それぞれの通信装置から初期化指示を取得すると、要求元の通信装置の前記センサ部のセンサ識別情報に基づいて、対応する初期化情報及び利用者識別情報を、要求元の通信装置に与え、それぞれの通信装置が、センサ部の利用者の変更に基づく初期化の際、少なくとも、センサ部に設定する初期化情報と利用者識別情報とをサーバから取得し、取得部により取得された初期化情報をセンサ部に設定し、取得部により取得された利用者識別情報を表示部に表示する表示制御部とを有することを特徴とする。
【発明の効果】
【0010】
本発明によれば、1台のデバイスを複数の人間で共用する場合に、誰がどのデバイスを使用するのかがわかる。
【図面の簡単な説明】
(【0011】以降は省略されています)
この特許をJ-PlatPat(特許庁公式サイト)で参照する
関連特許
沖電気工業株式会社
処理システム
4日前
沖電気工業株式会社
媒体処理装置
4日前
沖電気工業株式会社
画像形成装置
4日前
沖電気工業株式会社
画像形成装置
5日前
沖電気工業株式会社
画像形成装置
6日前
沖電気工業株式会社
画像形成装置
17日前
沖電気工業株式会社
定着装置及び画像形成装置
4日前
沖電気工業株式会社
定着装置及び画像形成装置
7日前
沖電気工業株式会社
電源制御装置及び画像形成装置
25日前
沖電気工業株式会社
紙葉類取扱装置及び現金処理装置
10日前
沖電気工業株式会社
通信装置、通信方法、及び通信プログラム
5日前
沖電気工業株式会社
現像剤収容体、画像形成ユニットおよび画像形成装置
4日前
沖電気工業株式会社
情報処理装置、情報処理方法、及び情報処理システム
4日前
沖電気工業株式会社
画像形成装置、画像形成システム、状態提示方法、及び状態提示プログラム
4日前
個人
詐欺保険
20日前
個人
縁伊達ポイン
20日前
個人
RFタグシート
7日前
個人
QRコードの彩色
24日前
個人
ペルソナ認証方式
4日前
個人
地球保全システム
1か月前
個人
自動調理装置
6日前
個人
冷凍食品輸出支援構造
2か月前
個人
為替ポイント伊達夢貯
2か月前
個人
表変換編集支援システム
1か月前
個人
残土処理システム
26日前
個人
農作物用途分配システム
19日前
個人
インターネットの利用構造
3日前
個人
知的財産出願支援システム
27日前
個人
タッチパネル操作指代替具
13日前
個人
知財出願支援AIシステム
2か月前
個人
スケジュール調整プログラム
12日前
個人
携帯端末障害問合せシステム
12日前
個人
パスワード管理支援システム
1か月前
個人
行動時間管理システム
1か月前
個人
AIによる情報の売買の仲介
2か月前
日本精機株式会社
施工管理システム
2か月前
続きを見る
他の特許を見る