TOP
|
特許
|
意匠
|
商標
特許ウォッチ
Twitter
他の特許を見る
10個以上の画像は省略されています。
公開番号
2025131018
公報種別
公開特許公報(A)
公開日
2025-09-09
出願番号
2024028482
出願日
2024-02-28
発明の名称
緩衝材及び洗濯機の梱包体
出願人
シャープ株式会社
代理人
個人
,
個人
,
個人
,
個人
主分類
B65D
81/113 20060101AFI20250902BHJP(運搬;包装;貯蔵;薄板状または線条材料の取扱い)
要約
【課題】洗濯機の梱包体に対して加わった衝撃から洗濯機を好適に保護可能にする。
【解決手段】緩衝材は、洗濯機の筐体に懸架された槽を含む懸架体の底部の一部が挿入され、下方に向かって凹む上側凹部が形成された上面と、上面の下方に位置し、上側凹部側に向かって凹む下側凹部が形成された下面と、下側凹部内に位置し、下方に向かって突出する突部とを有する。突部は、平面視における一の方向における両側において、下側凹部の側壁から離間して設けられている。
【選択図】図7
特許請求の範囲
【請求項1】
洗濯機の筐体に懸架された槽を含む懸架体の底部の一部が挿入され、下方に向かって凹む上側凹部が形成された上面と、
前記上面の下方に位置し、前記上側凹部側に向かって凹む下側凹部が形成された下面と、
前記下側凹部内に位置し、下方に向かって突出する突部と、
を有し、
前記突部は、平面視における一の方向における両側において、前記下側凹部の側壁から離間して設けられている、緩衝材。
続きを表示(約 800 文字)
【請求項2】
前記突部の高さは、前記下側凹部の深さ未満である、請求項1に記載の緩衝材。
【請求項3】
前記下側凹部は、前記一の方向に沿って細長い細長形状を有しており、
前記突部は、前記一の方向に沿って細長い線状突部である、請求項1に記載の緩衝材。
【請求項4】
前記下側凹部に設けられており、前記突部と交差する方向に伸びる別の突部をさらに有する、請求項1に記載の緩衝材。
【請求項5】
前記突部は、
前記下側凹部の側壁に対して前記一の方向の一方側に位置する第1突部と、
前記第1突部に対して前記一の方向の他方側において、前記第1突部とは離間して設けられており、前記第1突部よりも低い第2突部と、
を含む、請求項1に記載の緩衝材。
【請求項6】
前記一の方向に沿った断面において、前記下側凹部の一の側壁と前記下側凹部の底面との間の角部の曲率が、前記一の側壁と対向する、前記突部の一の側壁と前記下側凹部の底壁との間の角部の曲率よりも小さい、請求項1又は5に記載の緩衝材。
【請求項7】
筐体と、前記筐体に懸架された槽を含む懸架体とを有する洗濯機と、
前記洗濯機を収容する包装材と、
前記懸架体と前記包装材との間に位置する緩衝材と、
を備え、
前記緩衝材は、
前記懸架体の底部の一部が挿入され、下方に向かって凹む上側凹部が形成された上面と、
前記上面の下方に位置し、前記上側凹部側に向かって凹む下側凹部が形成された下面と、
前記下側凹部内に位置し、下方に向かって突出する突部と、
を有し、
前記突部は、平面視における一の方向における両側において、前記下側凹部の側壁から離間して設けられている、洗濯機の梱包体。
発明の詳細な説明
【技術分野】
【0001】
本発明は、緩衝材及び洗濯機の梱包体に関する。
続きを表示(約 1,400 文字)
【背景技術】
【0002】
例えば、特許文献1には、洗濯機の包装装置が開示されている。
【先行技術文献】
【特許文献】
【0003】
特開2001-48280号公報
【発明の概要】
【発明が解決しようとする課題】
【0004】
洗濯機を包装材に収容する際に用いられる緩衝材には、洗濯機の梱包体に対して加わった衝撃を好適に干渉して洗濯機を衝撃から保護可能なことが求められる。
【0005】
本開示は、洗濯機の梱包体に対して加わった衝撃から洗濯機を好適に保護可能にすることを目的のひとつとする。
【課題を解決するための手段】
【0006】
本開示の一の局面において、緩衝材は、洗濯機の筐体に懸架された槽を含む懸架体の底部の一部が挿入され、下方に向かって凹む上側凹部が形成された上面と、上面の下方に位置し、上側凹部側に向かって凹む下側凹部が形成された下面と、下側凹部内に位置し、下方に向かって突出する突部とを有する。突部は、平面視における一の方向における両側において、下側凹部の側壁から離間して設けられている。
【0007】
本開示の他の局面において、洗濯機の梱包体は、筐体と、筐体に懸架された槽を含む懸架体とを有する洗濯機と、洗濯機を収容する包装材と、懸架体と包装材との間に位置する緩衝材とを備える。緩衝材は、懸架体の底部の一部が挿入され、下方に向かって凹む上側凹部が形成された上面と、上面の下方に位置し、上側凹部側に向かって凹む下側凹部が形成された下面と、下側凹部内に位置し、下方に向かって突出する突部とを有する。突部は、平面視における一の方向における両側において、下側凹部の側壁から離間して設けられている。
【発明の効果】
【0008】
本開示の一局面によれば、洗濯機の梱包体に対して加わった衝撃から洗濯機を好適に保護可能である。
【図面の簡単な説明】
【0009】
洗濯機の梱包体の模式的斜視図である。
包装材の描画を実質的に省略した梱包体の模式的斜視図である。
図2に示す切り出し線III-IIIにおける梱包体の模式的断面図である。
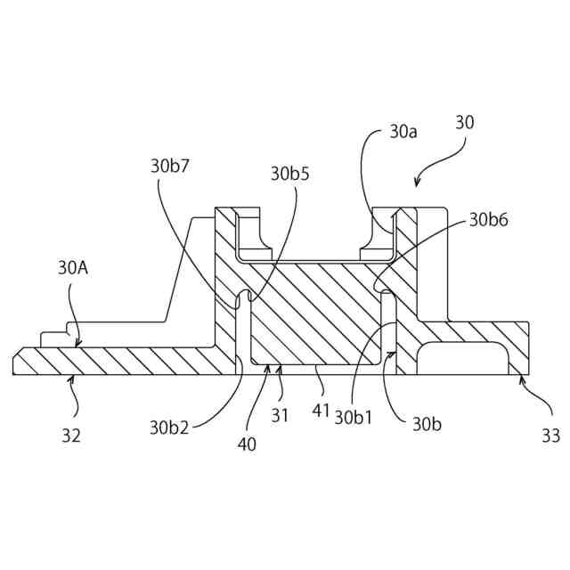
緩衝材の一部分の模式的断面図である。
緩衝材の模式的斜視図である。
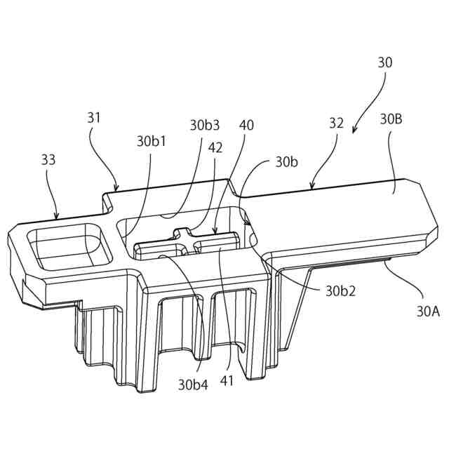
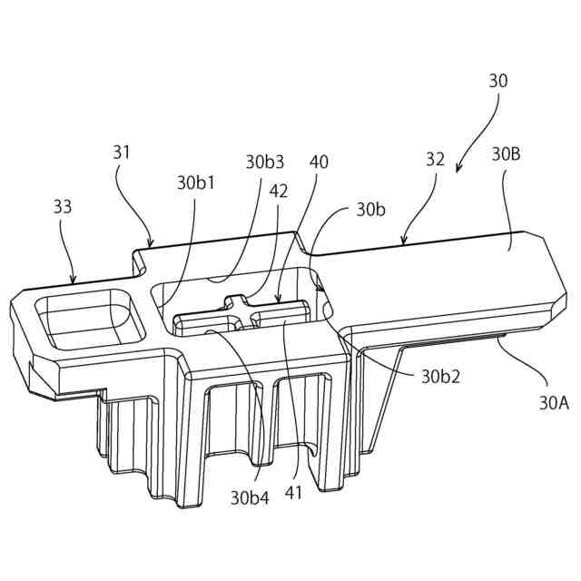
斜め上方から視た緩衝材(第1緩衝材)の模式的斜視図である。
斜め下方から視た緩衝材(第1緩衝材)の模式的斜視図である。
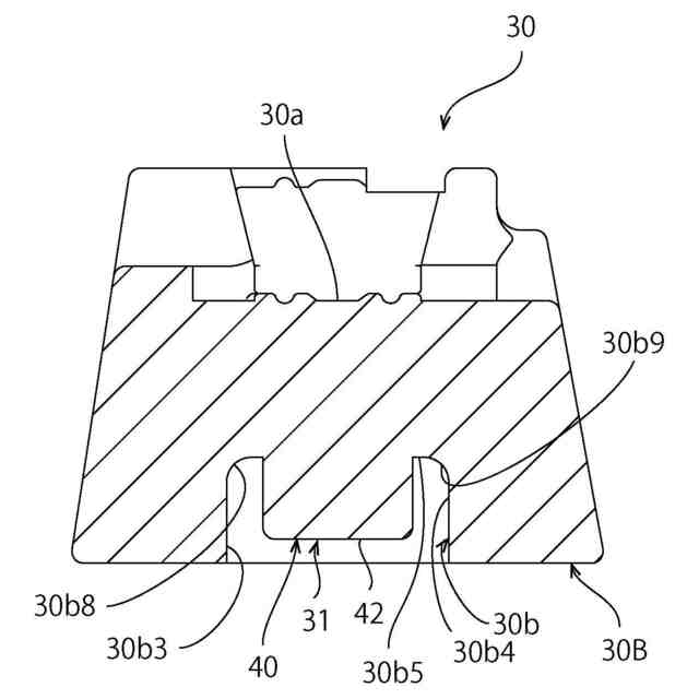
緩衝材(第1緩衝材)の幅方向に沿った模式的断面図である。
緩衝材(第1緩衝材)の奥行き方向に沿った模式的断面図である。
第1実施形態の変形例における第1緩衝材の模式的裏面図である。
第2実施形態における第1緩衝材の模式的裏面図である。
図11の線XII-XIIにおける模式的断面図である。
第3実施形態における第1緩衝材の模式的裏面図である。
第4実施形態における第1緩衝材の模式的裏面図である。
【発明を実施するための形態】
【0010】
以下、本開示の一実施形態に係る洗濯機の梱包体について図面を参照しながら詳細に説明する。なお、下記の説明において、実質的に同一の機能を有する部材を同一の符号で参照し、説明を援用するものとする。
(【0011】以降は省略されています)
この特許をJ-PlatPat(特許庁公式サイト)で参照する
関連特許
シャープ株式会社
冷蔵庫
20日前
シャープ株式会社
洗濯機
1か月前
シャープ株式会社
冷蔵庫
1か月前
シャープ株式会社
冷蔵庫
12日前
シャープ株式会社
表示装置
13日前
シャープ株式会社
送風装置
1か月前
シャープ株式会社
送風装置
1か月前
シャープ株式会社
送風装置
29日前
シャープ株式会社
送風装置
29日前
シャープ株式会社
加湿装置
2日前
シャープ株式会社
冷却装置
1か月前
シャープ株式会社
空気調和機
6日前
シャープ株式会社
加熱調理器
12日前
シャープ株式会社
空気調和機
6日前
シャープ株式会社
空気調和機
6日前
シャープ株式会社
画像形成装置
1か月前
シャープ株式会社
画像形成装置
28日前
シャープ株式会社
駐車制御装置
5日前
シャープ株式会社
画像形成装置
6日前
シャープ株式会社
二成分現像剤
1か月前
シャープ株式会社
画像形成装置
20日前
シャープ株式会社
画像形成装置
5日前
シャープ株式会社
画像形成装置
12日前
シャープ株式会社
画像形成装置
12日前
シャープ株式会社
画像形成装置
5日前
シャープ株式会社
抗菌光触媒材料
1か月前
シャープ株式会社
イオン発生装置
1か月前
シャープ株式会社
ファクシミリ装置
13日前
シャープ株式会社
電子部品の筐体構造
20日前
シャープ株式会社
収容庫および冷蔵庫
1か月前
シャープ株式会社
測定装置及び測定方法
22日前
シャープ株式会社
照明装置及び表示装置
29日前
シャープ株式会社
室外機及び空気調和機
6日前
シャープ株式会社
スタンド及び表示装置
14日前
シャープ株式会社
照明装置および表示装置
28日前
シャープ株式会社
断熱箱体、および冷蔵庫
5日前
続きを見る
他の特許を見る