TOP
|
特許
|
意匠
|
商標
特許ウォッチ
Twitter
他の特許を見る
公開番号
2025130777
公報種別
公開特許公報(A)
公開日
2025-09-09
出願番号
2024028055
出願日
2024-02-28
発明の名称
開閉制御システム
出願人
三和シヤッター工業株式会社
代理人
個人
主分類
E05F
15/73 20150101AFI20250902BHJP(錠;鍵;窓または戸の付属品;金庫)
要約
【課題】引き戸の使用時の安全性を高めることが可能になる、開閉制御システムを提供すること。
【解決手段】
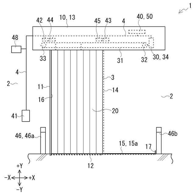
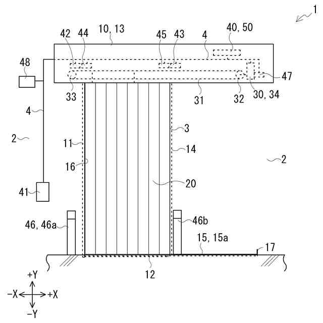
開閉制御システム40は、全開位置検知部43と、開放側減速位置検知部45と、第1障害物検知部46及び第2障害物検知部47と、開閉体20の開閉移動を制御する開閉制御部と、を備え、開閉制御部は、開閉体20が開放移動している場合において、開放側減速位置検知部45によって開放側減速位置に開閉体20が到達していることが検知される場合には、開放側減速制御を行い、開放側減速制御が行われている場合において、全開位置検知部43によって全開位置に開閉体20が到達していることが検知される場合には、開放側停止制御を行い、開放側減速制御が行われている場合において、第1障害物検知部46又は/及び第2障害物検知部47によって障害物が検知される場合には、回避制御を行う。
【選択図】図1
特許請求の範囲
【請求項1】
建物の開口部に設けられる引き戸を構成する開閉体であり、前記開口部の開閉を行う開閉体の開閉移動を制御するための開閉制御システムであって、
前記開閉体によって前記開口部を全開した状態に対応する位置である全開位置に前記開閉体が到達しているか否かを検知する全開位置検知手段と、
前記全開位置の手前に位置する開放側減速位置であり、前記開閉体の開放移動の速度を減速させるトリガーとなる位置である開放側減速位置に前記開閉体が到達しているか否かを検知する開放側減速位置検知手段と、
前記開閉体の開閉移動の障害になる障害物を検知する障害物検知手段と、
前記開閉体の開閉移動を制御する開閉制御手段と、を備え、
前記開閉制御手段は、
前記開閉体が開放移動している場合において、前記開放側減速位置検知手段によって前記開放側減速位置に前記開閉体が到達していることが検知される場合には、当該開放移動の速度を減速させる制御である開放側減速制御を行い、
前記開放側減速制御が行われている場合において、前記全開位置検知手段によって前記全開位置に前記開閉体が到達していることが検知される場合には、前記開閉体の開放移動を停止させる制御である開放側停止制御を行い、
前記開放側減速制御が行われている場合において、前記障害物検知手段によって前記障害物が検知される場合には、前記開閉体の開閉移動に関する制御であって、少なくとも前記開閉体による前記障害物の挟み込みを回避する制御である回避制御を行う、
開閉制御システム。
続きを表示(約 460 文字)
【請求項2】
前記開閉制御手段は、前記開閉体が開放移動している場合において、前記開放側減速制御が行われていない場合には、前記障害物検知手段の検知結果に関わらず、前記回避制御を行わない、
請求項1に記載の開閉制御システム。
【請求項3】
前記回避制御は、前記開閉体の開放移動を単に停止させる非反転閉鎖制御、又は/及び、前記開閉体の開放移動を停止させた後に、前記開閉体を所定距離又は所定時間だけ閉鎖移動させて停止させる反転閉鎖制御を含む、
請求項1又は2に記載の開閉制御システム。
【請求項4】
前記障害物検知手段は、非接触型の障害物検知センサであり、
前記障害物検知手段の検知範囲が、前記開閉体を開閉移動させる領域全体を含むように、前記障害物検知手段を構成した、
請求項1又は2に記載の開閉制御システム。
【請求項5】
前記障害物検知手段は、接触型の障害物検知センサである、
請求項1又は2に記載の開閉制御システム。
発明の詳細な説明
【技術分野】
【0001】
本発明は、開閉制御システムに関する。
続きを表示(約 1,800 文字)
【背景技術】
【0002】
従来から、建物の開口部に設けられる引き戸を構成する開閉体の開閉制御を行う技術の一つとして、人検知センサによって人が検知された場合には、開閉体を高速で開放移動させ、人検知センサによって人が検知されていないものの、モータにある位置検出素子によって風などによって開閉体の開放移動が検知された場合には、開閉体を低速で閉鎖移動させる技術が開示されている(例えば、特許文献1参照)。
【先行技術文献】
【特許文献】
【0003】
特開2003-247374号公報
【発明の概要】
【発明が解決しようとする課題】
【0004】
ここで、上記従来の技術においては、上述したように、人検知センサによって人が検知された場合には、単に開閉体を高速で開放移動させるので、例えば、当該開放移動している際に、当該開閉体よりも戸尻側の位置に人等がいると、当該開閉体よりも戸尻側の位置に設けられる戸当たり部及び当該開閉体によって当該人の足等が挟み込まれるおそれがあった。よって、引き戸の使用時の安全性を高める観点からは、改善の余地があった。
【0005】
本発明は、上記従来技術における課題を解決するためのものであって、引き戸の使用時の安全性を高めることが可能になる、開閉制御システムを提供することを目的とする。
【課題を解決するための手段】
【0006】
上述した課題を解決し、目的を達成するために、請求項1に記載の開閉制御システムは、建物の開口部に設けられる引き戸を構成する開閉体であり、前記開口部の開閉を行う開閉体の開閉移動を制御するための開閉制御システムであって、前記開閉体によって前記開口部を全開した状態に対応する位置である全開位置に前記開閉体が到達しているか否かを検知する全開位置検知手段と、前記全開位置の手前に位置する開放側減速位置であり、前記開閉体の開放移動の速度を減速させるトリガーとなる位置である開放側減速位置に前記開閉体が到達しているか否かを検知する開放側減速位置検知手段と、前記開閉体の開閉移動の障害になる障害物を検知する障害物検知手段と、前記開閉体の開閉移動を制御する開閉制御手段と、を備え、前記開閉制御手段は、前記開閉体が開放移動している場合において、前記開放側減速位置検知手段によって前記開放側減速位置に前記開閉体が到達していることが検知される場合には、当該開放移動の速度を減速させる制御である開放側減速制御を行い、前記開放側減速制御が行われている場合において、前記全開位置検知手段によって前記全開位置に前記開閉体が到達していることが検知される場合には、前記開閉体の開放移動を停止させる制御である開放側停止制御を行い、前記開放側減速制御が行われている場合において、前記障害物検知手段によって前記障害物が検知される場合には、前記開閉体の開閉移動に関する制御であって、少なくとも前記開閉体による前記障害物の挟み込みを回避する制御である回避制御を行う。
【0007】
請求項2に記載の開閉制御システムは、請求項1に記載の開閉制御システムにおいて、前記開閉制御手段は、前記開閉体が開放移動している場合において、前記開放側減速制御が行われていない場合には、前記障害物検知手段の検知結果に関わらず、前記回避制御を行わない。
【0008】
請求項3に記載の開閉制御システムは、請求項1又は2に記載の開閉制御システムにおいて、前記回避制御は、前記開閉体の開放移動を単に停止させる非反転閉鎖制御、又は/及び、前記開閉体の開放移動を停止させた後に、前記開閉体を所定距離又は所定時間だけ閉鎖移動させて停止させる反転閉鎖制御を含む。
【0009】
請求項4に記載の開閉制御システムは、請求項1又は2に記載の開閉制御システムにおいて、前記障害物検知手段は、非接触型の障害物検知センサであり、前記障害物検知手段の検知範囲が、前記開閉体を開閉移動させる領域全体を含むように、前記障害物検知手段を構成した。
【0010】
請求項5に記載の開閉制御システムは、請求項1又は2に記載の開閉制御システムにおいて、前記障害物検知手段は、接触型の障害物検知センサである。
【発明の効果】
(【0011】以降は省略されています)
この特許をJ-PlatPat(特許庁公式サイト)で参照する
関連特許
個人
物品保管箱
2か月前
個人
防犯用ドア装置
2か月前
個人
ピンシリンダー錠。
3か月前
個人
顔認証による入室システム
3か月前
個人
ポスト機能付き手提げ金庫
1か月前
個人
二重ロック機能付小物入れ
2か月前
株式会社ニシムラ
ラッチ錠
3か月前
ミサワホーム株式会社
錠受具
3か月前
三協立山株式会社
開口部装置
1か月前
リョービ株式会社
ドアクローザ
2か月前
株式会社アルファ
電気錠
2か月前
個人
無人貸金庫システム
16日前
リョービ株式会社
ドアクローザ
2か月前
株式会社榮伸
カバン蓋の係止装置
1か月前
美和ロック株式会社
ハンドル装置
4か月前
積水ハウス株式会社
引き戸
25日前
株式会社ベスト
扉及び個室
13日前
積水ハウス株式会社
引き戸
13日前
有限会社シティング
引き戸
23日前
株式会社ベスト
開き扉の開閉装置
1か月前
タキゲン製造株式会社
抜差し蝶番
4か月前
コイト電工株式会社
蝶番の取付構造
2日前
ミネベアショウワ株式会社
ドア装置
1か月前
美和ロック株式会社
IDキー
2か月前
ミネベアショウワ株式会社
ドア装置
1か月前
スズキ株式会社
車両用乗員保護装置
1か月前
株式会社LIXIL
建具
13日前
株式会社LIXIL
建具
1か月前
株式会社LIXIL
建具
2か月前
株式会社ユニオン
ドアハンドル
17日前
神田工業株式会社
解錠システム
3か月前
株式会社アイシン
ドア支持装置
2日前
株式会社WEST inx
引戸用引手
3か月前
ミネベアミツミ株式会社
電気錠
4か月前
日本プラスト株式会社
ロック装置
1か月前
株式会社アイシン
車両用ドア装置
2日前
続きを見る
他の特許を見る