TOP
|
特許
|
意匠
|
商標
特許ウォッチ
Twitter
他の特許を見る
公開番号
2025129943
公報種別
公開特許公報(A)
公開日
2025-09-05
出願番号
2024026935
出願日
2024-02-26
発明の名称
ガスタービンエンジンの制御装置および制御方法
出願人
川崎重工業株式会社
代理人
個人
,
個人
,
個人
,
個人
,
個人
主分類
F02C
9/46 20060101AFI20250829BHJP(燃焼機関;熱ガスまたは燃焼生成物を利用する機関設備)
要約
【課題】負荷遮断時にガスタービンの回転数が上限を超えず、かつ失火停止しないようなガスタービンの制御装置および制御方法を提供する。
【解決手段】本開示のガスタービンGTの制御装置CLは、主燃料と、当該主燃料より燃焼速度が遅い少なくとも1つの副燃料とを含む混合気を燃焼させるバーナを有する燃焼器と、バーナへ供給する混合気の流量を調整する燃料流量調整部50と、外部電力系統との負荷遮断時の負荷遮断信号を受信する負荷遮断信号受信部51とを備える。燃料流量調整部50は、副燃料に対する主燃料の体積流量割合である混焼率が所定の値未満であって、負荷遮断信号が受信されたときに、バーナへの燃料供給を所定時間維持後に減少させ、混焼率が所定の値以上であって、負荷遮断信号が受信されたときに、バーナへの燃料供給を減少させる。
【選択図】図5
特許請求の範囲
【請求項1】
主燃料と、当該主燃料より燃焼速度が遅い少なくとも1つの副燃料とを含む混合気を燃焼させるバーナを有する燃焼器と、
前記バーナへ供給する前記混合気の流量を調整する燃料流量調整部と、
外部電力系統との負荷遮断時の負荷遮断信号を受信する負荷遮断信号受信部とを備えるガスタービンの制御装置であって、
前記燃料流量調整部は、前記副燃料に対する前記主燃料の体積流量割合である混焼率が所定の値未満であって、前記負荷遮断信号が受信されたときに、前記バーナへの燃料供給を所定時間維持後に減少させ、前記混焼率が所定の値以上であって、前記負荷遮断信号が受信されたときに、前記バーナへの燃料供給を減少させる、
ガスタービンの制御装置。
続きを表示(約 1,000 文字)
【請求項2】
請求項1に記載のガスタービンの制御装置において、
前記バーナには複数の燃料供給系統が接続されており、
前記燃料流量調整部は、前記混焼率が所定の値未満であって、前記負荷遮断信号が受信されたときに、前記複数の燃料供給系統の少なくとも一つの燃料供給系統の燃料供給を前記所定時間維持後に減少させる、
ガスタービンの制御装置。
【請求項3】
請求項2に記載のガスタービンの制御装置において、
前記バーナは前記燃焼器の径方向内方から外方に向かって中央バーナ、内側バーナおよび外側バーナを有し、
前記複数の燃料供給系統はそれぞれ前記中央バーナへ供給される第1燃料流量と、前記内側バーナおよび前記外側バーナへ供給される第2燃料流量を有し、
前記燃料流量調整部は、前記第1燃料流量と、前記第2燃料流量とを調整し、
前記混焼率が所定の値未満の場合であって、前記負荷遮断信号が受信されたときに、前記第2燃料流量を減少させるとともに、前記第1燃料流量を前記所定時間維持し、前記所定時間経過後に前記第1燃料流量を減少させるガスタービンの制御装置。
【請求項4】
請求項1または2に記載のガスタービンの制御装置を備えるガスタービン。
【請求項5】
主燃料と、当該主燃料よりも燃焼速度が遅い少なくとも1つの副燃料とを含む混合気を燃焼させるバーナを有する燃焼器と、
外部電力系統との負荷遮断時の負荷遮断信号を受信する負荷遮断信号受信部とを備えるガスタービンの制御方法であって、
前記副燃料に対する前記主燃料の体積流量割合である混焼率が所定の値未満であって、前記負荷遮断信号が受信されたときに、前記バーナへの燃料供給を所定時間維持後に減少させ、前記混焼率が所定の値以上であって、前記負荷遮断信号が受信されたときに、前記バーナへの燃料供給を減少させる、
ガスタービンの制御方法。
【請求項6】
請求項5に記載のガスタービンの制御方法において、
前記バーナには複数の燃料供給系統が接続されており、
前記混焼率が所定の値未満であって、前記負荷遮断信号が受信されたときに、前記複数の燃料供給系統の少なくとも一つの燃料供給系統の燃料供給を前記所定時間維持後に減少させる、
ガスタービンの制御方法。
発明の詳細な説明
【技術分野】
【0001】
本開示は、ガスタービンエンジンの制御装置および制御方法に関する。
続きを表示(約 1,800 文字)
【背景技術】
【0002】
近年、地球温暖化のような環境問題の原因となる二酸化炭素の排出を抑えるため、いわゆる低炭素社会の実現に向けて、燃料に水素を利用するバーナ装置が提案されている(例えば特許文献1)。
【先行技術文献】
【特許文献】
【0003】
特許第7200077号公報
【発明の概要】
【発明が解決しようとする課題】
【0004】
産業用ガスタービンは、発電装置外部の電力系統と接続しながら発電を行うが、外部の電力系統に異常がある場合等に、系統遮断機を切として、ガスタービンを瞬時に無負荷にして運転を維持することが求められる。その系統遮断機を切とした際、負荷が瞬時に無負荷となりガスタービンの回転数が上昇するため、回転数が上限を超えないようにするために燃料を急減させる必要がある。燃料の急減はガバナ(燃料制御弁)を用いて行う。燃料は水素ガス、または都市ガスと水素の混合ガスであるが、水素混焼率が低い場合、負荷遮断時に急激に燃料を減らすと保炎ができずに失火停止するおそれがある。
【0005】
本出願の開示は、上記課題を解決するためになされたものであって、負荷遮断時にガスタービンの回転数が上限を超えず、かつ失火停止しないようなガスタービンの制御装置および制御方法を提供する。
【課題を解決するための手段】
【0006】
本開示の一形態に係るガスタービンの制御装置は、主燃料と、当該主燃料より燃焼速度が遅い少なくとも1つの副燃料とを含む混合気を燃焼させるバーナを有する燃焼器と、前記バーナへ供給する前記混合気の流量を調整する燃料流量調整部と、外部電力系統との負荷遮断時の負荷遮断信号を受信する負荷遮断信号受信部とを備え、前記燃料流量調整部は、前記副燃料に対する前記主燃料の体積流量割合である混焼率が所定の値未満であって、前記負荷遮断信号が受信されたときに、前記バーナへの燃料供給を所定時間維持後に減少させ、前記混焼率が所定の値以上であって、前記負荷遮断信号が受信されたときに、前記バーナへの燃料供給を減少させる。
【発明の効果】
【0007】
本開示の一形態に係るガスタービンの制御装置によれば、負荷遮断時にバーナへの燃料供給を所定時間維持後に減少させることにより、ガスタービンの回転数を上限以下に抑え、かつガスタービンが失火停止しないようにできる。
【図面の簡単な説明】
【0008】
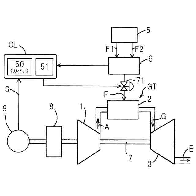
本開示のガスタービン制御装置を用いたガスタービン発電システムを示す概略図である。
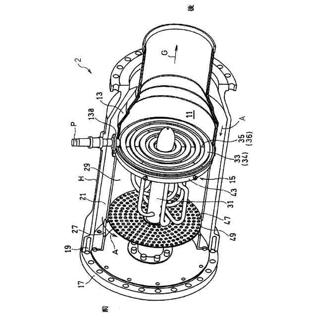
本開示の燃焼器を示す部分破断斜視図である。
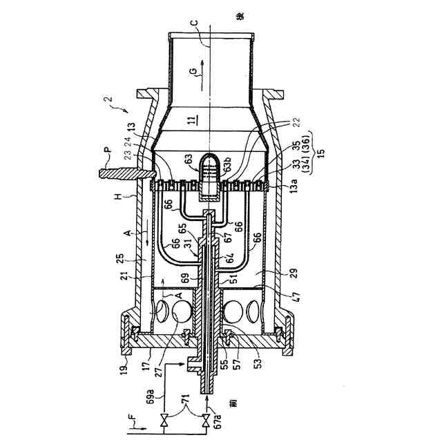
本開示の燃焼器を示す縦断面図である。
図2の燃焼器に使用されるバーナを示す正面図である。
本開示の水素混焼時の負荷遮断データを示す図である。
【発明を実施するための形態】
【0009】
本開示の実施の形態を図面を参照しながら説明する。
図1は、本開示の一実施形態に係るガスタービンGTの制御装置CLが使用されるガスタービン発電システムの概略構成を示す。同図において、ガスタービンGTは、圧縮機1と、燃焼器2と、タービン3とを主な構成要素として備えている。燃焼器2は、燃料供給装置5と、燃料供給装置5から供給される主燃料F1と副燃料F2を混合する燃料混合装置6とを備えている。圧縮機1から供給される圧縮空気Aと、燃料混合装置6から供給される混合気F(F1+F2)とを燃焼器2で燃焼させ、燃焼により発生する高温高圧の燃焼ガスGをタービン3に供給して、タービン3を駆動する。タービン3から排ガスEが排出される。圧縮機1は回転軸7を介してタービン3により駆動され、タービン3はまた、減速機8を介して発電機のような負荷9を駆動する。本開示において、「混合気」とは、複数の燃料ガスを混合させたものをいうが、さらに空気を混合させてもよい。
【0010】
以下、主燃料F1は水素、副燃料F2は都市ガス、混合気Fは水素F1と都市ガスF2との混合気として説明するが、これら燃料に限られない。主燃料F1は、燃焼温度が高く、燃焼速度が速いガスであればよい。そのような燃料としては、他にアンモニアが挙げられる。また、副燃料F2は、60体積%以上の炭化水素を含む炭化水素系の燃料であればよい。
(【0011】以降は省略されています)
この特許をJ-PlatPat(特許庁公式サイト)で参照する
関連特許
ダイハツ工業株式会社
車両
23日前
ダイハツ工業株式会社
制御装置
22日前
ダイハツ工業株式会社
制御装置
22日前
スズキ株式会社
車両の制御装置
16日前
ダイハツ工業株式会社
制御装置
22日前
トヨタ自動車株式会社
車両の制御装置
14日前
トヨタ自動車株式会社
内燃機関
14日前
株式会社SUBARU
エンジン制御装置
22日前
株式会社SUBARU
エンジン制御装置
16日前
株式会社IHI原動機
脈動減衰装置
14日前
個人
流体式推力方向制御装置
4日前
朝日電装株式会社
スロットルグリップ装置
4日前
トヨタ自動車株式会社
閾値の設定装置
4日前
トヨタ自動車株式会社
エンジン制御装置
今日
日産自動車株式会社
内燃機関
今日
日産自動車株式会社
内燃機関
今日
株式会社デンソートリム
エンジン制御装置
今日
本田技研工業株式会社
内燃機関の制御装置
14日前
本田技研工業株式会社
EGRバルブ制御装置
4日前
トヨタ自動車株式会社
エンジンシステムの診断装置
16日前
トヨタ自動車株式会社
エンジン制御装置
4日前
トヨタ自動車株式会社
内燃機関の燃料供給装置
今日
トヨタ自動車株式会社
内燃機関の燃料供給装置
4日前
トヨタ自動車株式会社
インジェクタの制御装置
2日前
愛三工業株式会社
吸気弁装置
16日前
ヤンマーホールディングス株式会社
エンジン装置
2日前
ヤンマーホールディングス株式会社
エンジン装置
2日前
ヤンマーホールディングス株式会社
エンジン装置
2日前
ヤンマーホールディングス株式会社
エンジン装置
2日前
ヤンマーホールディングス株式会社
エンジン装置
2日前
ヤンマーホールディングス株式会社
エンジン装置
2日前
大阪瓦斯株式会社
発電設備、及び発電方法
2日前
愛三工業株式会社
吸気制御弁
23日前
ヤンマーホールディングス株式会社
エンジン装置
2日前
トヨタ自動車株式会社
内燃機関の燃料噴射制御装置
2日前
株式会社豊田自動織機
燃料噴射弁
8日前
続きを見る
他の特許を見る