TOP
|
特許
|
意匠
|
商標
特許ウォッチ
Twitter
他の特許を見る
公開番号
2025128741
公報種別
公開特許公報(A)
公開日
2025-09-03
出願番号
2024025623
出願日
2024-02-22
発明の名称
センサシステム、情報処理装置及び情報処理方法
出願人
日本ミクロン株式会社
,
株式会社KMC
代理人
弁理士法人南青山国際特許事務所
主分類
G08C
17/02 20060101AFI20250827BHJP(信号)
要約
【課題】複数のセンサを時間的に同期して常時モニタし、且つ、センサに安定的に電源を供給し、無線でセンサ動作設定を変更できる、信頼性ある無線センサを提供する。
【解決手段】各子タグのプロセッサは、データ送信リクエストを受信すると、子タグに接続されたセンサのセンサ識別子及びセンサ値を含むステータスデータを、無線通信部を介して親タグに送信し、親タグは、複数の子タグから複数のステータスデータを受信し、複数のステータスデータを含む電文を生成し、電文を情報処理装置に送信し、情報処理装置は、電文を受信し、電文に含まれる複数のステータスデータに含まれる複数のセンサ値を共通の時間情報に対して同期して表示するGUIを生成し、表示装置に出力し、対象物の分析・解析・制御などにセンサデータを利用する。
【選択図】図4
特許請求の範囲
【請求項1】
製造機械に設置された複数のセンサにそれぞれ接続され、プロセッサ及び無線通信部をそれぞれ有する複数の子タグと、
前記複数の子タグと無線通信可能な親タグと、
前記親タグが接続される情報処理装置と、
を具備するセンサシステムであって、
前記親タグは、前記情報処理装置の要求を受けて、前記複数の子タグにデータ送信リクエストとセンシング内容・周期などの設定パラメータを送信し、
各子タグのプロセッサは、前記データ送信リクエストと設定パラメータを受信すると、前記子タグに接続されたセンサのセンサ識別子及びセンサ値を含むステータスデータを受信した設定内容に応じて取得し、前記無線通信部を介して前記親タグに送信し、
前記親タグは、前記複数の子タグから複数のステータスデータを受信し、前記複数のステータスデータを含む電文を生成し、前記電文を前記情報処理装置に送信し、
前記情報処理装置は、前記電文を受信し、前記電文に含まれる前記複数のステータスデータに含まれる、個別の子タグの周期・測定設定によって得られた複数のセンサ値を共通の時間情報に対して整列して表示するGUIを生成し、表示装置に出力し、AI等を用いたアラート表示、解析・分析、判断、行動指示などにセンサデータを利用可能な
センサシステム。
続きを表示(約 1,400 文字)
【請求項2】
請求項1に記載のセンサシステムであって、
前記親タグがセンシング内容・周期変更などの設定パラメータを送信した際に、正常に受信と設定変更が行われたことを前記子タグが前記親タグに通知し、前記子タグがセンサ識別値及びセンサ値を含むステータスデータを送信した際に、正常に受信が行われたことを前記親タグが前記子タグに通知し、通知が確認できない場合には再送信を要求することが可能な
センサシステム。
【請求項3】
請求項1に記載のセンサシステムであって、
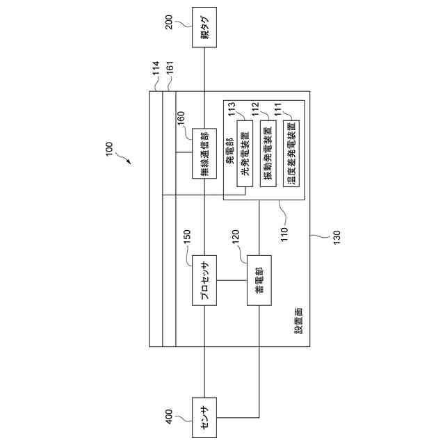
各子タグは、セミアクティブセンサタグ(RFIDタグ)であり、発電部と、前記発電部が発電した電気を蓄電し前記プロセッサ及び前記センサに電気を供給する蓄電部とを有し、
前記親タグは、RFIDリーダであり、
前記子タグは、前記データ送信リクエストを受信すると、前記蓄電部に蓄電された電気により駆動し、前記蓄電部に蓄電された電気により駆動する前記センサの前記センサ値を読み出す
センサシステム。
【請求項4】
請求項3に記載のセンサシステムであって、
前記ステータスデータは、各子タグの前記発電部の発電量を示す電圧値をさらに含み、
前記電文は、前記電圧値をさらに含み、
前記GUIは、前記電文に含まれる前記センサ識別子に関連付けて前記電圧値をさらに表示する
センサシステム。
【請求項5】
請求項3に記載のセンサシステムであって、
前記子タグは、前記子タグに接続されるセンサが設置される製造機械・設備・乗り物・構造物に設置される
センサシステム。
【請求項6】
請求項3に記載のセンサシステムであって、
前記発電部は、
前記子タグが設置される前記製造機械の温度と外気温の温度差により発電する温度差発電装置、
前記子タグが設置される前記製造機械の振動により発電する振動発電装置、及び/又は
前記子タグの周囲の光により発電する光発電装置
を含む
センサシステム。
【請求項7】
請求項3に記載のセンサシステムであって、
前記蓄電部は、キャパシタ及び全固体電池である
センサシステム。
【請求項8】
請求項1乃至7の何れか一項に記載のセンサシステムであって、
前記ステータスデータは、各子タグの前記無線通信部の電波強度をさらに含み、
前記電文は、前記電波強度をさらに含み、
前記GUIは、前記電文に含まれる前記センサ識別子に関連付けて前記電波強度をさらに表示する
センサシステム。
【請求項9】
請求項1に記載のセンサシステムであって、
前記複数のセンサ
をさらに具備するセンサシステム。
【請求項10】
請求項1に記載のセンサシステムであって、
各子タグの設定書き換えが常時可能な状態で運転することができ、
安全性を高めて、データのやり取り高速化と消費電流をおさえる目的などを含めた対策を取った、スイッチを設けた子タグにしたことにより、書き換えを不用意にできないようにする
センサシステム。
(【請求項11】以降は省略されています)
発明の詳細な説明
【技術分野】
【0001】
本開示は、製造機械に設置される複数のセンサのステータスデータを収集するセンサシステム、情報処理装置及び情報処理方法と、センサシステムに含まれる子タグ及び親タグとに関する。
続きを表示(約 1,500 文字)
【背景技術】
【0002】
製造機械の分野では、各部位にセンサが設置される。センサの検出結果は専用コントローラやコンピュータに入力される。近年では、様々なセンサを用いてしかもリアルタイムに時々刻々と変化するデータを収集することが要求されている(特許文献1参照)。
【0003】
取り付ける対象となる設備・もの・建物・構造物などに応じて、センサに対する要望も多種多様であり、取り付ける場所・必要とされるデータまで含めると、様々な要求にこたえる必要がある。従来のセンサデバイスでは、そのようなセンサに対する要望に応じて、例えば電波帯の変更など動作設定を変更する際には、コネクタ・はんだ付けなどの直接的な方法で接続を行い、設定の書き換えを行う必要があり、運用上の負担が生ずるといった問題があった。
【0004】
さらに、多数の対象物に取り付けてデータを多量に収集する、1つの対象物に多くのセンサを設置してその動作管理を行うといった場合に、センサ数が数十、数百といった単位になってくると設定変更の負担はより膨大なものとなり、現実的には運用困難となってくる。
【0005】
また、センサの設定やデータ収集を無線で行う方法も考えらえるが、消費電力が大きく、電源線が必要になってしまうか、バッテリが必要になってしまい、無線のメリットを生かせないといった問題がある。また、一度に行われる無線通信の電波の干渉や、受信タイミングの重複により、データが喪失する可能性があるといったシステムの信頼性上の懸念も生じていた。
【0006】
上記のような理由により、センサ利用による設備・もの・建物・構造物などの広い用途でのIoT化はまだ発展途上であり、限定的な利用にとどまっていることが少なくない。多くのセンサから、無線で十分な数のセンサデータを収集・解析することが出来れば、設備の生産性改善やメンテナンス管理、乗り物類・構造物の安全管理などに大きく寄与することが可能となる。
【0007】
前記問題点の改善点として、特許文献2のような、振動センサデータの取得条件を最適化し設定することで、消費電力を低減し、太陽電池やピエゾ素子やペルチェ素子といった発電素子を用いて、センサデータの無線通信を行う無線センサ端末が知られている。
【0008】
また、特許文献3のような、各無線センサのデータ送信タイミングに遅延を設けることで、センサデータのトラフィック発生を防止した無線センサシステムが知られている。
【先行技術文献】
【特許文献】
【0009】
特開2019-46293号公報
特開2018-18408号公報
特開2023-23349号公報
【0010】
しかしながら、特許文献2に開示の技術では、量の多いセンサデータが無線通信時に干渉してデータロストが発生するといった懸念がある。特に振動センサデータのサンプリング周波数を決定する過程では、条件設定のためのデータ量が多くなるためにデータ送信時間も長くなり、その問題が発生しやすくなる。また、データ量が多い際には、センシングやデータ送信に多くの電力を消費し、発電素子の電力ではデータ送信中にデータが途切れる、電力不足でデータが送信できないといった問題が発生する可能性もある。また、振動センサ以外の多種のセンサに対応し、多種類のセンシング要望に対応するようなものとはなっていない。
(【0011】以降は省略されています)
この特許をJ-PlatPat(特許庁公式サイト)で参照する
関連特許
日本ミクロン株式会社
センサシステム、情報処理装置及び情報処理方法
2か月前
日本精機株式会社
警報システム
2か月前
個人
安全支援装置
13日前
個人
自動電動車椅子
2か月前
株式会社SUBARU
車両
1か月前
スズキ株式会社
運転支援装置
2か月前
エムケー精工株式会社
車両誘導装置
2か月前
ニッタン株式会社
発信機
3か月前
ニッタン株式会社
検知器
2か月前
ニッタン株式会社
発信機
3か月前
ニッタン株式会社
検知器
2か月前
ニッタン株式会社
検知器
2か月前
個人
磁気路上での車両の路線離脱防御
1か月前
日本無線株式会社
船舶システム
14日前
株式会社国際電気
防災システム
2か月前
ニッタン株式会社
検知器
1か月前
トヨタ自動車株式会社
車両
3か月前
大阪瓦斯株式会社
音声出力システム
1か月前
株式会社SUBARU
運転支援装置
1か月前
トヨタ自動車株式会社
サーバ
22日前
トヨタ自動車株式会社
サーバ
1か月前
日本信号株式会社
異常走行検出装置
1か月前
ダイハツ工業株式会社
移動支援装置
1か月前
株式会社小糸製作所
移動体検出装置
2か月前
三菱自動車工業株式会社
制御システム
1か月前
株式会社小糸製作所
車両検出システム
2か月前
株式会社CCT
通信装置及び表示方法
1か月前
日本精機株式会社
報知装置及び報知システム
2か月前
株式会社デンソー
運航管理装置
1か月前
株式会社 ミックウェア
車内環境制御システム
1か月前
株式会社SUBARU
事故情報収集装置
1か月前
能美防災株式会社
火災感知器
2か月前
本田技研工業株式会社
情報提供装置
3か月前
ホーチキ株式会社
火災検出システム
1か月前
本田技研工業株式会社
運転評価装置
3か月前
本田技研工業株式会社
情報提供装置
3か月前
続きを見る
他の特許を見る