TOP
|
特許
|
意匠
|
商標
特許ウォッチ
Twitter
他の特許を見る
公開番号
2025127370
公報種別
公開特許公報(A)
公開日
2025-09-01
出願番号
2024024073
出願日
2024-02-20
発明の名称
農作業機
出願人
松山株式会社
代理人
個人
,
個人
主分類
A01D
34/66 20060101AFI20250825BHJP(農業;林業;畜産;狩猟;捕獲;漁業)
要約
【課題】作業部の姿勢を容易に確認できる草刈作業機を提供する。
【解決手段】草刈作業機1は、トラクタの後部に連結して使用する農作業機である。草刈作業機1は、前後方向の回動中心軸11を中心として上下方向に回動可能な作業部6を備える。草刈作業機1は、トラクタに乗った作業者が作業部6の姿勢を目視確認するための確認手段81を備える。確認手段81は、回動中心軸11の近傍位置に設ける。
【選択図】図3
特許請求の範囲
【請求項1】
走行車に連結されて使用される農作業機であって、
回動中心軸を中心として上下方向に回動可能な作業部と、
前記走行車に乗った作業者が前記作業部の姿勢を目視確認するための確認手段と
を備えることを特徴とする農作業機。
続きを表示(約 840 文字)
【請求項2】
確認手段は、回動中心軸の近傍位置に配置されている
ことを特徴とする請求項1記載の農作業機。
【請求項3】
確認手段は、回動中心軸の上方側を覆うカバー機能を有する
ことを特徴とする請求項1又は2記載の農作業機。
【請求項4】
確認手段は、
作業部の回動時にこの作業部とともに回動する第1部材と、
前記作業部の回動時に回動しない第2部材とを有し、
前記第1部材及び前記第2部材のいずれか一方には、基準目印が設けられ、
前記第1部材及び前記第2部材のいずれか他方には、
前記作業部が水平姿勢である場合に前記基準目印と対応する位置に位置する水平姿勢用目印と、
前記作業部が最大上向き傾斜姿勢である場合に前記基準目印と対応する位置に位置する最大上向き傾斜姿勢用目印と、
前記作業部が最大下向き傾斜姿勢である場合に前記基準目印と対応する位置に位置する最大下向き傾斜姿勢用目印とが設けられている
ことを特徴とする請求項1又は2記載の農作業機。
【請求項5】
第1部材及び第2部材のいずれか一方は、凹状面を有し、
基準目印は、前記凹状面に設けられている
ことを特徴とする請求項4記載の農作業機。
【請求項6】
第1部材及び第2部材のいずれか他方は、回動中心軸を中心とする円弧状面を有し、
水平姿勢用目印、最大上向き傾斜姿勢用目印及び最大下向き傾斜姿勢用目印は、前記円弧状面に設けられている
ことを特徴とする請求項4記載の農作業機。
【請求項7】
円弧状面は、前下り傾斜状に形成されている
ことを特徴とする請求項6記載の農作業機。
【請求項8】
作業部は、水平姿勢及び傾斜姿勢のいずれの姿勢でも草刈作業可能である
ことを特徴とする請求項1又は2記載の農作業機。
発明の詳細な説明
【技術分野】
【0001】
本発明は、農作業機に関するものである。
続きを表示(約 1,000 文字)
【背景技術】
【0002】
従来、例えば下記の特許文献1に記載された農作業機である草刈作業機が知られている。
【0003】
この従来の草刈作業機は、例えば走行車であるトラクタの後部に連結されて使用されるもので、前後方向の回動中心軸(回動支点)を中心として上下方向に回動可能な作業部(草刈作業部)を備えている。
【先行技術文献】
【特許文献】
【0004】
特開2013-183637号公報
【発明の概要】
【発明が解決しようとする課題】
【0005】
そして、上記従来の草刈作業機では、作業部を上下方向に回動させて水平姿勢や傾斜姿勢にした状態で作業を行うことが可能であるが、例えばトラクタに乗った作業者は、その作業部がどのような姿勢であるかを容易に確認することができない。
【0006】
本発明の実施形態の課題の一つは、作業部の姿勢を容易に確認できる農作業機を提供することにある。
【課題を解決するための手段】
【0007】
本発明の実施形態に係る農作業機は、走行車に連結されて使用される農作業機であって、回動中心軸を中心として上下方向に回動可能な作業部と、前記走行車に乗った作業者が前記作業部の姿勢を目視確認するための確認手段とを備えるものである。
【発明の効果】
【0008】
本発明の実施形態によれば、作業部の姿勢を容易に確認できる。
【図面の簡単な説明】
【0009】
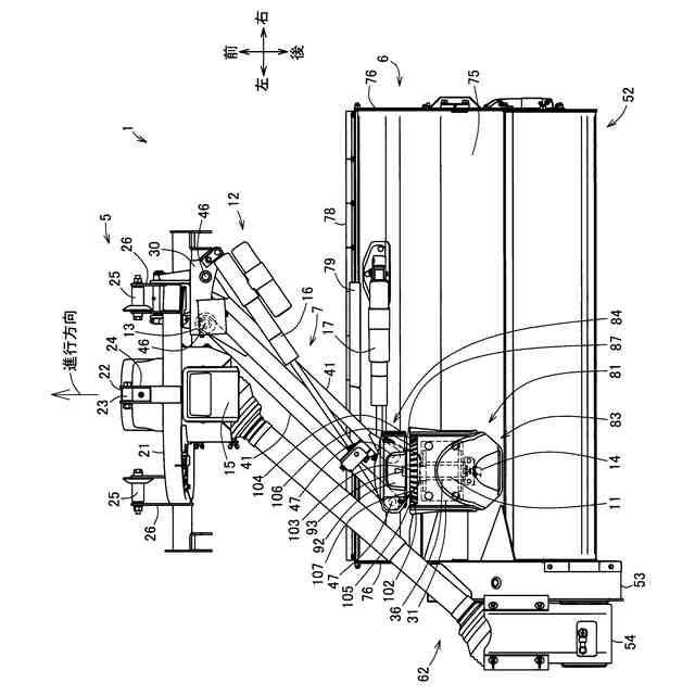
本発明の一の実施形態に係る草刈作業機の側面図である。
同上草刈作業機の平面図である。
同上草刈作業機の要部の斜視図である。
同上草刈作業機の要部の一部分解斜視図である。
同上草刈作業機の作業部の回動動作図で、(a)は作業部が最大の上向き傾斜位置に位置した最大上向き傾斜姿勢である場合の図、(b)は作業部が最大の下向き傾斜位置に位置した最大下向き傾斜姿勢である場合の図である。
同上草刈作業機の確認手段を示す図で、(a)は平面図、(b)は側面図である。
同上確認手段の後側カバー部材の正面図である。
同上確認手段の変形例を示す平面図である。
【発明を実施するための形態】
【0010】
本発明の一の実施形態について図1ないし図7を参照して説明する。
(【0011】以降は省略されています)
この特許をJ-PlatPat(特許庁公式サイト)で参照する
関連特許
松山株式会社
農作業機
20日前
松山株式会社
農作業機
1か月前
松山株式会社
農作業機
1か月前
松山株式会社
農作業機
1か月前
松山株式会社
農作業機
1か月前
松山株式会社
草刈作業機
3か月前
松山株式会社
農作業機用制御システム
1か月前
松山株式会社
農作業機用制御システム及び農作業方法
1か月前
松山株式会社
畦上面ローラ、畦形成手段及び畦塗り機
6日前
個人
蠅捕獲器
2日前
個人
草刈り鋏
6日前
個人
刈込鋏保持具
20日前
個人
草刈機用回転刃
2日前
株式会社丹勝
緑化工法
21日前
井関農機株式会社
作業車両
14日前
井関農機株式会社
作業車両
14日前
個人
四足動物用装着具
7日前
大栄工業株式会社
捕獲器
14日前
井関農機株式会社
作業車両
20日前
井関農機株式会社
作業車両
7日前
株式会社オーツボ
海苔箱船
6日前
井関農機株式会社
作業車両
2日前
松山株式会社
農作業機
20日前
トヨタ自動車株式会社
育苗装置
21日前
みのる産業株式会社
茎葉処理装置
8日前
スガノ農機株式会社
圃場作業装置
21日前
井関農機株式会社
コンバイン
21日前
株式会社デンソー
農業用装置
16日前
グローブライド株式会社
釣竿
14日前
株式会社小川農具製作所
穴明け装置
15日前
株式会社スズテック
播種装置
6日前
グローブライド株式会社
釣竿
15日前
グローブライド株式会社
釣用のルアー
16日前
株式会社クボタ
移植機
7日前
株式会社クボタ
移植機
7日前
グローブライド株式会社
魚釣用リール
13日前
続きを見る
他の特許を見る