TOP
|
特許
|
意匠
|
商標
特許ウォッチ
Twitter
他の特許を見る
10個以上の画像は省略されています。
公開番号
2025124490
公報種別
公開特許公報(A)
公開日
2025-08-26
出願番号
2024020582
出願日
2024-02-14
発明の名称
気体精製装置
出願人
愛三工業株式会社
代理人
弁理士法人太陽国際特許事務所
主分類
B01D
53/06 20060101AFI20250819BHJP(物理的または化学的方法または装置一般)
要約
【課題】ハウジングの小型化を図りつつ、作動時のエネルギー消費を抑制することができる気体精製装置を得る。
【解決手段】気体精製装置10は、混合ガスが導入される導入口14と精製ガスが導出される第1導出口16と、第2ガスが導出される第2導出口18とを有するポンプボデー12と、アウタロータ30の内部に設けられ、アウタロータ30との間にガス貯留部R1を形成するとともに、駆動によりガス貯留部R2の容積の増加と減少を繰り返すインナロータ40と、ガス貯留部R2の側面の少なくとも一部に設けられ、混合ガスとの接触により第2ガスを吸着可能とする吸着部50と、を備える。
【選択図】図2
特許請求の範囲
【請求項1】
少なくとも第1ガス及び第2ガスを含む混合ガスから前記第2ガスを分離させ、前記第1ガスの濃度が高められた精製ガスを導出する気体精製装置であって、
前記混合ガスが導入される導入口と前記精製ガスが導出される第1導出口と、前記第2ガスが導出される第2導出口とを有するハウジングと、
前記ハウジングの内部に設けられ、前記ハウジングとの間にガス貯留部を形成するとともに、駆動により前記ガス貯留部の容積の増加と減少を繰り返す駆動体と、
前記ガス貯留部の側面の少なくとも一部に設けられ、前記混合ガスとの接触により前記第2ガスを吸着可能とする吸着部と、
を備える気体精製装置。
続きを表示(約 1,600 文字)
【請求項2】
前記駆動体は、前記ガス貯留部の容積の減少時に、前記ガス貯留部内を加圧するように構成されている、
請求項1に記載の気体精製装置。
【請求項3】
トロコイドポンプ式の気体精製装置であって、
前記ハウジングは、筒状のポンプボデーと、当該ポンプボデーに収容され回転可能に支持されるとともに、内側面から突出した複数の外歯を有するアウタロータであり、
前記駆動体は、前記駆動体の外側面から突出し、前記外歯に外接した複数の内歯を有するインナロータであり、前記アウタロータに対して偏心した回転軸を有し、当該回転軸周りの回転により、前記外歯と前記内歯の間に形成された前記ガス貯留部の容積の増加と減少を繰り返すように構成され、
前記吸着部は、前記ハウジングの内側面及び前記駆動体の外側面の少なくとも一方において全部又は一部に設けられている、
請求項1又は請求項2に記載の気体精製装置。
【請求項4】
前記ガス貯留部内は、前記導入口を通じた前記混合ガスの導入により加圧され、前記導入口を通じた前記混合ガスの導入が停止されることにより減圧するように構成され、
前記吸着部は、前記ガス貯留部内の減圧により、前記第2ガスを脱離するように構成されている、
請求項3に記載の気体精製装置。
【請求項5】
前記ポンプボデーの軸方向一方に設けられ、前記ガス貯留部の軸方向一方を特定温度以上に加熱するとともに前記ガス貯留部内に軸方向一方から他方へと向かう気流を発生させる加熱部を更に備え、
前記ポンプボデーの軸方向一方には、前記導入口、前記第1導出口、前記加熱部が前記アウタロータの周方向に沿ってこの順で配置され、
前記ポンプボデーの軸方向他方には、軸方向視で前記加熱部と重なる位置に前記第2導出口が配置され、
前記吸着部は、特定温度未満で前記第2ガスを吸着し、前記特定温度以上で前記第2ガスを脱離するように構成されており、前記ガス貯留部が前記加熱部を通過する際に前記第2ガスを脱離する、
請求項3に記載の気体精製装置。
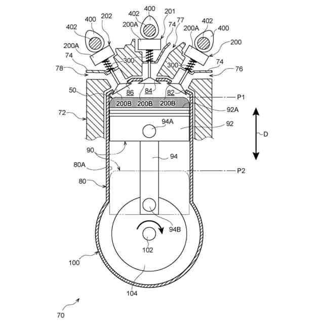
【請求項6】
ピストン式の気体精製装置であって、
前記ハウジングは、筒状のシリンダであり、
前記駆動体は、前記シリンダの内部に設けられ、上死点と下死点の間の往復運動により前記シリンダとの間に形成された前記ガス貯留部の容積の増加と減少を繰り返すピストンであり、
前記吸着部は、前記ピストンの上面の少なくとも一部に設けられている、
請求項1又は請求項2に記載の気体精製装置。
【請求項7】
前記導入口を開閉する導入口バルブと、
前記第1導出口を開閉する第1導出口バルブと、
前記第2導出口を開閉する第2導出口バルブと、を更に備え、
前記導入口バルブは、前記ピストンが上死点から下死点に移動する間に開弁し、前記ガス貯留部内に前記混合ガスを導入し、
前記導入口バルブ、前記第1導出口バルブ、前記第2導出口バルブは、前記ピストンが下死点から上死点に移動する間に閉弁し、前記ガス貯留部の容積の減少により前記吸着部に前記第2ガスを吸着させ、
前記第1導出口バルブは、前記ピストンが前記上死点に達する前に開弁し、前記ガス貯留部から前記精製ガスを導出させ、
前記導入口バルブ、前記第1導出口バルブ、前記第2導出口バルブは、前記ピストンが上死点から下死点に移動する間に閉弁し、前記ガス貯留部の容積の増加により前記吸着部から前記第2ガスを脱離させ、
前記第2導出口バルブは、前記ピストンが下死点から上死点に移動する間に開弁し、前記ガス貯留部から前記第2ガスを導出させるように構成されている、
請求項6に記載の気体精製装置。
発明の詳細な説明
【技術分野】
【0001】
本発明は、気体精製装置に関する。
続きを表示(約 1,700 文字)
【背景技術】
【0002】
特許文献1には、回転体の表面に気体や粉末を接触させ、回転体の表面に特定物質を吸着させて回収することにより、処理対象となる気体や粉末から、特定物質を分離させる技術が記載されている。
【先行技術文献】
【特許文献】
【0003】
特開2021-171760号公報
【発明の概要】
【発明が解決しようとする課題】
【0004】
特許文献1には、円板状の回転体に室内空気を接触させ、有害物質を吸着する空気処理装置が記載されている。この空気処理装置では、多孔性の基材に有害物質を捕捉する捕捉剤を含侵させて回転体を形成し、室内空気が回転体を通過する際に、有害物質を捕捉する。即ち、回転体が室内空気のフィルターを構成している。従って、室内空気との接触による回転体の圧力損失が大きく、モータ等の駆動源におけるエネルギー消費が増大するという課題がある。また、回転体を通過する気体が回転体から大きな抵抗を受けるため、気体の通気量を確保しようとすると、気体の流路を形成するハウジングが大型化するという課題がある。
【0005】
本願の発明者らは、2種以上のガスを含む混合ガスから所定のガスを分離させ、精製ガスを得る方法として、混合ガスが導入されるハウジングの内部で回転体を回転させ、回転体の表面に所定のガスを吸着させることを考案した。この場合においても、上記特許文献1と同様の課題が生じる。
【0006】
本発明は上記事実を考慮し、ハウジングの小型化を図りつつ、作動時のエネルギー消費を抑制することができる気体精製装置を得ることを目的とする。
【課題を解決するための手段】
【0007】
請求項1に記載の気体精製装置は、少なくとも第1ガス及び第2ガスを含む混合ガスから前記第2ガスを分離させ、前記第1ガスの濃度が高められた精製ガスを導出する気体精製装置であって、前記混合ガスが導入される導入口と前記精製ガスが導出される第1導出口と、前記第2ガスが導出される第2導出口とを有するハウジングと、前記ハウジングの内部に設けられ、前記ハウジングとの間にガス貯留部を形成するとともに、駆動により前記ガス貯留部の容積の増加と減少を繰り返す駆動体と、前記ガス貯留部の側面の少なくとも一部に設けられ、前記混合ガスとの接触により前記第2ガスを吸着可能とする吸着部と、を備える。
【0008】
請求項1に記載の気体精製装置では、ハウジングの内部で駆動体が駆動し、ハウジングと駆動体との間に形成されるガス貯留部の容積の増加と減少を繰り返す。これにより、ガス貯留部の内部では、導入口を通じて導入された混合ガスが容積の増減に伴って押し流され、第1導出口又は第2導出口を通じて導出可能な流速を得ることができる。更に、ガス貯留部の側面に設けられた吸着部が混合ガスに接触し、混合ガスに含まれる第2ガスを吸着する。その結果、ガス貯留部内で混合ガスから第2ガスが分離されるため、ガス貯留部内には、第1ガスの濃度が高められた精製ガスが貯留される。精製ガスは、その後、ハウジングに設けられた第1導出口を通じて導出させることができる。
【0009】
このように、請求項1に記載の気体精製装置では、駆動体の駆動により、ガス貯留部内に貯留された混合ガスが所定の流速を得ると同時に、吸着部の吸着作用により、混合ガスに含まれる第2ガスが分離される。このため、混合ガスの流路に吸着フィルターを設置する構造と比べ、モータ等の駆動源における、作動時のエネルギー消費が抑制される。また、混合ガスが所定の流速を得ることで気体の通気量を充分に確保できるため、ハウジングの小型化を図ることができる。
【0010】
請求項2に記載の気体精製装置は、請求項1に記載の構成において、前記駆動体は、前記ガス貯留部の容積の減少時に、前記ガス貯留部内を加圧するように構成されている。
(【0011】以降は省略されています)
この特許をJ-PlatPat(特許庁公式サイト)で参照する
関連特許
愛三工業株式会社
溶接方法
1か月前
愛三工業株式会社
固定構造
10日前
愛三工業株式会社
樹脂部材
10日前
愛三工業株式会社
吸着装置
2か月前
愛三工業株式会社
端子構造
1か月前
愛三工業株式会社
吸気制御弁
1か月前
愛三工業株式会社
吸気弁装置
26日前
愛三工業株式会社
気体精製装置
1か月前
愛三工業株式会社
燃料フィルタ
1か月前
愛三工業株式会社
燃料供給装置
4日前
愛三工業株式会社
電圧変換装置
18日前
愛三工業株式会社
電力供給装置
26日前
愛三工業株式会社
燃料電池システム
14日前
愛三工業株式会社
温度計測モジュール
6日前
愛三工業株式会社
グロメット装着治具
1か月前
愛三工業株式会社
内燃機関の制御装置
1か月前
愛三工業株式会社
電池及びその製造方法
2か月前
愛三工業株式会社
内燃機関の排気浄化装置
1か月前
愛三工業株式会社
内燃機関の排気浄化システム
1か月前
愛三工業株式会社
液化ガス利用システム及び自動車
25日前
愛三工業株式会社
仕切り体
1か月前
東レ株式会社
複合半透膜
1か月前
ユニチカ株式会社
複合中空糸膜
11日前
東レ株式会社
中空糸膜モジュール
10日前
株式会社ニクニ
液体処理装置
24日前
日本化薬株式会社
メタノール改質触媒
25日前
株式会社大善
濃縮脱水機
1か月前
三機工業株式会社
ろ過装置
1か月前
株式会社フクハラ
圧縮空気圧回路
1か月前
株式会社MRT
微細バブル発生装置
14日前
株式会社カネカ
製造システム
1か月前
株式会社カネカ
濃縮システム
1か月前
テルモ株式会社
ろ過デバイス
1か月前
日本ソリッド株式会社
水中懸濁物質付着素材
1か月前
個人
攪拌装置
14日前
株式会社切川物産
撹拌混合装置
1か月前
続きを見る
他の特許を見る