TOP
|
特許
|
意匠
|
商標
特許ウォッチ
Twitter
他の特許を見る
公開番号
2025118280
公報種別
公開特許公報(A)
公開日
2025-08-13
出願番号
2024013507
出願日
2024-01-31
発明の名称
吸着装置
出願人
愛三工業株式会社
代理人
弁理士法人太陽国際特許事務所
主分類
B01D
53/04 20060101AFI20250805BHJP(物理的または化学的方法または装置一般)
要約
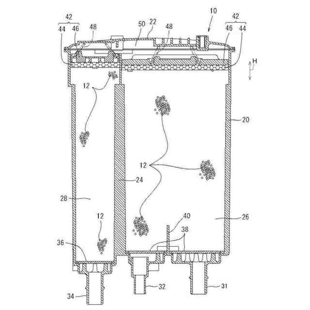
【課題】ケーシングの壁面と吸着体との間の隙間を抑制し、ケーシング内のガス流れが不均一になることを抑制するとともに、壁面付近の吸着性能を向上させることができる吸着装置を得る。
【解決手段】吸着装置10は、気体の流路の少なくとも一部を形成するケーシング20と、ケーシング20に充填され、気体に含まれる特定物質を吸着する粒状の第1吸着体12と、ケーシング20の内側面に配置され、第1吸着体12に面した表面の変形によりケーシング20の内側面と第1吸着体12との間の空隙率を低減するとともに、少なくとも第1吸着体12に面した表面に第2吸着体14が固定された変形部材30と、を有する。
【選択図】図2
特許請求の範囲
【請求項1】
気体の流路の少なくとも一部を形成するケーシングと、
前記ケーシングに充填され、前記気体に含まれる特定物質を吸着する粒状の第1吸着体と、
前記ケーシングの内側面に配置され、前記第1吸着体に面した表面の変形により前記ケーシングの内側面と前記第1吸着体との間の空隙率を低減するとともに、少なくとも前記第1吸着体に面した表面に前記特定物質を吸着する第2吸着体が固定された変形部材と、を有する吸着装置。
続きを表示(約 410 文字)
【請求項2】
前記変形部材は、シート状の不織布で形成されており、前記第2吸着体は、前記不織布の繊維に固定されている、
請求項1に記載の吸着装置。
【請求項3】
前記変形部材は、シート状をなし、複数の気孔が形成された発泡材で構成されており、前記第2吸着体は、前記気孔の表面に固定されている、
請求項1に記載の吸着装置。
【請求項4】
前記変形部材は、シート状のゴム板で形成されており、前記第1吸着体に面した前記表面に第2吸着体が固定されている、
請求項1に記載の吸着装置。
【請求項5】
前記第2吸着体の粒径は、前記第1吸着体の粒径よりも小さい、
請求項1~請求項4の何れか1項に記載の吸着装置。
【請求項6】
前記第2吸着体は、粉体の金属有機構造体である、
請求項1~請求項4の何れか1項に記載の吸着装置。
発明の詳細な説明
【技術分野】
【0001】
本発明は、吸着装置に関する。
続きを表示(約 1,700 文字)
【背景技術】
【0002】
特許文献1には、ケーシングの内部に形成されるガス通路に、蒸発燃料を吸着及び脱離する粒状の吸着材が充填された蒸発燃料処理装置が開示されている。この蒸発燃料処理装置では、通路断面内の中央部分に充填される第1の吸着材がケーシングの外周部分に充填される第2の吸着材よりも粒径が大きいものとされている。これにより、ガス通路の通路断面内の外周部分に比して、上記通路断面内の中央部分における蒸発燃料の脱離を促進する。
【先行技術文献】
【特許文献】
【0003】
特開2014-118896号公報
【発明の概要】
【発明が解決しようとする課題】
【0004】
ところで、ケーシングの内部では、個々の吸着体はほぼ平らなケーシングの壁面と接している。このため、吸着体とケーシングの壁面との間の隙間が吸着体同士の間の隙間と比べて大きくなる。これにより、ケーシングに導入された気体が、ケーシングの中央部よりも圧力損失の少ない内周面側に流れやすくなり、ケーシング内のガス流れが不均一になるという課題が生じる。また、ケーシングの壁面は、吸着性能を有しないため、ケーシングの壁面付近の吸着性能が劣るという課題が生じる。
【0005】
本発明は上記課題を考慮し、ケーシングの壁面と吸着体との間の隙間を抑制し、ケーシング内のガス流れが不均一になることを抑制するとともに、壁面付近の吸着性能を向上させることができる吸着装置を得ることを目的とする。
【課題を解決するための手段】
【0006】
請求項1に記載の吸着装置は、気体の流路の少なくとも一部を形成するケーシングと、前記ケーシングに充填され、前記気体に含まれる特定物質を吸着する粒状の第1吸着体と、前記ケーシングの内側面に配置され、前記第1吸着体に面した表面の変形により前記ケーシングの内側面と前記第1吸着体との間の空隙率を低減するとともに、少なくとも前記第1吸着体に面した表面に前記特定物質を吸着する第2吸着体が固定された変形部材と、を有する。
【0007】
請求項1に記載の吸着装置では、特定物質を含む気体がケーシング内を通過すると、第1吸着体の粒子間を気体が通る際に、第1吸着体が気体に含まれる特定物質を吸着する。ここで、ケーシングの内側面には、変形部材が配置されている。この変形部材は、第1吸着体に面した表面の変形によりケーシングの内側面と第1吸着体との間の空隙率を低減させる。このため、ケーシングの中央側と外周側との圧力損失の差分を小さくすることができ、ケーシング内のガス流れが不均一になることが抑制される。さらに、変形部材は、少なくとも第1吸着体に面した表面に特定物質を吸着する第2吸着体が固定されている。従って、ケーシングの内側面と第1吸着体との間を気体が通過すると、第2吸着体が気体に含まれる特定物質を吸着するため、内側面の近傍の吸着性能が向上する。このようにして、請求項1に記載の吸着装置では、ケーシングの壁面と吸着体との間の隙間を抑制し、ケーシング内のガス流れが不均一になることを抑制するとともに、壁面付近の吸着性能を向上させることができる。
【0008】
請求項2に記載の吸着装置は、請求項1に記載の構成において、前記変形部材は、シート状の不織布で形成されており、前記第2吸着体は、前記不織布の繊維に固定されている。
【0009】
請求項2に記載の吸着装置では、シート状の不織布で変形部材が形成されており、第2吸着体が不織布の繊維に固定されている。これにより、変形部材が通気性を有するとともに、第2吸着体を不織布の内部にまで分散して配置することができるため、気体に含まれる特定物質と第2吸着体との接触効率を高めることができる。
【0010】
請求項3に記載の吸着装置は、請求項1に記載の構成において、前記変形部材は、シート状をなし、複数の気孔が形成された発泡材で構成されており、前記第2吸着体は、前記気孔の表面に固定されている。
(【0011】以降は省略されています)
この特許をJ-PlatPat(特許庁公式サイト)で参照する
関連特許
愛三工業株式会社
固定構造
8日前
愛三工業株式会社
樹脂部材
8日前
愛三工業株式会社
溶接方法
1か月前
愛三工業株式会社
端子構造
1か月前
愛三工業株式会社
吸気弁装置
24日前
愛三工業株式会社
吸気制御弁
1か月前
愛三工業株式会社
燃料供給装置
2日前
愛三工業株式会社
電圧変換装置
16日前
愛三工業株式会社
電力供給装置
24日前
愛三工業株式会社
燃料電池システム
12日前
愛三工業株式会社
温度計測モジュール
4日前
愛三工業株式会社
内燃機関の排気浄化装置
1か月前
愛三工業株式会社
液化ガス利用システム及び自動車
23日前
ユニチカ株式会社
複合中空糸膜
9日前
東レ株式会社
中空糸膜モジュール
8日前
株式会社ニクニ
液体処理装置
22日前
株式会社大善
濃縮脱水機
1か月前
日本化薬株式会社
メタノール改質触媒
23日前
テルモ株式会社
ろ過デバイス
1か月前
株式会社MRT
微細バブル発生装置
12日前
個人
攪拌装置
12日前
日本ソリッド株式会社
水中懸濁物質付着素材
1か月前
東京理化器械株式会社
クリップ
16日前
株式会社笹山工業所
濁水処理システム
12日前
株式会社切川物産
撹拌混合装置
1か月前
ヤマシンフィルタ株式会社
フィルタ装置
1か月前
ヤマシンフィルタ株式会社
フィルタ装置
10日前
大和ハウス工業株式会社
反応装置
2日前
ノリタケ株式会社
ガス吸収シート
23日前
大陽日酸株式会社
CO2の回収方法
4日前
本田技研工業株式会社
ガス回収装置
4日前
ダイハツ工業株式会社
二酸化炭素分解装置
1か月前
杉山重工株式会社
回転円筒型反応装置
12日前
株式会社福島県南環境衛生センター
処理装置
1か月前
浙江漢信科技有限公司
攪拌装置
1か月前
中外炉工業株式会社
ガス発生装置及び窒化装置
1か月前
続きを見る
他の特許を見る