TOP
|
特許
|
意匠
|
商標
特許ウォッチ
Twitter
他の特許を見る
公開番号
2025123840
公報種別
公開特許公報(A)
公開日
2025-08-25
出願番号
2024019557
出願日
2024-02-13
発明の名称
サンプリング装置
出願人
株式会社カワタ
代理人
個人
主分類
G01N
1/04 20060101AFI20250818BHJP(測定;試験)
要約
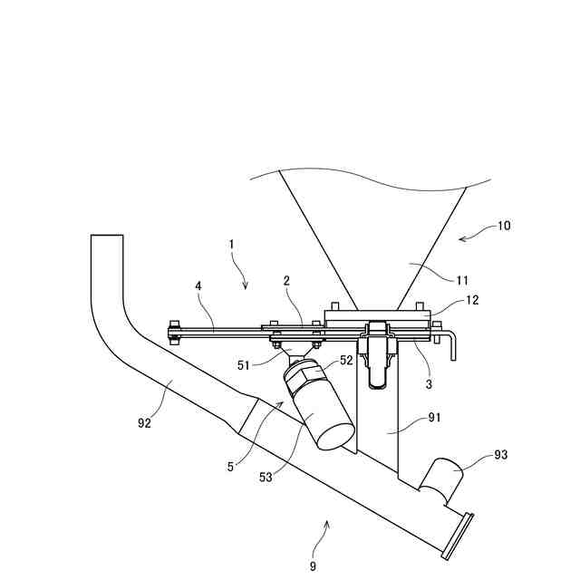
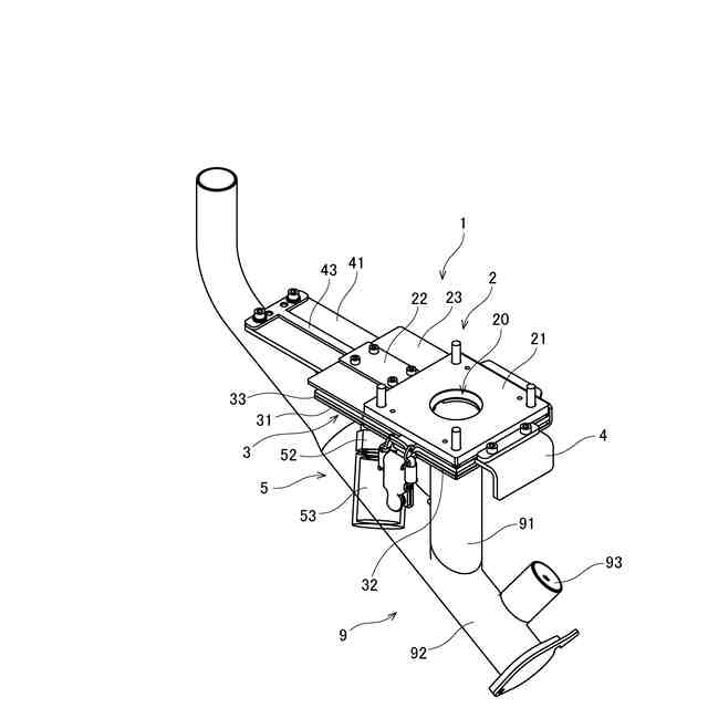
【課題】粉粒体の輸送経路上に配置されるサンプリング装置であって、簡易な構成でサンプルを取得可能なサンプリング装置を提供する。
【解決手段】サンプリング装置1は、開位置P1と閉位置P2との間でスライド移動可能な板状弁体4と、板状弁体4の上方に配置される上板2と、板状弁体4の下方に配置される下板3と、粉粒体を収集するサンプル収集部5とを有する。板状弁体4は、平板上の弁体本体41と、上下に貫通する通過孔40とを有する。上板2は上側輸送孔20を有する。下板3は下側輸送孔30とサンプリング孔80とを有する。開位置P1において、上側輸送孔20、通過孔40および下側輸送孔30が上下に重なる。閉位置P2において、上側輸送孔20および下側輸送孔30は閉塞され、通過孔40およびサンプリング孔80が上下に重なる。サンプル収集部5は、サンプリング孔80から下方へ落下する粉粒体を収集する。
【選択図】図5
特許請求の範囲
【請求項1】
上方から下方へと粉粒体を輸送する輸送経路に介挿されるサンプリング装置であって、
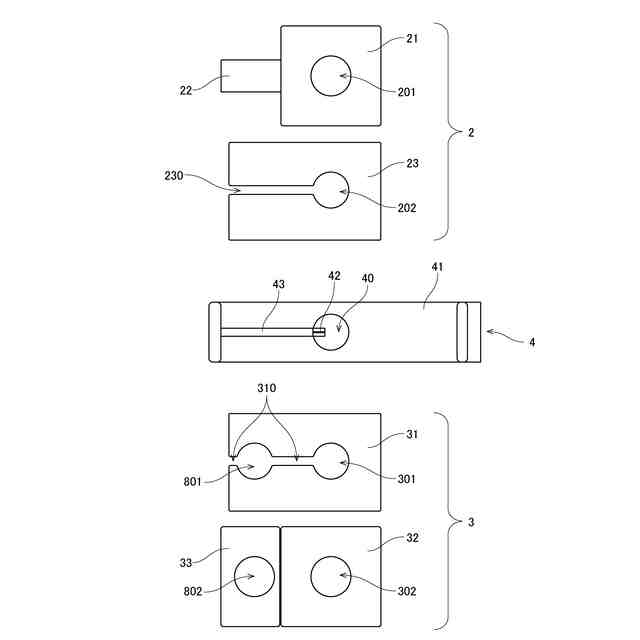
開位置と閉位置との間で水平方向であるスライド方向にスライド移動可能な板状弁体と、
前記板状弁体の上方に配置される上板と、
前記板状弁体の下方に配置される下板と、
前記下板の下方において前記粉粒体を収集するサンプル収集部と、
を有し、
前記板状弁体は、
平板状の弁体本体と、
前記弁体本体を上下に貫通する通過孔と、
を有し、
前記上板は、上下に貫通する上側輸送孔を有し、
前記下板は、
上下に貫通し、前記上側輸送孔と上下方向に重なる下側輸送孔と、
上下に貫通するサンプリング孔と、
を有し、
前記板状弁体が前記開位置に配置されると、前記上側輸送孔、前記通過孔および前記下側輸送孔が上下方向に重なり、
前記板状弁体が前記閉位置に配置されると、前記上側輸送孔および前記下側輸送孔は前記弁体本体によって塞がれるとともに、前記通過孔および前記サンプリング孔が上下方向に重なり、
前記サンプル収集部は、前記サンプリング孔から下方へ落下する前記粉粒体を収集する、サンプリング装置。
続きを表示(約 480 文字)
【請求項2】
請求項1に記載のサンプリング装置であって、
前記粉粒体は、樹脂ペレットである、サンプリング装置。
【請求項3】
請求項1に記載のサンプリング装置であって、
前記上側輸送孔は、粉粒体供給源と接続され、
前記粉粒体供給源は、前記粉粒体を加熱乾燥する乾燥処理装置である、サンプリング装置。
【請求項4】
請求項1に記載のサンプリング装置であって、
前記サンプル収集部は、
前記サンプリング孔から下方へ落下する前記粉粒体を貯留する収集容器
を有する、サンプリング装置。
【請求項5】
請求項4に記載のサンプリング装置であって、
前記収集容器は透明である、サンプリング装置。
【請求項6】
請求項1ないし請求項5のいずれか一項に記載のサンプリング装置であって、
前記板状弁体は、
前記通過孔の前記スライド方向一方側から、前記通過孔内に、前記スライド方向他方側に延びる突起
をさらに有する、サンプリング装置。
発明の詳細な説明
【技術分野】
【0001】
本発明は、粉粒体の輸送経路上に配置されるサンプリング装置に関する。
続きを表示(約 1,400 文字)
【背景技術】
【0002】
従来、粉粒体に対して乾燥処理等の処理を行った場合、処理後の粉粒体は、処理ユニットから貯留容器や次の処理ユニットへ輸送される。このような場合に、処理ユニットにおける処理後の粉粒体の一部をサンプリングして品質を確認するために、粉粒体の搬送経路上にサンプルを取り出すためのサンプリング装置を備える場合がある。輸送経路上に備えられるサンプリング装置は、例えば、特許文献1に記載されている。
【先行技術文献】
【特許文献】
【0003】
特開平04-316809号公報
【発明の概要】
【発明が解決しようとする課題】
【0004】
特許文献1に記載のサンプリング装置は、計量穴を形成したマステーブルを回転させるロータリ式のサンプリング装置である。この装置は、複雑な機構のためコストがかかるとともに、マステーブルをロータリアクチュエータで回転させるため、ロータリアクチュエータへの電力の供給の必要がある。また、この装置では、マステーブルが輸送経路である材料排出路に組み込まれているため、既存の輸送経路に対して後から追加することが難しい。
【0005】
本発明の目的は、粉粒体の輸送経路上に配置されるサンプリング装置であって、簡易な構成でサンプルを取得可能なサンプリング装置を提供することを目的とする。
【課題を解決するための手段】
【0006】
上記課題を解決するため、本願の第1発明は、上方から下方へと粉粒体を輸送する輸送経路に介挿されるサンプリング装置であって、開位置と閉位置との間で水平方向であるスライド方向にスライド移動可能な板状弁体と、前記板状弁体の上方に配置される上板と、前記板状弁体の下方に配置される下板と、前記下板の下方において前記粉粒体を収集するサンプル収集部と、を有し、前記板状弁体は、平板状の弁体本体と、前記弁体本体を上下に貫通する通過孔と、を有し、前記上板は、上下に貫通する上側輸送孔を有し、前記下板は、上下に貫通し、前記上側輸送孔と上下方向に重なる下側輸送孔と、上下に貫通するサンプリング孔と、を有し、前記板状弁体が前記開位置に配置されると、前記上側輸送孔、前記通過孔および前記下側輸送孔が上下方向に重なり、前記板状弁体が前記閉位置に配置されると、前記上側輸送孔および前記下側輸送孔は前記弁体本体によって塞がれるとともに、前記通過孔および前記サンプリング孔が上下方向に重なり、前記サンプル収集部は、前記サンプリング孔から下方へ落下する前記粉粒体を収集する。
【0007】
本願の第2発明は、第1発明のサンプリング装置であって、前記粉粒体は、樹脂ペレットである。
【0008】
本願の第3発明は、第1発明または第2発明のサンプリング装置であって、前記上側輸送孔は、粉粒体供給源と接続され、前記粉粒体供給源は、前記粉粒体を加熱乾燥する乾燥処理装置である。
【0009】
本願の第4発明は、第1発明ないし第3発明のいずれか1発明のサンプリング装置であって、前記サンプル収集部は、前記サンプリング孔から下方へ落下する前記粉粒体を貯留する収集容器を有する。
【0010】
本願の第5発明は、第4発明のサンプリング装置であって、前記収集容器は透明である。
(【0011】以降は省略されています)
この特許をJ-PlatPat(特許庁公式サイト)で参照する
関連特許
株式会社カワタ
粉粒体処理装置
2日前
株式会社カワタ
スライドゲート
1か月前
株式会社カワタ
粉粒体処理装置および乾燥方法
2日前
株式会社カワタ
粉粒体処理容器および乾燥装置
2日前
株式会社カワタ
コーティング溶液調製方法、コーティング溶液およびコーティング方法
2日前
個人
メジャー文具
5日前
日本精機株式会社
位置検出装置
11日前
ユニパルス株式会社
ロードセル
4日前
日本精機株式会社
位置検出装置
11日前
日本精機株式会社
位置検出装置
11日前
大和製衡株式会社
組合せ秤
16日前
大和製衡株式会社
組合せ秤
16日前
アズビル株式会社
圧力センサ
10日前
トヨタ自動車株式会社
表示装置
25日前
株式会社ユーシン
操作検出装置
13日前
株式会社ヨコオ
ソケット
4日前
トヨタ自動車株式会社
検査装置
13日前
株式会社ヨコオ
ソケット
3日前
ダイキン工業株式会社
監視装置
2日前
株式会社東芝
センサ
16日前
株式会社東芝
センサ
16日前
エイブリック株式会社
磁気センサ回路
10日前
トヨタ自動車株式会社
監視装置
3日前
株式会社チノー
放射光測温装置
4日前
TDK株式会社
ガスセンサ
4日前
TDK株式会社
磁気センサ
3日前
TDK株式会社
ガスセンサ
9日前
株式会社ナリス化粧品
角層細胞採取用具
23日前
個人
粘塑性を用いた有限要素法の定式化
25日前
東レエンジニアリング株式会社
計量装置
13日前
株式会社東芝
重量測定装置
9日前
TDK株式会社
ガスセンサ
10日前
日本特殊陶業株式会社
センサ
2日前
成田空港給油施設株式会社
保持治具
24日前
日本特殊陶業株式会社
センサ
2日前
中国電力株式会社
異常箇所検出装置
24日前
続きを見る
他の特許を見る