TOP
|
特許
|
意匠
|
商標
特許ウォッチ
Twitter
他の特許を見る
公開番号
2025122991
公報種別
公開特許公報(A)
公開日
2025-08-22
出願番号
2024018791
出願日
2024-02-09
発明の名称
車両用空調装置
出願人
スズキ株式会社
代理人
個人
,
個人
,
個人
,
個人
,
個人
,
個人
主分類
B60H
1/00 20060101AFI20250815BHJP(車両一般)
要約
【課題】エバポレータが送風機の上流側に配置される車両用空調装置において、送風機のブロアモータの周囲の温度を適切な範囲に設定する。
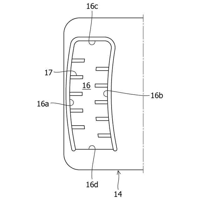
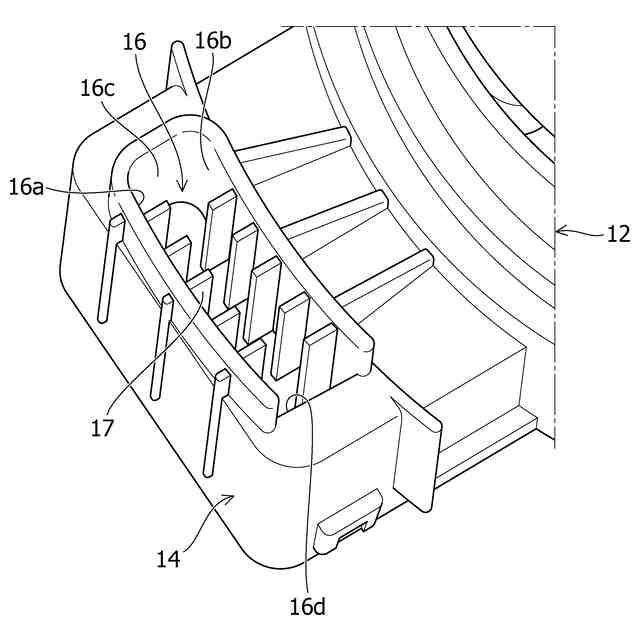
【解決手段】車両用空調装置の送風機10は、ブロアファンと、ブロアファンを駆動するブロアモータと、ケース14と、を有し、ケース14は、空気を吐出する吐出口と、エバポレータによって冷却された冷却空気が吸気される吸気口16と、吸気口16から、ブロアファンを介して吐出口まで延びる空気流路と、を有し、吸気口16の内壁面16a、16bには、複数のフィン17が設けられ、フィン17の長手方向は、空気の流通方向に沿って配置されている。
【選択図】図5
特許請求の範囲
【請求項1】
送風機と、該送風機によって取り込まれる空気を冷却するエバポレータと、を有する車両用空調装置であって、
前記送風機は、ブロアファンと、該ブロアファンに装着され、ブロアファンを駆動するブロアモータと、前記ブロアファン及び前記ブロアモータを収容するケースと、を有し、
前記ケースは、空気を吐出する吐出口と、前記エバポレータによって冷却された冷却空気が吸気される吸気口と、前記吸気口から、前記ブロアファンを介して前記吐出口まで延びる空気流路と、を有し、
前記吸気口の内壁には、複数のフィンが設けられ、前記フィンの長手方向は、空気の流通方向に沿って配置されていることを特徴とする、車両用空調装置。
続きを表示(約 660 文字)
【請求項2】
前記吸気口は、略長方形状であり、
前記複数のフィンは、前記長方形状の長辺から前記流通方向に延びる内壁面に、互いに間隔を空けて配置されていることを特徴とする、請求項1に記載の車両用空調装置。
【請求項3】
前記空気流路は、前記吸気口の縁部から、前記流通方向に延びる内壁面を有し、
前記吸気口は、略長方形状であり、
前記内壁面は、前記長方形状の互いに対向する長辺うち、一方の長辺に対応する前記第1内壁面と、他方の長辺に対応する前記第2内壁面とを含み、
前記複数のフィンのそれぞれは、前記第1の内壁面から前記第2の内壁面に向かって突出していることを特徴とする請求項1または請求項2に記載の車両用空調装置。
【請求項4】
前記複数のフィンは、前記第1の内壁面及び前記第2の内壁面のそれぞれに設けられ、
前記吸気口の長手方向で、前記第1の内壁面に設けられる隣接するフィンの間に、前記第2の内壁面に設けられる1つのフィンが配置されていることを特徴とする、請求項3に記載の車両用空調装置。
【請求項5】
前記複数のフィンは、空気流通方向に対して、傾斜して配置されていることを特徴とする、請求項1に記載の車両用空調装置。
【請求項6】
前記空気流路は、前記ブロアモータの周囲を取り囲むように配置される周回部を有し、前記ブロアファンは、周回部の下流側に配置されていることを特徴とする、請求項1に記載の車両用空調装置。
発明の詳細な説明
【技術分野】
【0001】
本発明は、車両用空調装置に関する。
続きを表示(約 1,800 文字)
【背景技術】
【0002】
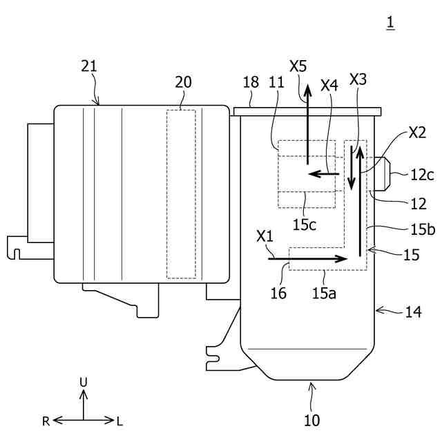
例えば、車両用空調装置は、特許文献1に開示されているように、送風機及びエバポレータを有しており、これらは、通常、車両室の前方側で、例えば、インストルメントパネルの前方側に配置されている。
【0003】
送風機は、ブロアモータと、ブロアファンと、これらを収容するケースと、を有しているものが知られている。ブロアモータは、例えば、バッテリから電力が供給されることにより、駆動されるモータである。ブロアモータが駆動されることにより、ブロアファンが回転する。ケースには、空気を吐出する吐出口、及び、空気を取り込む吸気口が設けられ、ケースの内部には、吸気口と吐出口とを繋ぐ空気流路が形成されている。
【0004】
エバポレータは、例えば、車両のカウル部に設けられる空気取込み口から取り込まれた空気(外気)を、冷媒との熱交換により冷却する装置である。エバポレータは、通常、送風機に隣接する冷却ケース内に配置され、エバポレータと送風機とにより1つの空調ユニットを構成している。空調ユニットには、空気の流通方向において、エバポレータが送風機の下流側に配置されるタイプ、及び、エバポレータが送風機の上流側に配置されるタイプがある。上記例の構造では、送風機の上流側にエバポレータが配置されている。
【先行技術文献】
【特許文献】
【0005】
特開2001-342998号公報
【発明の概要】
【発明が解決しようとする課題】
【0006】
ブロアモータは、稼動中(使用中)に発熱する。当該発熱により、ブロアモータの内部のブラシ摩耗が促進されると、ブロアモータの交換タイミングが早まる可能性がある。そのため、ブロアモータを適切な温度範囲で駆動する必要がある。上記例のように、エバポレータが送風機の上流側に配置されるタイプの場合、エバポレータによって冷却された空気が、ケースの吸気口から、送風機の内部に取り込まれるため、ブロアモータの冷却効果を向上させることが可能となる。そのため、エバポレータを送風機の上流側に配置することは、ブロアモータを冷却する上で有効である。
【0007】
ところが、エバポレータを通り抜けた空気が送風機の内部に流入すると、ブロワモータの冷却効果は高まる一方で、ブロアモータのブラシを冷やしすぎる可能性がある。この場合、ブロワファンを駆動しない状態において、高温多湿の空気を吸い込むと、ブロアモータ内に結露が発生する可能性がある。当該結露の発生により、例えば整流子及びブラシが腐食により固着する可能性があり、ブラシ摩耗が促進する可能性がある。そのため、エバポレータが送風機の上流側に配置される車両用空調装置において、ブロアモータの周囲の空気温度を適切な範囲に設定しようとする上で、改善の余地がある。
【0008】
本発明は上記課題を解決するためになされたものであって、その目的は、空気流通方向で、エバポレータが送風機の上流側に配置される車両用空調装置において、送風機のブロアモータの周囲の温度を適切な範囲に設定することが可能な車両用空調装置を提供することである。
【課題を解決するための手段】
【0009】
上記目的を達成するための本発明に係る車両用空調装置は、送風機と、該送風機によって取り込まれる空気を冷却するエバポレータと、を有する車両用空調装置であって、前記送風機は、ブロアファンと、該ブロアファンに装着され、ブロアファンを駆動するブロアモータと、前記ブロアファン及び前記ブロアモータを収容するケースと、を有し、前記ケースは、空気を吐出する吐出口と、前記エバポレータによって冷却された冷却空気が吸気される吸気口と、前記吸気口から、前記ブロアファンを介して前記吐出口まで延びる空気流路と、を有し、前記吸気口の内壁には、複数のフィンが設けられ、前記フィンの長手方向は、空気の流通方向に沿って配置されている。
【発明の効果】
【0010】
本発明によれば、空気流通方向で、エバポレータが送風機の上流側に配置される車両用空調装置において、送風機のブロアモータの周囲の温度を適切な範囲に設定することができる。
【図面の簡単な説明】
(【0011】以降は省略されています)
この特許をJ-PlatPat(特許庁公式サイト)で参照する
関連特許
スズキ株式会社
車両構造
9日前
スズキ株式会社
車両構造
9日前
スズキ株式会社
排気装置
1か月前
スズキ株式会社
車両構造
9日前
スズキ株式会社
車両構造
9日前
スズキ株式会社
車室構造
9日前
スズキ株式会社
車室構造
9日前
スズキ株式会社
車室構造
9日前
スズキ株式会社
排気装置
1か月前
スズキ株式会社
車両構造
9日前
スズキ株式会社
車両構造
9日前
スズキ株式会社
車両構造
9日前
スズキ株式会社
車両構造
9日前
スズキ株式会社
車両前部構造
1か月前
スズキ株式会社
車両側部構造
1か月前
スズキ株式会社
車両側部構造
1か月前
スズキ株式会社
車両前部構造
1か月前
スズキ株式会社
燃料電池車両
17日前
スズキ株式会社
燃料電池車両
17日前
スズキ株式会社
モータケース
1か月前
スズキ株式会社
車両用変速機
1か月前
スズキ株式会社
車両用バンパ
1か月前
スズキ株式会社
運転支援装置
1か月前
スズキ株式会社
車両側部構造
1か月前
スズキ株式会社
動力伝達装置
1か月前
スズキ株式会社
運転支援装置
1か月前
スズキ株式会社
車両検査装置
4日前
スズキ株式会社
車両後部構造
3日前
スズキ株式会社
車両の制御装置
23日前
スズキ株式会社
車両の制御装置
1か月前
スズキ株式会社
車両用制御装置
1か月前
スズキ株式会社
積立金管理装置
1か月前
スズキ株式会社
車両の制御装置
1か月前
スズキ株式会社
車両用空調装置
1か月前
スズキ株式会社
車両用制御装置
1か月前
スズキ株式会社
車両用送風構造
24日前
続きを見る
他の特許を見る