TOP
|
特許
|
意匠
|
商標
特許ウォッチ
Twitter
他の特許を見る
10個以上の画像は省略されています。
公開番号
2025122139
公報種別
公開特許公報(A)
公開日
2025-08-20
出願番号
2025087073,2024205900
出願日
2025-05-26,2017-02-20
発明の名称
時計、計器、機械式ムーブメント、機械式ムーブメントまたは計器用の金属シャフト及びその製造方法
出願人
オメガ・エス アー
代理人
個人
主分類
G04B
13/02 20060101AFI20250813BHJP(時計)
要約
【課題】環境における影響が最小限である時計機構、時計、計測器、およびシャフトを提供する。
【解決手段】金属部品を有する機械式時計または計測器であって、機械式時計機構の部品の各々は、1.01未満の比透磁率を有し、また、ベリリウム銅で構成されるとともに、ベリリウム銅に付与されてベリリウム銅の硬度を向上させる被膜によって硬質化されているか、あるいは非磁性ステンレス鋼で構成された少なくとも1つのシャフト21,24,26部品と、非磁性ステンレス鋼で構成された竜頭部品と、コバルト、クロム、鉄、およびニッケルを主成分とする第1の合金で構成されるバネ、ブリッジ、ヒゲ持ち、および/またはトゥールビヨン部品と、第1の合金またはシリコンで構成されるガンギ車および/またはアンクル部品と、前記シリコンで構成されるテンプの渦巻バネ部品と、チタン合金で構成されるネジ部品とを含む。
【選択図】図1
特許請求の範囲
【請求項1】
1.01未満の比透磁率を有する機械式ムーブメントまたは計器用の金属シャフトであ
って、
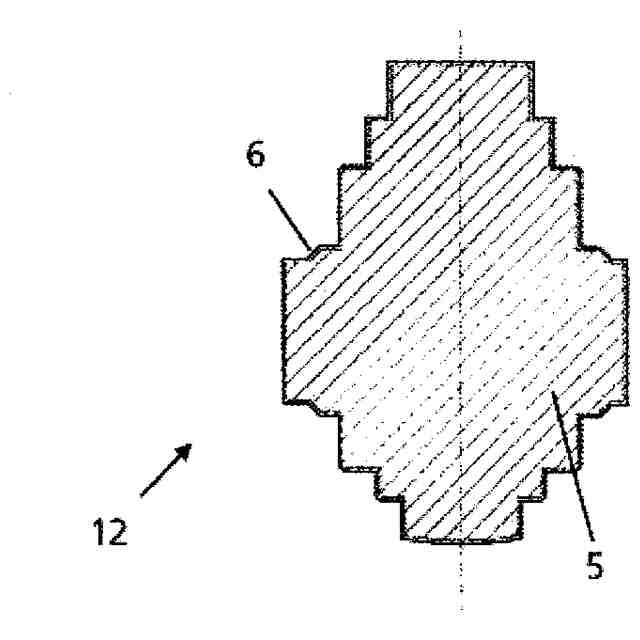
該シャフト(12、21、24、26、33、34、41)は、ベリリウム銅(5)で
作られ、該ベリリウム銅(5)の硬質化のための被膜が施されるか該被膜が前記ベリリウ
ム銅(5)に塗布される
金属シャフト。
続きを表示(約 850 文字)
【請求項2】
前記ベリリウム銅(5)は少なくとも0.2%の鉛を含む
請求項1に記載の金属シャフト。
【請求項3】
前記被膜(6)はニッケル層である
請求項1または2に記載の金属シャフト。
【請求項4】
前記ニッケル層は、10%以上のリンを有する
請求項3に記載の金属シャフト。
【請求項5】
前記ニッケル層は、化学ニッケル層である
請求項1~4のいずれか1項に記載の金属シャフト。
【請求項6】
前記被膜(6)は、アモルファス金属である
請求項1~5のいずれか1項に記載の金属シャフト。
【請求項7】
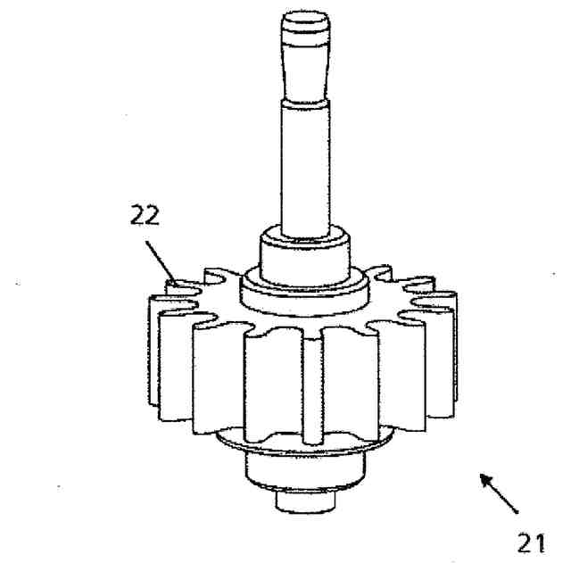
前記シャフトは、ピニオンシャフト(21、24、26、33)である
請求項1~6のいずれか1項に記載の金属シャフト。
【請求項8】
前記ピニオンシャフト(21、24、26、33)は、1つの材料ブロックから作られ
るピニオン(22)とシャフトを有する
請求項7に記載の金属シャフト。
【請求項9】
前記シャフト(12、21、24、26、32、33、41)は、バランスを回転可能
に支持するテン真(41)、アンクル(32)を回転可能に支持するアンクル真(34)
、駆動機構(1)を回転可能に支持する駆動シャフト(12)または巻き上げ機構を回転
可能に支持する巻真である
請求項1~8のいずれか1項に記載の金属シャフト。
【請求項10】
複数の金属部品を有する機械式ムーブメントであって、
前記機械式ムーブメントの各部品は1.01未満の比透磁率を有し、かつ前記機械式ム
ーブメントは請求項1に記載のシャフト(12、21、24、26、33、34、41)
を少なくとも1つ有する
機械式ムーブメント。
(【請求項11】以降は省略されています)
発明の詳細な説明
【技術分野】
【0001】
本発明は、磁気特性を有さない時計機構、時計、および計測装置、ならびにそれらを製
造するための方法およびシャフトに関するものである。
続きを表示(約 2,100 文字)
【背景技術】
【0002】
磁気が望ましくない、さらには危険を伴うような、特定の状況がある。例えば、爆発物
除去の分野では、弱い磁場であっても、十分に爆弾または地雷を起爆させる引き金となる
。従って、爆発物除去の分野で使用する非磁性用具の検査のためNATO規格STANA
G 2897では、全磁力が5nT(ナノテスラ)以下であることを要求している。
【0003】
先行技術による金属部品を用いた電気式または機械式の時計は、必ず磁気特性を有する
。デジタル時計またはクォーツ時計の電流は、このような状況で比較的高い磁場を発生し
、これにより強い磁気特性を形成する。一方、純粋に機械式の時計であっても、使用され
ている金属によって、必ず残留磁気を示し、それだけでも過度に強い磁気特性を形成する
。そのような残留磁気は、日常生活で受ける磁場に起因し、これが金属部品を磁化させる
ことにより、金属部品は、その後は磁場がなくても残留磁気を示す。このため、磁場の影
響を受ける状況では時計を装着することができない。
【0004】
しかしながら、時計業界では、機械式時計の動作に対する磁場の影響を軽減する問題に
のみ重点を置いているので、環境における時計の影響は、あまり知られていない問題であ
る。これまでに、STANAG 2897規格を満たす腕時計は知られていない。
【0005】
機械式時計の動作に対する磁場の影響を軽減する問題を解決するために、時計機構の可
動部品の一部に、1.01未満の比透磁率を有する非磁性材料を使用することが、特許文
献1で知られている。ところが、時計機構のすべての部品が非磁性であるわけではないの
で、そこで開示されているソリューションによって、磁場において時計の良好な機能性は
得られるものの、1.01超の透磁率を有する時計の残りの可動部品および/または非可
動部品が、磁場を離れた後に残留磁気を示すことは避けられない。特に、駆動シャフトに
非磁性材料を使用することについて、ソリューションは開示されていない。
【0006】
特許文献2は、プラスチック射出成形、青銅、またはベリリウム銅で構成される非磁性
の駆動シャフトについて開示している。これらの提案されている非磁性材料は、十分な精
度品質を実現するには、柔らかすぎる。
【0007】
また、非磁性の時計の問題を見過ごしていることに加えて、時計メーカは、時計業界で
知られている非磁性金属が、時計機構における加工性、摩耗、硬度、他の部品との相互作
用などのような様々な要件を満たすことができないため、金属製の時計機構を非磁性金属
のみで実現することは不可能であると考えている。これは、特に、駆動シャフトに使用さ
れる金属について言えることであるが、例えば圧延バネなどのような多様な小部品につい
ても言えることである。例えば、特許文献2で提案されているベリリウム銅は、駆動シャ
フトについて、スイス時計工業規格(NIHS)の多くを満たすには、柔らかすぎる。例
えば、NIHS 91-10規格(2016年改訂版)で規定されている衝撃によって、
駆動シャフトのピニオン(カナ)の歯は曲がる。また、時計機構の機構に作用する力は、
ベリリウム銅で構成された駆動シャフトには大きすぎるため、ピニオンのホゾおよび歯の
係合領域が短時間で摩耗し、NIHS規格が要求する精度を満たさなくなる。従って、こ
のような損耗によって、このような時計は、時計が磁場を受けるかどうかに関わりなく日
差30秒の精度が要求される非磁性の時計のためのNIHS 90-10規格(2003
年改訂版)を、極めて早急に満たさなくなる。このように、これまで、STANAG 2
897規格を満たすと同時にNIHS 91-10の耐衝撃性規格を満たし、かつ/また
は、非磁性の時計のためのNIHS 90-10のようないくつかの規格で要求される6
ヶ月使用後の精度を示す腕時計は知られていない。
【0008】
同様の問題は、例えば深度計、圧力計、速度計、または高度計のような他の計測器にお
いても生じる。
【先行技術文献】
【特許文献】
【0009】
独国特許第1932257号明細書
米国特許第3620005号明細書
【発明の概要】
【発明が解決しようとする課題】
【0010】
よって、目的は、環境における影響が最小限である時計機構、時計、計測器、およびシ
ャフトを見出すことである。
【課題を解決するための手段】
(【0011】以降は省略されています)
この特許をJ-PlatPat(特許庁公式サイト)で参照する
関連特許
オメガ・エス アー
時計の複数の機能を操作するための装置
5か月前
オメガ・エス アー
金で作られた計時器、宝石又はジェムストーンジュエリ
2か月前
オメガ・エス アー
時計、計器、機械式ムーブメント、機械式ムーブメントまたは計器用の金属シャフト及びその製造方法
2か月前
個人
砂時計
1か月前
個人
目覚し時計
2か月前
個人
時刻同期システム
1か月前
セイコーウオッチ株式会社
時計
17日前
セイコーエプソン株式会社
電子時計
2か月前
セイコーエプソン株式会社
電子時計
17日前
ローム株式会社
時間測定回路
18日前
シチズン時計株式会社
腕時計
16日前
株式会社村田製作所
光学的パターン表示物品
23日前
シチズン時計株式会社
電子時計
1か月前
セイコーエプソン株式会社
電子制御式機械時計
25日前
シチズン時計株式会社
機械式時計
2か月前
シチズン時計株式会社
機械式時計
1か月前
カシオ計算機株式会社
装飾板及び時計
24日前
セイコーエプソン株式会社
機械式時計
1か月前
カシオ計算機株式会社
制御装置、制御方法、及びプログラム
24日前
セイコータイムクリエーション株式会社
からくり時計
23日前
カシオ計算機株式会社
機器ケース及び時計
1か月前
カシオ計算機株式会社
機器ケース及び時計
2か月前
セイコーエプソン株式会社
時計および風防部材の製造方法
18日前
セイコーエプソン株式会社
インデックス、文字板、及び時計
1か月前
カシオ計算機株式会社
外装部品ユニット及び時計
23日前
カシオ計算機株式会社
電子時計及び電子時計本体
1か月前
セイコーウオッチ株式会社
時計、音声再生方法およびプログラム
1か月前
カシオ計算機株式会社
電子時計、外装部材及びバンド
1か月前
カシオ計算機株式会社
指針、時計、及び指針の製造方法
1か月前
セイコーエプソン株式会社
時計用部品、および、時計
1か月前
セイコーエプソン株式会社
機械式時計及び機械式時計の組み立て方法
2か月前
東邦瓦斯株式会社
ウェアラブル機器用防熱カバー
2か月前
カシオ計算機株式会社
時計、表示制御方法及びプログラム
1か月前
セイコーエプソン株式会社
時計用部品、時計および時計用部品の製造方法
2か月前
セイコーウオッチ株式会社
スイッチ機構、時計用ムーブメントおよび時計
17日前
カシオ計算機株式会社
外装部品、外装部品ユニット及び時計
23日前
続きを見る
他の特許を見る