TOP
|
特許
|
意匠
|
商標
特許ウォッチ
Twitter
他の特許を見る
10個以上の画像は省略されています。
公開番号
2025120945
公報種別
公開特許公報(A)
公開日
2025-08-18
出願番号
2025083150,2024015509
出願日
2025-05-19,2024-02-05
発明の名称
直線精度測定装置
出願人
大豊建設株式会社
代理人
個人
,
個人
主分類
G01C
15/10 20060101AFI20250808BHJP(測定;試験)
要約
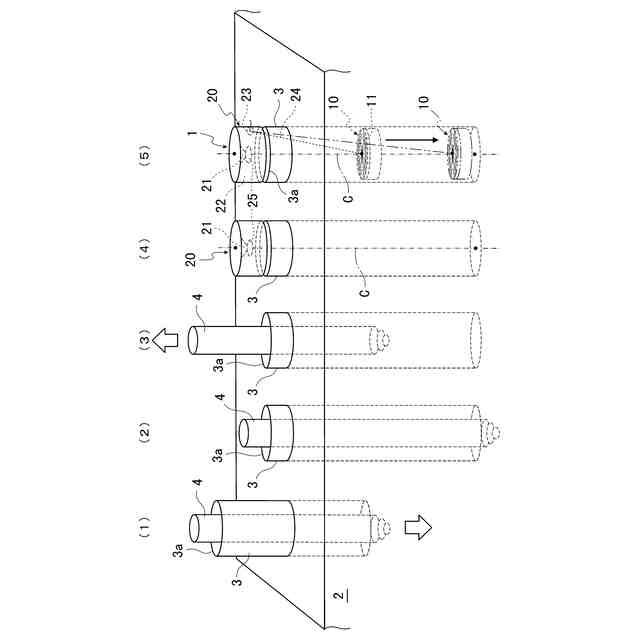
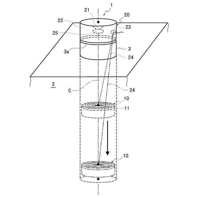
【課題】構造を簡素化し、管状体の直線精度を容易に判別可能で、汎用性の高い直線精度測定装置を提供する。
【解決手段】直線精度測定装置1は、地中に埋設された管状体の軸方向の各位置における偏芯状態を測定する測定手段21,30,31と、測定手段21,30,31によって測定された管状体の軸方向の各位置における前記偏芯状態を記憶する記憶手段である記憶部33と、この記憶部33に記憶された軸方向の各位置における偏芯状態に基づいて管状体の軸方向全体の曲がり状態を表示する表示手段である表示部32と、を備える。
【選択図】図4
特許請求の範囲
【請求項1】
地中に埋設された管状体の軸方向の各位置における偏芯状態を測定する測定手段と、
前記測定手段によって測定された前記管状体の軸方向の各位置における前記偏芯状態を記憶する記憶手段と、
前記記憶手段に記憶された前記軸方向の各位置における前記偏芯状態に基づいて前記管状体の軸方向全体の曲がり状態を表示する表示手段と、
を備えることを特徴とする直線精度測定装置。
続きを表示(約 450 文字)
【請求項2】
前記測定手段は、前記管状体の軸方向の各位置における前記偏芯状態の画像を撮像する撮像手段を有し、
前記撮像手段によって撮像された前記管状体の各位置における前記偏芯状態の画像を前記表示手段に表示するように構成されていることを特徴とする請求項1に記載の直線精度測定装置。
【請求項3】
前記管状体の内周側を該管状体の軸芯に沿って移動可能に設けられ、その移動方向の後端面が識別面となる移動部材を有し、
前記測定手段は、
前記移動部材が前記管状体の軸方向に沿って移動したときの前記識別面の画像を撮像する撮像手段と、
前記管状体の偏芯していない位置での前記撮像手段によって撮像された原点位置画像に対して、前記移動部材が前記管状体の開口端から移動した任意の距離における撮像画像の欠損状況及び撮像中心位置のずれの少なくとも一方に基づいて前記管状体の軸方向の偏芯状態を判別する判別手段と、
を備えることを特徴とする請求項1に記載の直線精度測定装置。
発明の詳細な説明
【技術分野】
【0001】
本発明は、例えば削孔された円筒形のケーシングの直線精度を測定するための直線精度測定装置に関する。
続きを表示(約 1,800 文字)
【背景技術】
【0002】
従来、建設工事において、土中へ鉛直方向、水平方向、もしくは任意の方向にボーリングマシン等で削孔を行うと、ボーリングマシンの据付精度の問題や、回転方向に螺旋状に偏移したりすることで、計画線形通りに削孔されないことがある。このように計画線からのずれが生じると、品質上の問題を起こすことがあるため、削孔後及び削孔中の少なくとも一方の直線精度を測定することが重要な管理項目となっている。従来から確立された測定方法としては、連続傾斜計を利用する方法等があるが、この方法は傾斜計を挿入する等の測定手間が複雑で時間を要するとともに、費用も多く掛かってしまうため、なかなか普及してこないのが現状である。
【0003】
また、従来、この種の直線精度測定装置には、例えば特許文献1に記載された技術がある。この装置は、鋼管の上部に設けられたレーザー鉛直器と、鋼管の外形と略同じ大きさで形成されたガイド材と、このガイド材に設けられ、レーザー鉛直器から照射されるレーザー光を受光するターゲットと、このターゲットに照射されたレーザー光の到達位置を撮影するための撮像装置と、この撮像装置により撮影した映像を表示するための表示装置と、を備えている。
【先行技術文献】
【特許文献】
【0004】
特許第5332943号公報
【発明の概要】
【発明が解決しようとする課題】
【0005】
しかしながら、特許文献1に記載された直線精度測定装置は、ダイヤフラム上に設置された受光板を撮像装置で撮影し、その映像を上記表示装置に表示してレーザー光の照射されたスポット位置が点マーカからどの向きへどれだけずれているかを読み取ることから、構造が複雑化し、ずれ幅を識別し難く、また鋼管を横方向に配置したものには適用できず、汎用性に欠けるという問題がある。
【0006】
本発明は、上記事情を考慮してなされたものであり、構造を簡素化し、管状体の直線精度を容易に判別可能で、汎用性の高い直線精度測定装置を提供することを目的とする。
【課題を解決するための手段】
【0007】
上記課題を解決するため、本発明の請求項1に記載の発明は、地中に埋設された管状体の軸方向の各位置における偏芯状態を測定する測定手段と、前記測定手段によって測定された前記管状体の軸方向の各位置における前記偏芯状態を記憶する記憶手段と、前記記憶手段に記憶された前記軸方向の各位置における前記偏芯状態に基づいて前記管状体の軸方向全体の曲がり状態を表示する表示手段と、を備えることを特徴とする。
【0008】
また、本発明の請求項2に記載の発明は、請求項1に記載の構成に加え、前記測定手段は、前記管状体の軸方向の各位置における前記偏芯状態の画像を撮像する撮像手段を有し、前記撮像手段によって撮像された前記管状体の各位置における前記偏芯状態の画像を前記表示手段に表示するように構成されていることを特徴とする。
【0009】
また、本発明の請求項3に記載の発明は、請求項1に記載の構成に加え、前記管状体の内周側を該管状体の軸芯に沿って移動可能に設けられ、その移動方向の後端面が識別面となる移動部材を有し、前記測定手段は、前記移動部材が前記管状体の軸方向に沿って移動したときの前記識別面の画像を撮像する撮像手段と、前記管状体の偏芯していない位置での前記撮像手段によって撮像された原点位置画像に対して、前記移動部材が前記管状体の開口端から移動した任意の距離における撮像画像の欠損状況及び撮像中心位置のずれの少なくとも一方に基づいて前記管状体の軸方向の偏芯状態を判別する判別手段と、を備えることを特徴とする。
【発明の効果】
【0010】
本発明の請求項1に記載の発明によれば、地中に埋設された管状体の軸方向の各位置における偏芯状態を測定手段により測定し、この測定手段によって測定された管状体の軸方向の各位置における偏芯状態を記憶手段に記憶し、この記憶手段に記憶された軸方向の各位置における偏芯状態に基づいて管状体の軸方向全体の曲がり状態を表示手段に表示することにより、構造を簡素化し、管状体の直線精度を容易に判別可能で、汎用性を高めることが可能となる。
(【0011】以降は省略されています)
この特許をJ-PlatPat(特許庁公式サイト)で参照する
関連特許
大豊建設株式会社
管理土圧の逐次更新システム
9日前
大豊建設株式会社
直線精度測定装置
1か月前
大豊建設株式会社
ニューマチックケーソン工事における遠隔掘削マルチタスクシステム
13日前
個人
メジャー文具
5日前
日本精機株式会社
位置検出装置
11日前
ユニパルス株式会社
ロードセル
4日前
日本精機株式会社
位置検出装置
11日前
日本精機株式会社
位置検出装置
11日前
大和製衡株式会社
組合せ秤
16日前
大和製衡株式会社
組合せ秤
16日前
アズビル株式会社
圧力センサ
10日前
株式会社東芝
センサ
16日前
株式会社ヨコオ
ソケット
3日前
エイブリック株式会社
磁気センサ回路
10日前
株式会社ヨコオ
ソケット
4日前
株式会社東芝
センサ
16日前
ダイキン工業株式会社
監視装置
2日前
株式会社チノー
放射光測温装置
4日前
トヨタ自動車株式会社
表示装置
25日前
株式会社ユーシン
操作検出装置
13日前
トヨタ自動車株式会社
監視装置
3日前
トヨタ自動車株式会社
検査装置
13日前
TDK株式会社
ガスセンサ
9日前
東レエンジニアリング株式会社
計量装置
13日前
株式会社ナリス化粧品
角層細胞採取用具
23日前
TDK株式会社
ガスセンサ
4日前
株式会社東芝
重量測定装置
9日前
個人
粘塑性を用いた有限要素法の定式化
25日前
TDK株式会社
ガスセンサ
10日前
TDK株式会社
磁気センサ
3日前
ダイハツ工業株式会社
移動支援装置
3日前
三菱マテリアル株式会社
温度センサ
23日前
株式会社関電工
検相器用治具
1か月前
成田空港給油施設株式会社
保持治具
24日前
TDK株式会社
磁気計測装置
24日前
日本特殊陶業株式会社
センサ
2日前
続きを見る
他の特許を見る