TOP
|
特許
|
意匠
|
商標
特許ウォッチ
Twitter
他の特許を見る
公開番号
2025120738
公報種別
公開特許公報(A)
公開日
2025-08-18
出願番号
2024015783
出願日
2024-02-05
発明の名称
仮設部材割付方法及び仮設部材割付プログラム
出願人
鹿島建設株式会社
代理人
弁理士法人後藤特許事務所
主分類
G06Q
50/08 20120101AFI20250808BHJP(計算;計数)
要約
【課題】コンクリート構造物を施工する際に用いられる仮設部材の数量を精度良く把握する。
【解決手段】仮設部材割付方法は、コンクリート構造物1の設計データに基づいて仮設部材が設置される設置面を抽出する設置面抽出ステップと、抽出された設置面に仮設部材を割り付ける割付ステップと、を含み、設置面抽出ステップでは、仮設部材が設置される時期が異なる2つ以上の設置面が抽出され、割付ステップでは、設置面抽出ステップにおいて抽出された2つ以上の設置面に対して同一の仮設部材が用いられる数量が最も多くなるように仮設部材の割り付けが行われる。
【選択図】図4
特許請求の範囲
【請求項1】
コンクリート構造物を施工する際に用いられる仮設部材を割り付ける仮設部材割付方法であって、
前記コンクリート構造物の設計データに基づいて前記仮設部材が設置される設置面を抽出する設置面抽出ステップと、
抽出された前記設置面に前記仮設部材を割り付ける割付ステップと、を含み、
前記設置面抽出ステップでは、前記仮設部材が設置される時期が異なる2つ以上の前記設置面が抽出され、
前記割付ステップでは、前記設置面抽出ステップにおいて抽出された2つ以上の前記設置面に対して同一の前記仮設部材が用いられる数量が最も多くなるように前記仮設部材の割り付けが行われる、
仮設部材割付方法。
続きを表示(約 610 文字)
【請求項2】
前記割付ステップでは、定形の前記仮設部材が用いられる数量が最も多くなるように前記設置面に対して前記仮設部材の割り付けが行われる、
請求項1に記載の仮設部材割付方法。
【請求項3】
前記仮設部材の割付結果を出力する出力ステップをさらに含み、
前記仮設部材は、型枠であり、
前記割付ステップでは、前記設置面に対して定形及び非定形の前記型枠が割り付けられ、
前記出力ステップでは、非定形の前記型枠の形状が出力される、
請求項1または2に記載の仮設部材割付方法。
【請求項4】
コンクリート構造物を施工する際に用いられる仮設部材を割り付ける仮設部材割付プログラムであって、
コンピュータに、
前記コンクリート構造物の設計データに基づいて前記仮設部材が設置される設置面を抽出する設置面抽出ステップと、
抽出された前記設置面に前記仮設部材を割り付ける割付ステップと、を実行させ、
前記設置面抽出ステップでは、前記仮設部材が設置される時期が異なる2つ以上の前記設置面が抽出され、
前記割付ステップでは、前記設置面抽出ステップにおいて抽出された2つ以上の前記設置面に対して同一の前記仮設部材が用いられる数量が最も多くなるように前記仮設部材の割り付けが行われる、
仮設部材割付プログラム。
発明の詳細な説明
【技術分野】
【0001】
本発明は、コンクリート構造物を施工する際に用いられる仮設部材の割付方法及び割付プログラムに関する。
続きを表示(約 1,600 文字)
【背景技術】
【0002】
特許文献1には、建造物の設計データに基づいて、建造物を施工する際に用いられる型枠や足場の位置を表示可能な施工計画管理システムが開示されている。
【先行技術文献】
【特許文献】
【0003】
特開平7-247688号公報
【発明の概要】
【発明が解決しようとする課題】
【0004】
特許文献1に記載される施工計画管理システムでは、建造物を施工する際に用いられる型枠や足場の位置を把握することは可能ではあるものの、必要とされる型枠や足場の数量については不明である。使用される型枠等の数量については、例えば、型枠等が設置される面積に基づいて算出することは可能であるが、型枠や足場といった仮設部材は、ある程度繰り返し使用されることから、算出された数量の型枠等を単に発注してしまうと無駄が生じてしまうこととなり、結果として、施工コストが増大するおそれがある。一方、繰り返し使用されることを勘案して、必要とされる型枠や足場の数量を厳密に算出することも可能ではあるが、多大な労力を要することになるとともに、建造物の設計が変更される度に算出をやり直す必要が生じることになる。
【0005】
本発明は、コンクリート構造物を施工する際に用いられる仮設部材の必要な数量を精度良く把握することを目的とする。
【課題を解決するための手段】
【0006】
本発明は、コンクリート構造物を施工する際に用いられる仮設部材を割り付ける仮設部材割付方法であって、コンクリート構造物の設計データに基づいて仮設部材が設置される設置面を抽出する設置面抽出ステップと、抽出された設置面に仮設部材を割り付ける割付ステップと、を含み、設置面抽出ステップでは、仮設部材が設置される時期が異なる2つ以上の設置面が抽出され、割付ステップでは、設置面抽出ステップにおいて抽出された2つ以上の設置面に対して同一の仮設部材が用いられる数量が最も多くなるように仮設部材の割り付けが行われる。
【0007】
また、本発明は、コンクリート構造物を施工する際に用いられる仮設部材を割り付ける仮設部材割付プログラムであって、コンピュータに、コンクリート構造物の設計データに基づいて仮設部材が設置される設置面を抽出する設置面抽出ステップと、抽出された設置面に仮設部材を割り付ける割付ステップと、を実行させ、設置面抽出ステップでは、仮設部材が設置される時期が異なる2つ以上の設置面が抽出され、割付ステップでは、設置面抽出ステップにおいて抽出された2つ以上の設置面に対して同一の仮設部材が用いられる数量が最も多くなるように仮設部材の割り付けが行われる。
【発明の効果】
【0008】
本発明によれば、コンクリート構造物を施工する際に用いられる仮設部材の必要な数量を精度良く把握することができる。
【図面の簡単な説明】
【0009】
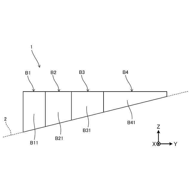
本発明の実施形態に係る仮設部材割付方法が適用されるコンクリート構造物の一例を示した図である。
本発明の実施形態に係る仮設部材割付方法で実行される工程を示したフローチャートである。
コンクリート構造物をブロック体に分割する工程について説明するための図である。
ブロック体の施工に必要な仮設部材を割り付ける工程について説明するための図であり、割り付けの一例を示す図である。
ブロック体の施工に必要な仮設部材を割り付ける工程について説明するための図であり、割り付けの他の例を示す図である。
【発明を実施するための形態】
【0010】
以下、図面を参照して、本発明の実施形態に係る仮設部材割付方法及び仮設部材割付プログラムについて説明する。
(【0011】以降は省略されています)
この特許をJ-PlatPat(特許庁公式サイト)で参照する
関連特許
鹿島建設株式会社
解体方法
3日前
鹿島建設株式会社
制震架構
6日前
鹿島建設株式会社
過重力施設
6日前
鹿島建設株式会社
空調システム
18日前
鹿島建設株式会社
シールド掘進機
11日前
鹿島建設株式会社
ワイヤレス給電システム
21日前
鹿島建設株式会社
接続方法および接続構造
6日前
鹿島建設株式会社
橋、および橋の製造方法
4日前
鹿島建設株式会社
鋼管柱の接合方法、及び鋼管柱
4日前
鹿島建設株式会社
水硬性硬化体の炭酸化養生システム
3日前
鹿島道路株式会社
コンクリート舗装の養生方法
12日前
鹿島道路株式会社
コンクリート舗装の養生方法
12日前
鹿島建設株式会社
環境音モニタ装置、環境音モニタ方法及びプログラム
3日前
ケイミューシポレックス株式会社
軽量気泡コンクリートの製造方法
11日前
鹿島建設株式会社
生物生息場構造体、生物生息場構造、生物生息場構造体の引き上げ方法
21日前
Haloworld株式会社
マップ作成システム及び自動走行システム
13日前
鹿島建設株式会社
光ファイバー設置構造、コンクリート部材養生方法、損傷評価方法及び構造特性評価方法
4日前
個人
詐欺保険
6日前
個人
縁伊達ポイン
6日前
個人
QRコードの彩色
10日前
個人
地球保全システム
19日前
個人
冷凍食品輸出支援構造
1か月前
個人
為替ポイント伊達夢貯
1か月前
個人
残土処理システム
12日前
個人
表変換編集支援システム
1か月前
個人
農作物用途分配システム
5日前
個人
知財出願支援AIシステム
1か月前
個人
知的財産出願支援システム
13日前
個人
パスワード管理支援システム
1か月前
個人
行動時間管理システム
1か月前
株式会社キーエンス
受発注システム
18日前
個人
システム及びプログラム
1か月前
個人
食品レシピ生成システム
18日前
個人
AIキャラクター制御システム
1か月前
株式会社キーエンス
受発注システム
18日前
個人
海外支援型農作物活用システム
1か月前
続きを見る
他の特許を見る