TOP
|
特許
|
意匠
|
商標
特許ウォッチ
Twitter
他の特許を見る
10個以上の画像は省略されています。
公開番号
2025120004
公報種別
公開特許公報(A)
公開日
2025-08-15
出願番号
2024015188
出願日
2024-02-02
発明の名称
パルス電流発生装置及びパルス電流発生方法
出願人
国立大学法人 熊本大学
,
学校法人早稲田大学
代理人
個人
,
個人
,
個人
,
個人
,
個人
主分類
B09B
5/00 20060101AFI20250807BHJP(固体廃棄物の処理;汚染土壌の再生)
要約
【課題】効率よく積層体の材料を分離する。
【解決手段】薄膜と接続され、前記薄膜にパルス電流を印加することで前記薄膜と前記薄膜に接着される結着層とを分離するパルス電流発生装置であって、前記薄膜と前記結着層とを接着する接着剤の温度が融点に達するタイミングで、前記パルス電流を遮断する、パルス電流発生装置。
【選択図】図1
特許請求の範囲
【請求項1】
薄膜と接続され、前記薄膜にパルス電流を印加することで前記薄膜と前記薄膜に接着される結着層とを分離するパルス電流発生装置であって、
前記薄膜と前記結着層とを接着する接着剤の温度が融点に達するタイミングで、前記パルス電流を遮断する、
パルス電流発生装置。
続きを表示(約 230 文字)
【請求項2】
前記接着剤の温度が融点に達するタイミングは、前記薄膜、前記結着層及び前記接着剤の熱伝導のシミュレーションにより算出される、
請求項1に記載のパルス電流発生装置。
【請求項3】
薄膜にパルス電流を印加することで前記薄膜と前記薄膜に接着される結着層とを分離するパルス電流発生方法であって、
前記薄膜と前記結着層とを接着する接着剤の温度が融点に達するタイミングで、前記パルス電流を遮断する、
パルス電流発生方法。
発明の詳細な説明
【技術分野】
【0001】
本発明は、パルス電流発生装置及びパルス電流発生方法に関する。
続きを表示(約 1,600 文字)
【背景技術】
【0002】
効率よく資源を回収するために、リチウムイオン電池などの積層体から有用物質を回収することが求められている。積層体の材料を分離する方法として、高電圧パルスを印加する方法が知られている(例えば特許文献1)。
【先行技術文献】
【特許文献】
【0003】
特開2022-106024号公報
【発明の概要】
【発明が解決しようとする課題】
【0004】
しかしながら、減衰振動のある電流を対象物に流した場合、効率よく積層体の材料を分離できないことがある。
本発明の目的は、効率よく積層体の材料を分離するパルス電流発生装置及びパルス電流発生方法を提供することにある。
【課題を解決するための手段】
【0005】
本発明の一態様は、薄膜と接続され、前記薄膜にパルス電流を印加することで前記薄膜と前記薄膜に接着される結着層とを分離するパルス電流発生装置であって、前記薄膜と前記結着層とを接着する接着剤の温度が融点に達するタイミングで、前記パルス電流を遮断する、パルス電流発生装置である。
【発明の効果】
【0006】
本発明によれば、効率よく積層体の材料を分離することができる。
【図面の簡単な説明】
【0007】
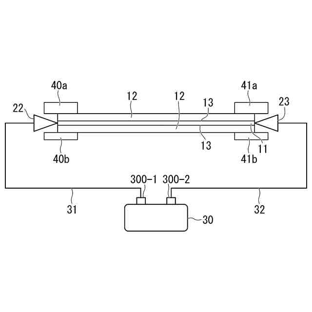
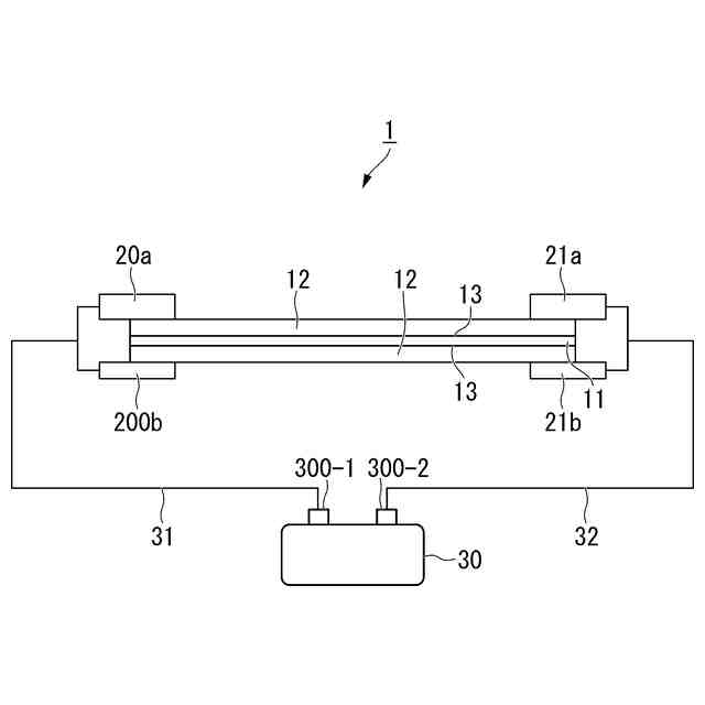
積層体に接続されたパルス電流発生装置を示す図である。
電極が積層体を挟み込んで接触している状態の上面模式図である。
積層体に接続されたパルス電流発生装置を示す別の図である。
熱伝導のシミュレーション結果の一例を示す図である。
パルス電流発生装置が薄膜に流す電流を示す図である。
実験結果を示す図である。
実験結果を示す図である。
【発明を実施するための形態】
【0008】
以下、図面を参照しながら本発明の実施形態について詳しく説明する。
図1は、積層体に接続されたパルス電流発生装置30を示す図である。図1において、積層体1は、薄膜11、結着層12及び接着剤13からなる、積層体1は例えばリチウムイオンバッテリーの正極であり、薄膜11はアルミ箔、結着層12は正極活物質(Positive Electrode Active Material, PEAM)、接着剤13はPVDFである。この積層体1の端部を電極20a、20b、21a、および21bにより挟み込んで、これら電極を積層体1に接触させる。図2は、電極が積層体1を挟み込んで接触している状態の上面模式図である。図1および2において、正電極および負電極の双方とも面で積層体1に接触している。これら電極は、ケーブル31および32を介してパルス電流発生装置30の出力端子300に接続される。パルス電流発生装置30は、出力端子300からパルス電流を出力し、積層体1にパルス電流を流す。パルス電流発生装置30の回路構成については、所望のパルス電流を出力できればよく、限定されない。
【0009】
図3は、積層体に接続されたパルス電流発生装置30を示す別の図である。図3において、電極22および23は薄膜11に「点」で接触している。図3において、積層体1は固定具40a、40b、41a、および41bにより挟み込んで固定されている。高電圧パルス発生装置30は、積層体1に図1に示される面で接触された電極又は図3に示される点で接触された電極により、薄膜11にパルス電流を流す。電極22および23が結着層12に接触し、結着層12に電流を流してもよい。
【0010】
薄膜11にパルス電流が流れると、薄膜11が熱を発生し、結着層12や接着剤13にも熱が伝導する。薄膜11から結着層12や接着剤13への熱伝導は、熱伝導シミュレーションモデルを作成することでシミュレートすることができる。
(【0011】以降は省略されています)
この特許をJ-PlatPat(特許庁公式サイト)で参照する
関連特許
国立大学法人 熊本大学
薬剤及び医薬組成物
12か月前
国立大学法人 熊本大学
加工方法及び加工装置
2か月前
国立大学法人 熊本大学
塑性加工金属の製造方法
2か月前
国立大学法人 東京大学
推定装置、及びプログラム
1か月前
国立大学法人 熊本大学
Staple核酸の新規用途
5か月前
国立大学法人 熊本大学
TRPC6の発現を抑制する方法
9か月前
国立大学法人 熊本大学
非アルコール性脂肪性肝疾患治療薬
11か月前
JSCテクノロジー株式会社
冷却装置
9か月前
アンリツ株式会社
光てこ感度の決定方法
8か月前
国立大学法人 熊本大学
チップ型耐熱音響センサ及びその製造方法
5か月前
国立大学法人 熊本大学
拍動分析装置、拍動分析方法及びプログラム
1か月前
国立大学法人 熊本大学
パルス電流発生装置及びパルス電流発生方法
3か月前
国立大学法人 熊本大学
高機能性モルタル組成物及びモルタル硬化体
9か月前
国立大学法人 熊本大学
クリック反応素子AOCN誘導体又はその塩
2か月前
国立大学法人 熊本大学
プログラマブル論理回路装置及びその構成方法
8か月前
国立大学法人 熊本大学
メタボリックメモリーの評価方法及び評価システム
7か月前
国立大学法人 熊本大学
焼灼位置決定装置、焼灼位置決定方法及びプログラム
4日前
国立大学法人 熊本大学
情報処理方法、情報処理装置、機械学習モデルの作成方法
2か月前
本田技研工業株式会社
正極集電体と正極合材の剥離装置
1か月前
国立大学法人 熊本大学
音響センサの取り付け部材及び音響センサの取り付け方法
6か月前
大陽日酸株式会社
多孔性金属錯体含有膜及びその製造方法
4か月前
国立大学法人 熊本大学
カイコを用いた糖代謝異常処置剤の評価方法およびその応用
5か月前
国立大学法人 熊本大学
パルス発生回路、基板処理装置、およびエネルギー回生方法
8か月前
国立大学法人 熊本大学
カイコを用いた脂質代謝異常処置剤の評価方法およびその応用
5か月前
国立大学法人 熊本大学
生体振動情報モニタリング方法及び生体振動情報モニタリング装置
6か月前
国立大学法人 熊本大学
ステント及びその製造方法
7か月前
国立大学法人 熊本大学
固体電解質型ガスセンサ素子及びその製造方法、並びに固体電解質型ガスセンサ
1か月前
三菱電機エンジニアリング株式会社
推論モデル生成装置及び推論モデル生成方法
10か月前
国立大学法人 熊本大学
極小ナノ粒子および極小ナノ粒子溶液
2か月前
国立研究開発法人産業技術総合研究所
二次元材料を含むトランジスタとその製造方法
7か月前
国立大学法人 熊本大学
抗原ペプチド、核酸、ベクター、HLA/抗原ペプチド複合体、検出試薬、医薬組成物
6か月前
積水化学工業株式会社
黒色フィルム用組成物、黒色フィルム及び黒色フィルムの製造方法
2か月前
三菱電機エンジニアリング株式会社
ニューラルネットワーク作成装置およびニューラルネットワーク作成方法
8か月前
国立大学法人 熊本大学
アルツハイマー病予防剤又は治療剤、アルツハイマー病予防用又は治療用組成物、及び方法
1か月前
国立大学法人 熊本大学
GM1ガングリオシドーシス予防剤又は治療剤、及びGM1ガングリオシドーシス予防用又は治療用組成物
10か月前
トヨタ自動車株式会社
空箱処理装置
3か月前
続きを見る
他の特許を見る