TOP
|
特許
|
意匠
|
商標
特許ウォッチ
Twitter
他の特許を見る
10個以上の画像は省略されています。
公開番号
2025119953
公報種別
公開特許公報(A)
公開日
2025-08-15
出願番号
2024015103
出願日
2024-02-02
発明の名称
画像形成装置
出願人
東芝テック株式会社
代理人
弁理士法人鈴榮特許綜合事務所
主分類
B41J
29/38 20060101AFI20250807BHJP(印刷;線画機;タイプライター;スタンプ)
要約
【課題】メディアに付された無線タグとの無線通信の活用により効率化又は利便性の向上を図ることができる画像形成装置を提供すること。
【解決手段】実施形態に係る画像形成装置は、供給部、通信部、画像形成部、排出部、及びプロセッサを備える。前記供給部は、無線タグが付されたメディアを供給する。前記通信部は、第1の通信モードの設定に基づき前記無線タグと通信するための第1の出力の電波を送信し、第2の通信モードの設定に基づき前記無線タグと通信するための前記第1の出力より高い第2の出力の電波を送信する。前記画像形成部は、前記メディアに画像を形成する。前記排出部は、画像が形成された前記メディアを受け取り部へ排出する。前記プロセッサは、画像形成ジョブの動作タイミングに応じて前記第1の通信モードを設定し、前記動作タイミングを除く第1のメディア検出タイミングに応じて前記第2の通信モードを設定し、前記第1又は第2の通信モードによる通信結果に応じた信号を出力する。
【選択図】 図1
特許請求の範囲
【請求項1】
無線タグが付されたメディアを供給する供給部と、
第1の通信モードの設定に基づき前記無線タグと通信するための第1の出力の電波を送信し、第2の通信モードの設定に基づき前記無線タグと通信するための前記第1の出力より高い第2の出力の電波を送信する通信部と、
前記メディアに画像を形成する画像形成部と、
画像が形成された前記メディアを受け取り部へ排出する排出部と、
画像形成ジョブの動作タイミングに応じて前記第1の通信モードを設定し、前記動作タイミングを除く第1のメディア検出タイミングに応じて前記第2の通信モードを設定し、前記第1又は第2の通信モードによる通信結果に応じた信号を出力するプロセッサと、
を備える画像形成装置。
続きを表示(約 750 文字)
【請求項2】
前記プロセッサは、前記第1の通信モードによる通信後の第2のメディア検出タイミングに応じて前記第2の通信モードを設定する、請求項1の画像形成装置。
【請求項3】
前記通信部は、前記電波を送信するアンテナを備え、
前記第1の出力は、前記供給部から前記受け取り部までの間に位置し、且つ前記アンテナから第1の距離に位置する第1の通信領域を通過又は一時停止する前記メディアの前記無線タグと通信するための電波出力であり、
前記第2の出力は、前記受け取り部に位置し、且つ前記アンテナから前記第1の距離より遠い第2の距離に位置する第2の通信領域の前記メディアの前記無線タグと通信するための電波出力である、請求項1の画像形成装置。
【請求項4】
前記プロセッサは、
前記排出部により排出された排出メディアをカウントしたカウント値をメモリに記憶し、前記カウント値が閾値を超える場合に超過を示す信号を出力し、
前記第2の通信モードによる通信結果に基づき前記受け取り部にメディアが無いことを検出した場合に前記カウント値をクリアする信号を出力する、請求項1の画像形成装置。
【請求項5】
前記プロセッサは、
第1のサイズのメディアの検出に基づき、前記メディア検出タイミングに応じて前記第2の通信モードを設定し、
前記第1のサイズより大きい第2のサイズのメディアの検出に基づき、前記メディア検出タイミングに応じて第3の通信モードを設定し、
前記通信部は、
前記第3の通信モードの設定に基づき前記無線タグと通信するための前記第2の出力より高い第3の出力の電波を送信する、請求項1の画像形成装置。
発明の詳細な説明
【技術分野】
【0001】
本発明の実施形態は、画像形成装置に関する。
続きを表示(約 2,300 文字)
【背景技術】
【0002】
近年、RFID(Radio Frequency Identifier)技術を用いた無線タグが普及し、無線タグが付されたメディアを処理する無線タグ対応の画像形成装置について様々な提案がなされている。画像形成装置は、メディアの無線タグと無線通信するリーダライタを備える。また、画像形成装置は、カセットに無線タグ付きのメディアを収容し、リーダライタにより、機体内部を搬送されるメディアの無線タグから情報を読み取り、また搬送されるメディアの無線タグへ情報を書き込む。さらに、画像形成装置は、無線タグ付きのメディアに画像を形成し、画像が形成されたメディアを排出トレイに排出する。
【0003】
例えば、画像形成装置は、オプショントレイと接続し、オプショントレイの光学センサからの信号に基づき、オプショントレイに排出されたメディアの蓄積状況を検出する。或いは、画像形成装置は、排出されるメディアの枚数をカウントして、排出トレイに排出されたメディアの蓄積状況を検出する。或いは、画像形成装置は、排出されるメディアの無線タグと通信して、排出トレイに排出されたメディアの蓄積状況を検出する。
【先行技術文献】
【特許文献】
【0004】
特開2015-193484号公報
特開2005-201968号公報
【発明の概要】
【発明が解決しようとする課題】
【0005】
画像形成装置にオプショントレイが接続されていない場合、オプショントレイを利用してメディアの蓄積状況を検出することはできない。オプショントレイを利用しないとしても、画像形成装置の排出トレイ上のメディアを検出する光学センサが必要となる。排出されるメディアのカウント値を利用してメディアの積載状況を正確に検出するためには、排出トレイに排出されたメディアの持ち去りを光学センサ等で検出する必要がある。また、機体内部を搬送されるメディアの無線タグと通信するリーダライタでは、その電波出力が不足し、排出トレイに排出されたメディアの無線タグと通信できず、積載状況を正しく検出できないことがある。
【0006】
本発明が解決しようとする課題は、メディアに付された無線タグとの無線通信の活用により効率化又は利便性の向上を図ることができる画像形成装置を提供することである。
【課題を解決するための手段】
【0007】
実施形態に係る画像形成装置は、供給部、通信部、画像形成部、排出部、及びプロセッサを備える。前記供給部は、無線タグが付されたメディアを供給する。前記通信部は、第1の通信モードの設定に基づき前記無線タグと通信するための第1の出力の電波を送信し、第2の通信モードの設定に基づき前記無線タグと通信するための前記第1の出力より高い第2の出力の電波を送信する。前記画像形成部は、前記メディアに画像を形成する。前記排出部は、画像が形成された前記メディアを受け取り部へ排出する。前記プロセッサは、画像形成ジョブの動作タイミングに応じて前記第1の通信モードを設定し、前記動作タイミングを除く第1のメディア検出タイミングに応じて前記第2の通信モードを設定し、前記第1又は第2の通信モードによる通信結果に応じた信号を出力する。
【図面の簡単な説明】
【0008】
図1は、実施形態に係る画像形成装置の一例を示す概略図である。
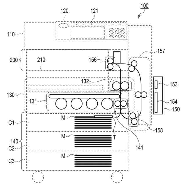
図2は、実施形態に係る画像形成装置のハードウェア構成の一例を示すブロック図である。
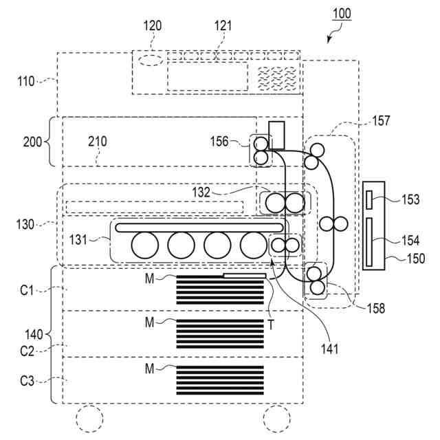
図3は、実施形態に係る画像形成装置のプロセッサの機能ブロックの一例を示す図である。
図4は、実施形態に係る画像形成装置により処理されるメディアの一例を示す図である。
図5は、実施形態に係る画像形成装置のRFID処理部とメディアの無線タグとの通信の様子をイメージした図である。
図6は、実施形態に係る画像形成装置のRFID処理部とメディアの無線タグとの通信の様子をイメージした図である。
図7は、実施形態に係る画像形成装置のRFID処理部とメディアの無線タグとの通信の様子をイメージした図である。
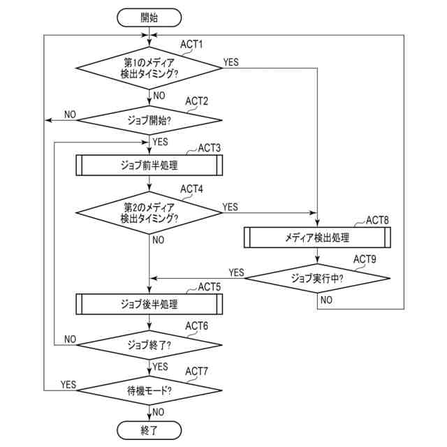
図8Aは、実施形態に係る画像形成装置における全体処理の一例を示すフローチャートである。
図8Bは、全体処理における画像形成ジョブ前半処理の一例を示す図である。
図8Cは、全体処理における画像形成ジョブ後半処理の一例を示す図である。
図8Dは、全体処理におけるメディア検出処理の一例示す図である。
【発明を実施するための形態】
【0009】
以下、図面を参照して、実施形態に係る画像形成装置について説明する。
[構成]
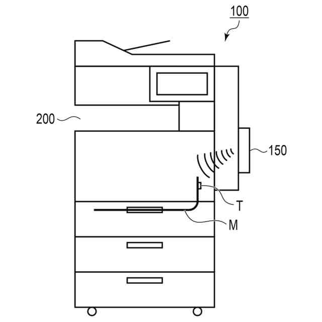
図1は、実施形態に係る画像形成装置の一例を示す概略図である。
画像形成装置100は、例えば複合機である。画像形成装置100は、画像読取部110、コントロールパネル120、ディスプレイ121、画像形成部130、メディア収容部140、RFID処理部150、及びメディア受け取り部200を備える。
【0010】
例えば、画像形成装置100は、シート状のメディアMに対して、トナー等の現像剤を用いて画像を形成する。メディアMは、紙やラベル用紙である。メディアMは、その表面に画像を形成できる形態であればよい。
(【0011】以降は省略されています)
この特許をJ-PlatPat(特許庁公式サイト)で参照する
関連特許
東芝テック株式会社
プリンタ
2日前
東芝テック株式会社
プリンタ装置
2日前
東芝テック株式会社
画像形成装置
4日前
東芝テック株式会社
商品登録装置
10日前
東芝テック株式会社
プリンタ装置
2日前
東芝テック株式会社
接客支援システム
16日前
東芝テック株式会社
情報処理システム
16日前
東芝テック株式会社
情報処理システム
16日前
東芝テック株式会社
業務支援システム
24日前
東芝テック株式会社
情報処理システム
16日前
東芝テック株式会社
情報処理装置及びシステム
3日前
東芝テック株式会社
業務支援装置及びプログラム
24日前
東芝テック株式会社
情報端末及びそのプログラム
16日前
東芝テック株式会社
情報処理装置及びプログラム
16日前
東芝テック株式会社
情報処理装置及びプログラム
16日前
東芝テック株式会社
業務支援装置及びプログラム
24日前
東芝テック株式会社
業務支援装置及びプログラム
24日前
東芝テック株式会社
業務支援装置及びプログラム
24日前
東芝テック株式会社
情報処理装置及びプログラム
2日前
東芝テック株式会社
情報処理装置及びプログラム
16日前
東芝テック株式会社
質問応答装置、方法及びプログラム
6日前
東芝テック株式会社
信号入出力装置および障害通知方法
6日前
東芝テック株式会社
商品データ処理装置、及びプログラム
16日前
東芝テック株式会社
商品データ処理装置、及びプログラム
16日前
東芝テック株式会社
POS端末、切替方法及びプログラム
16日前
東芝テック株式会社
取引処理装置及び情報処理プログラム
10日前
東芝テック株式会社
買物支援システム及び買物支援サーバ
10日前
東芝テック株式会社
読取装置、プログラムおよびシステム
6日前
東芝テック株式会社
商品登録装置、及び情報処理プログラム
2日前
東芝テック株式会社
データベース更新装置及びそのプログラム
16日前
東芝テック株式会社
商品販売データ処理装置及びそのプログラム
3日前
東芝テック株式会社
商品受渡システム、店員端末およびプログラム
10日前
東芝テック株式会社
会計ロボット装置、プログラムおよび会計システム
17日前
東芝テック株式会社
情報処理装置、情報処理システムおよびプログラム
16日前
東芝テック株式会社
商品販売支援システム、店員端末およびプログラム
10日前
東芝テック株式会社
情報処理サーバ、情報処理システム、及びプログラム
16日前
続きを見る
他の特許を見る