TOP
|
特許
|
意匠
|
商標
特許ウォッチ
Twitter
他の特許を見る
公開番号
2025145590
公報種別
公開特許公報(A)
公開日
2025-10-03
出願番号
2024045860
出願日
2024-03-22
発明の名称
プリンタ装置
出願人
東芝テック株式会社
代理人
弁理士法人酒井国際特許事務所
主分類
B41J
11/70 20060101AFI20250926BHJP(印刷;線画機;タイプライター;スタンプ)
要約
【課題】用紙排出口から切断後の用紙の脱落を抑制可能なプリンタ装置を提供すること。
【解決手段】実施形態のプリンタ装置1は、カッター23と、支持部材21と、付勢部材25とを有する。カッター23は、搬送機構により搬送される用紙を切断する。支持部材21は、切断された前記用紙が排出される用紙排出口11に設けられ、前記用紙排出口11から排出される前記用紙を裏側から支持する。付勢部材25は、前記用紙の搬送方向215において前記カッター23と前記支持部材21との間に設けられ、前記用紙を表側から付勢する。前記支持部材21と前記付勢部材25とは、前記用紙の搬送方向215から見て互いに重なる部分を有する。前記カッター23で切断された前記用紙は、前記支持部材21と前記付勢部材25との間で保持される。
【選択図】図9
特許請求の範囲
【請求項1】
搬送機構により搬送される用紙を切断するカッターと、
切断された前記用紙が排出される用紙排出口に設けられ、前記用紙排出口から排出される前記用紙を裏側から支持する支持部材と、
前記用紙の搬送方向において前記カッターと前記支持部材との間に設けられ、前記用紙を表側から付勢する付勢部材と、
を備え、
前記支持部材と前記付勢部材とは、前記用紙の搬送方向から見て互いに重なる部分を有し、
前記カッターで切断された前記用紙は、前記支持部材と前記付勢部材との間で保持される、
プリンタ装置。
続きを表示(約 630 文字)
【請求項2】
前記付勢部材の動作を検知するセンサと、
前記付勢部材の動作が前記センサにより検知された場合、前記用紙の搬送を停止させる制御部と、
をさらに備える請求項1に記載のプリンタ装置。
【請求項3】
前記付勢部材の動作後、所定時間内に前記付勢部材がばねにより付勢される位置に移動し、かつ前記センサによる検知が解除された場合、前記制御部は、前記用紙の搬送を実行させる、
請求項2に記載のプリンタ装置。
【請求項4】
前記付勢部材の動作が前記センサにより検知されて、所定時間内に前記センサの検知が解除されない場合であって前記支持部材が取り付けられたカバーの開閉をした場合には、前記制御部は、前記センサによる前記付勢部材の動作が検知されるか否かを確認する、
請求項2または3に記載のプリンタ装置。
【請求項5】
前記支持部材と前記付勢部材との相対的な位置関係は、前記用紙の搬送方向から見て前記支持部材の先端部分が前記付勢部材に重なり、
前記支持部材における突出部分は、前記搬送方向に対して傾斜して前記用紙排出口に設けられる、
請求項1乃至3のいずれか一項に記載のプリンタ装置。
【請求項6】
前記支持部材は、前記用紙排出口に着脱可能に、または前記用紙排出口と一体的に設けられる、
請求項1乃至3のいずれか一項に記載のプリンタ装置。
発明の詳細な説明
【技術分野】
【0001】
本発明の実施形態は、プリンタ装置に関する。
続きを表示(約 2,100 文字)
【背景技術】
【0002】
従来、プリンタ装置のオートカットの種類としては、フルカットとパーシャルカットとの2種類がある。パーシャルカットではペーパーロールに用紙が一部残っているため、切断後に用紙が脱落することはない。しかしながら、フルカットを使用する場合においては、用紙排出口から切断後の用紙が脱落してしまう問題があった。
【発明の概要】
【発明が解決しようとする課題】
【0003】
本発明が解決しようとする課題は、用紙排出口から切断後の用紙の脱落を抑制可能なプリンタ装置を提供することである。
【課題を解決するための手段】
【0004】
実施形態のプリンタ装置は、カッターと、支持部材と、付勢部材とを有する。カッターは、搬送機構により搬送される用紙を切断する。支持部材は、切断された前記用紙が排出される用紙排出口に設けられ、前記用紙排出口から排出される前記用紙を裏側から支持する。付勢部材は、前記用紙の搬送方向において前記カッターと前記支持部材との間に設けられ、前記用紙を表側から付勢する。前記支持部材と前記付勢部材とは、前記用紙の搬送方向から見て互いに重なる部分を有する。前記カッターで切断された前記用紙は、前記支持部材と前記付勢部材との間で保持される。
【図面の簡単な説明】
【0005】
図1は、実施形態に係るプリンタ装置の概略構成を示す図である。
図2は、実施形態に係るプリンタ装置のハードウェア構成の一例を示す図である。
図3は、実施形態に係り、カッターにより切断された用紙が排出される用紙排出口が水平方向である場合のプリンタ装置の外観の一例を示す図である。
図4は、実施形態に係り、図3に示すプリンタ装置のカバーを開放させた状態の一例を示す図である。
図5は、実施形態に係り、用紙排出口が鉛直方向である場合のプリンタ装置の外観の一例を示す図である。
図6は、実施形態に係り、図5に示すプリンタ装置のカバーを開放させた状態の一例を示す図である。
図7は、実施形態に係り、図3におけるプリンタ装置のA-A矢視断面図である。
図8は、実施形態に係り、図7におけるカバーを開放した状態を示している。
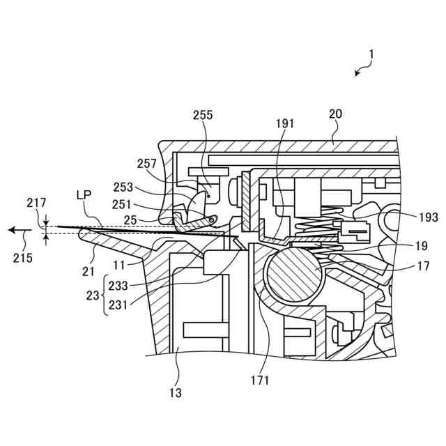
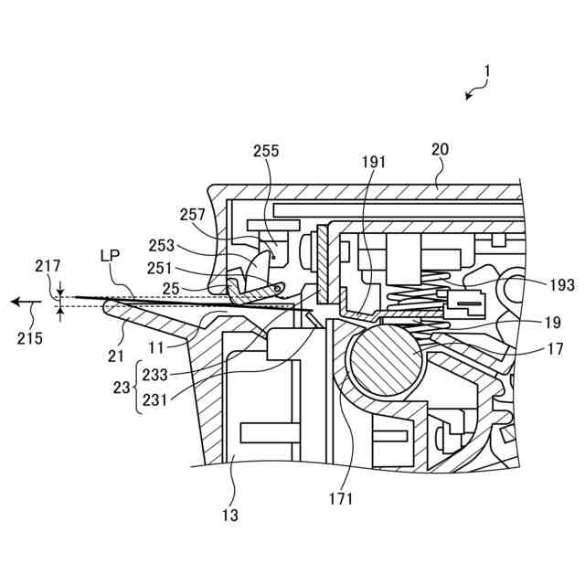
図9は、実施形態に係り、図5に示すA-A矢視断面図を拡大した拡大図である。
図10は、実施形態に係り、ジャムの発生により付勢部材5が回転軸周りに付勢とは反対側へ回動した場合の一例を示す図である。
図11は、実施形態に係り、用紙引張状態の一例を示す図である。
図12は、実施形態に係るプリンタ装置が実行する動作の一例を示すフローチャートである。
【発明を実施するための形態】
【0006】
以下、図面を参照して、実施形態について詳細に説明する。なお、以下に説明する実施形態によりこの発明が限定されるものではない。
【0007】
図1は、実施形態に係るプリンタ装置1の概略構成を示す図である。以下、図1を用いて、プリンタ装置1の概要について説明する。プリンタ装置1は、サーマルプリンタに対応する。プリンタ装置1は、例えばレシートを印刷するために用いられるレシートプリンタとして用いられる。
【0008】
プリンタ装置1は、印字用紙の一例である用紙LPをロール状に巻回したロール紙LRを収容する。プリンタ装置1は、ロール紙LRから用紙LPを引き出しながら用紙LPに印字を行う。プリンタ装置1は、用紙排出口11、プラテンローラ17と、印字ヘッド19と、カッター23と、を備える。用紙排出口11は、カッター23により切断された用紙LPを排出する。
【0009】
印字ヘッド19は、印字部の一例である。本実施形態の印字ヘッド19は、複数個の発熱体を整列させた構造を有するサーマルヘッドである。印字ヘッド19は、印字パターンに対応する発熱体を発熱させることによって、プラテンローラ17と印字ヘッド19との間に挟持された用紙LPに印字を行う。印字ヘッド19は、図示しない付勢機構によりプラテンローラ17に付勢される。これによって、プリンタ装置1では、印字ヘッド19がプラテンローラ17に当接される。
【0010】
カッター23は、プラテンローラ17などの搬送機構により搬送される用紙LPを切断する。具体的には、カッター23は、可動刃と固定刃とを有する。可動刃は、用紙の厚み方向に移動可能な刃である。可動刃は、当該刃を移動させる移動機構により、プリンタ装置1に搭載された後述の制御部100(図2参照)による制御の下で上下に移動する。固定刃は、可動刃に対向する位置に設けられる。用紙LPに対する印字が終了すると、可動刃が用紙の裏側から用紙の表側に移動し、移動された可動刃と固定刃とで用紙LPを挟むことで、用紙LPが切断される。用紙の表側は、例えば用紙の印字面に対応する。また、用紙の裏側は、用紙の印字面とは反対側(非印字面)に対応する。
(【0011】以降は省略されています)
この特許をJ-PlatPat(特許庁公式サイト)で参照する
関連特許
東芝テック株式会社
会計装置
5日前
東芝テック株式会社
プリンタ
4日前
東芝テック株式会社
プリンタ
4日前
東芝テック株式会社
プリンタ
9日前
東芝テック株式会社
プリンタ装置
4日前
東芝テック株式会社
プリンタ装置
4日前
東芝テック株式会社
プリンタ装置
9日前
東芝テック株式会社
プリンタ装置
9日前
東芝テック株式会社
プリンタ及びプログラム
3日前
東芝テック株式会社
チェックアウトシステム
4日前
東芝テック株式会社
情報処理装置及びシステム
10日前
東芝テック株式会社
販売時点における行動検出
4日前
東芝テック株式会社
取引処理装置及びプログラム
5日前
東芝テック株式会社
取引処理装置及びプログラム
5日前
東芝テック株式会社
情報処理装置及びプログラム
9日前
東芝テック株式会社
プリンタ装置及びプログラム
4日前
東芝テック株式会社
収納代行処理装置及びそのプログラム
5日前
東芝テック株式会社
販売時点における物体分類および識別
4日前
東芝テック株式会社
商品登録機器及び情報処理プログラム
4日前
東芝テック株式会社
販売時点情報管理アイテム予測及び検証
5日前
東芝テック株式会社
商品登録装置、及び情報処理プログラム
9日前
東芝テック株式会社
レシート管理サーバ及びレシート管理システム
3日前
東芝テック株式会社
レシート管理サーバ及びレシート管理システム
3日前
東芝テック株式会社
取引処理システム、取引処理装置及びそのプログラム
4日前
東芝テック株式会社
情報処理装置、情報処理プログラム及び情報処理システム
9日前
東芝テック株式会社
ゲート装置、情報処理プログラム及びチェックアウトシステム
4日前
東芝テック株式会社
プリンタおよびプログラム
9日前
東芝テック株式会社
トナーカートリッジ梱包用ブランク
6日前
東芝テック株式会社
データ処理装置及びデータ処理方法
5日前
個人
箔熱転写装置
1か月前
シヤチハタ株式会社
印判
4か月前
東レ株式会社
凸版印刷版原版
10か月前
シヤチハタ株式会社
反転式印判
9か月前
キヤノン株式会社
記録装置
25日前
独立行政法人 国立印刷局
印刷物
7か月前
三光株式会社
感熱記録材料
6か月前
続きを見る
他の特許を見る