TOP
|
特許
|
意匠
|
商標
特許ウォッチ
Twitter
他の特許を見る
公開番号
2025141332
公報種別
公開特許公報(A)
公開日
2025-09-29
出願番号
2024041217
出願日
2024-03-15
発明の名称
信号入出力装置および障害通知方法
出願人
東芝テック株式会社
代理人
弁理士法人鈴榮特許綜合事務所
主分類
G06F
3/00 20060101AFI20250919BHJP(計算;計数)
要約
【課題】障害が発生した場合にその障害の状況を外部に伝えることができるようにする。
【解決手段】実施形態の信号入出力装置は、複数の入出力ポートを備える信号入出力装置において、発光素子と、プロセッサとを具備し、前記プロセッサは、前記信号入出力装置において障害が発生した場合、前記障害の発生を、前記発光素子を通じて外部に通知するとともに、前記発光素子以外の装置を通じて外部に通知する。
【選択図】図2
特許請求の範囲
【請求項1】
複数の入出力ポートを備える信号入出力装置において、
発光素子と、
プロセッサと
を具備し、
前記プロセッサは、
前記信号入出力装置において障害が発生した場合、前記障害の発生を、前記発光素子を通じて外部に通知するとともに、前記発光素子以外の装置を通じて外部に通知する、
信号入出力装置。
続きを表示(約 510 文字)
【請求項2】
前記プロセッサは、
前記複数の入出力ポートのいずれかに、表示装置を備える情報端末が接続されている場合、前記情報端末の前記表示装置を通じて前記障害の発生を外部に通知する、
請求項1に記載の信号入出力装置。
【請求項3】
前記信号入出力装置は、プリンターを更に具備し、
前記プロセッサは、前記障害が発生した場合に、前記プリンターに前記障害を示す情報が印字されたものを出力させる、
請求項1に記載の信号入出力装置。
【請求項4】
前記プロセッサは、前記障害が発生した場合に、前記発光素子が特定の発光色もしくは特定の点滅パターンで発光するように制御する、
請求項1乃至3のいずれか1項に記載の信号入出力装置。
【請求項5】
複数の入出力ポートおよび発光素子を備える信号入出力装置が実行する障害通知方法であって、
前記信号入出力装置において障害が発生した場合、前記障害の発生を、前記発光素子を通じて外部に通知するとともに、前記発光素子以外の装置を通じて外部に通知することを含む、
障害通知方法。
発明の詳細な説明
【技術分野】
【0001】
本発明の実施形態は、信号入出力装置および障害通知方法に関する。
続きを表示(約 1,200 文字)
【背景技術】
【0002】
一般にI/O(input/output)ボックスと呼ばれる信号入出力装置は、その簡便さから、様々な分野で使用されている。この種の信号入出力装置は、比較的小さく、また、I/Oポートを通じて規格の異なる様々な機器を接続することができるため、小さな規模で分散配置することができ、大きな筐体の装置と同等の機能を実現することができるという利点がある。
【先行技術文献】
【特許文献】
【0003】
特開平09-330191号公報
特開2007-196533号公報
特開2018-058262号公報
【発明の概要】
【発明が解決しようとする課題】
【0004】
上記した信号入出力装置は、画面表示機能を備えていない。そのため、信号入出力装置において何らかの障害が生じた場合、障害の状況を外部に正しく伝えることができない。
【0005】
発明が解決しようとする課題は、障害が発生した場合にその障害の状況を外部に伝えることを可能にする、信号入出力装置および障害通知方法を提供することにある。
【課題を解決するための手段】
【0006】
実施形態の信号入出力装置は、複数の入出力ポートを備える信号入出力装置において、発光素子と、プロセッサとを具備し、前記プロセッサは、前記信号入出力装置において障害が発生した場合、前記障害の発生を、前記発光素子を通じて外部に通知するとともに、前記発光素子以外の装置を通じて外部に通知する。
【図面の簡単な説明】
【0007】
図1は、実施形態に係る信号入出力装置を含むPOSシステムの構成の一例を示す図である。
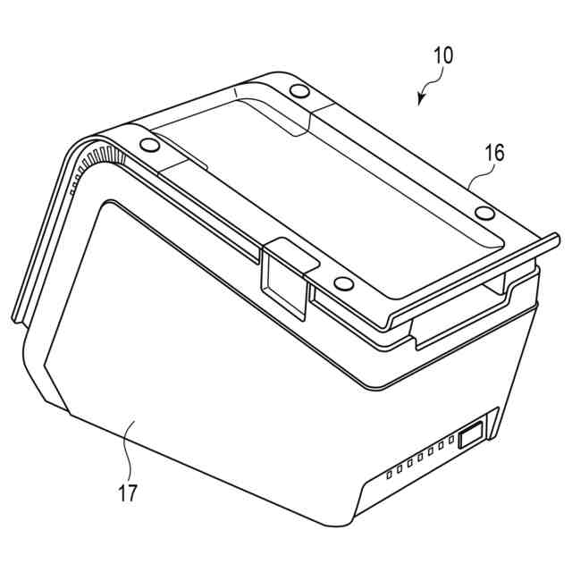
図2は、図1中の信号入出力装置(I/Oボックス)10を拡大して示す図である。
図3は、プリンターを備えた信号入出力装置10の一例(図2のプリンターの変形例)を示す図である。
図4は、信号入出力装置(I/Oボックス)10の内部の構成の一例を示す図である。
図5は、図4中のプロセッサ35が実行するプログラムにより実現される機能(制御部)の機能構成の一例を示す図である。
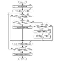
図6は、制御部40による動作の一例を示すフローチャートである。
【発明を実施するための形態】
【0008】
以下、図面を参照して、実施の形態について説明する。
【0009】
(システム構成)
本実施形態では、一般にI/Oボックスと呼ばれる信号入出力装置を、POS(Point Of Sales)システムに適用した場合の例について説明する。
【0010】
図1は、実施形態に係る信号入出力装置を含むPOSシステムの構成の一例を示す図である。
(【0011】以降は省略されています)
この特許をJ-PlatPat(特許庁公式サイト)で参照する
関連特許
東芝テック株式会社
プリンタ装置
1日前
東芝テック株式会社
プリンタおよびプログラム
1日前
個人
フラワーコートA
1か月前
個人
地球保全システム
3日前
個人
工程設計支援装置
1か月前
個人
為替ポイント伊達夢貯
1か月前
個人
介護情報提供システム
2か月前
個人
冷凍食品輸出支援構造
1か月前
個人
表変換編集支援システム
23日前
個人
携帯情報端末装置
1か月前
個人
設計支援システム
2か月前
個人
設計支援システム
2か月前
個人
結婚相手紹介支援システム
1か月前
個人
知財出願支援AIシステム
1か月前
個人
パスワード管理支援システム
23日前
個人
AIによる情報の売買の仲介
1か月前
個人
行動時間管理システム
25日前
株式会社キーエンス
受発注システム
2日前
株式会社キーエンス
受発注システム
2日前
個人
パスポートレス入出国システム
1か月前
個人
アンケート支援システム
2か月前
個人
海外支援型農作物活用システム
15日前
個人
システム及びプログラム
16日前
日本精機株式会社
施工管理システム
1か月前
個人
食品レシピ生成システム
2日前
個人
AIキャラクター制御システム
23日前
株式会社アジラ
進入判定装置
1か月前
株式会社キーエンス
受発注システム
2日前
サクサ株式会社
中継装置
23日前
個人
食事受注会計処理システム
1か月前
サクサ株式会社
中継装置
2か月前
大同特殊鋼株式会社
疵判定方法
9日前
キヤノン株式会社
表示システム
2日前
個人
未来型家系図構築システム
15日前
大阪瓦斯株式会社
住宅設備機器
1か月前
個人
冷凍加工連携型農場運用システム
1か月前
続きを見る
他の特許を見る