TOP
|
特許
|
意匠
|
商標
特許ウォッチ
Twitter
他の特許を見る
公開番号
2025118238
公報種別
公開特許公報(A)
公開日
2025-08-13
出願番号
2024013451
出願日
2024-01-31
発明の名称
ゲート弁
出願人
THK株式会社
代理人
弁理士法人秀和特許事務所
主分類
F16K
3/12 20060101AFI20250805BHJP(機械要素または単位;機械または装置の効果的機能を生じ維持するための一般的手段)
要約
【課題】ゲート弁において、より簡単な構造によりシール材の捻転及び発塵を抑制する。
【解決手段】筐体10の内壁面において開口部11が開口する面である開口面11Aと、開口部11を閉塞及び開放するゲート板20と、開口部11を閉塞するときにゲート板20を第一方向に移動させ、開口部11を開放するときにゲート板20を第一方向とは逆方向の第二方向に移動させる駆動部33と、ゲート板20を第一方向及び第二方向に案内する直動案内400と、を備えるゲート弁であって、開口面11Aが、第一方向に進むほど筐体10の内部側に傾斜し、ゲート板20が、開口面11Aと平行に形成される。
【選択図】図4
特許請求の範囲
【請求項1】
筐体の内壁面において開口部が開口する面である開口面と、
前記開口部を閉塞及び開放するゲート板と、
前記開口部を閉塞するときに前記ゲート板を第一方向に移動させ、前記開口部を開放するときに前記ゲート板を前記第一方向とは逆方向の第二方向に移動させる駆動部と、
前記ゲート板を前記第一方向及び前記第二方向に案内する直動案内と、
を備えるゲート弁であって、
前記開口面が、前記第一方向に進むほど前記筐体の内部側に傾斜し、
前記ゲート板が、前記開口面と平行に形成される、
ゲート弁。
続きを表示(約 260 文字)
【請求項2】
前記駆動部及び前記直動案内が配置されるベース部を備え、
前記ベース部が前記筐体に固定される、
請求項1に記載のゲート弁。
【請求項3】
前記駆動部は、ボールねじのねじ軸を回転させるモータを備え、
前記直動案内は、前記ボールねじのねじ軸に対応するナットを備える、
請求項1に記載のゲート弁。
【請求項4】
前記第一方向に対する前記開口面及び前記ゲート板の傾斜角が、0度より大きく45度以下である、
請求項1に記載のゲート弁。
発明の詳細な説明
【技術分野】
【0001】
本開示は、ゲート弁に関する。
続きを表示(約 2,000 文字)
【背景技術】
【0002】
駆動軸の軸方向に傾斜した傾斜面に設けられる開口部を、駆動軸の軸方向に移動するシール弁によって閉塞させることが知られている(例えば、特許文献1を参照)。シール弁は駆動軸に支持ピンで支持され、傾き回動が自在なように連結されている。また、シール弁の下端にはストッパーに当接する当接板が取り付けられている。ストッパーには、その側面下端の開口部側に突起が設けられている。このような構成において、駆動軸の運動により、シール弁が上昇するとシール弁が開口部を覆う。そして、上昇運動の最終段階で当接板がストッパーに設けられた突起に当接すると、シール弁は傾斜面に向かって傾き回動し、開口部に押し付けられ、開口部が閉塞される。
【先行技術文献】
【特許文献】
【0003】
特開昭63-62972号公報
【発明の概要】
【発明が解決しようとする課題】
【0004】
特許文献1に開示されているシール弁は、支持ピンで支持されているため、がたつきが生じる虞がある。また、シール弁が開口部を開放しているときには、シール弁のがたつきのために異音が発生する虞がある。
【0005】
本開示は、上記した問題点に鑑みてなされたものであり、ゲート弁において、より簡単な構造によりシール材の捻転及び発塵を抑制することを目的とする。
【課題を解決するための手段】
【0006】
本開示に係るゲート弁は、筐体の内壁面において開口部が開口する面である開口面と、
前記開口部を閉塞及び開放するゲート板と、
前記開口部を閉塞するときに前記ゲート板を第一方向に移動させ、前記開口部を開放するときに前記ゲート板を前記第一方向とは逆方向の第二方向に移動させる駆動部と、
前記ゲート板を前記第一方向及び前記第二方向に案内する直動案内と、
を備えるゲート弁であって、
前記開口面が、前記第一方向に進むほど前記筐体の内部側に傾斜し、
前記ゲート板が、前記開口面と平行に形成される。
【発明の効果】
【0007】
ゲート弁において、より簡単な構造によりシール材の捻転及び発塵を抑制することができる。
【図面の簡単な説明】
【0008】
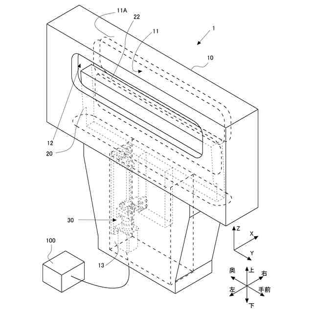
第1実施形態に係るゲート弁の概略構成を示す図である。
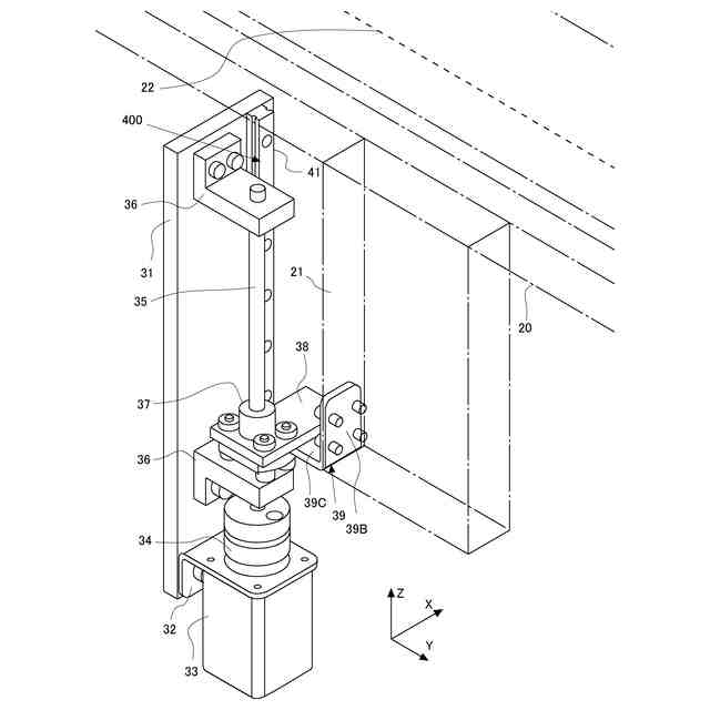
第1実施形態に係る昇降装置の斜視図である。
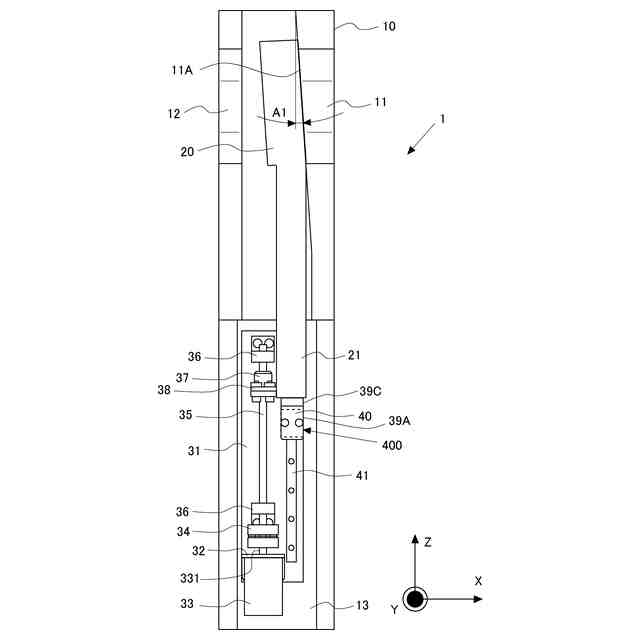
第1実施形態に係る昇降装置をX軸方向右側から見た図である。
第1実施形態に係る昇降装置をZ軸方向上側から見た図である。
第1実施形態に係る第一開口部をゲート板に投影したとき投影部を示した図である。
第1実施形態に係るゲート弁の開閉制御の一例を示したフローチャートである。
第2実施形態に係る直動案内の概略構成を示した図である。
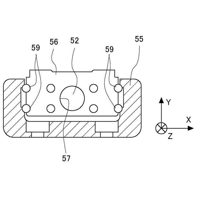
第2実施形態に係るインナブロックをXY平面で切断した断面図である。
【発明を実施するための形態】
【0009】
本開示に係るゲート弁は、開口部を有する。この開口部は、ゲート板によって閉塞及び開放される。筐体の内壁面には開口部が開口する開口面が形成されている。ゲート板が開口面に接触することにより、開口部を閉塞することができる。ゲート板は、駆動部によって第一方向及び第二方向に移動する。駆動部は、例えば1つのモータを含んで構成されている。このモータは、例えば送りねじ又はボールねじを正転及び逆転させることにより、ゲート板を第一方向及び第二方向に移動させる。開口面は、第一方向に進むほど筐体の内部側に傾斜している。そのため、開口部は傾斜面に開口している。さらに、ゲート板も開口面と同様に傾斜している。ゲート板と開口面とは、開口部の閉塞時及び開放時にかかわらず、平行状態にある。また、開口部を閉塞しているときのゲート板と、開口部を開放しているときのゲート板とは、平行状態にある。また、開口部を開放しているときのゲート板は、開口部よりも第二方向に位置している。また、ゲート板は、直動案内によって案内される。したがって、ゲート板を第一方向及び第二方向に精度よく移動させることができる。
【0010】
このように構成されたゲート弁では、ゲート板から第一方向に開口部が形成されている。したがって、駆動部によってゲート板を第一方向に移動させると、ゲート板が開口面に接する。そして、ゲート板と開口面とは平行になるように形成されているため、ゲート板が開口面を閉塞する。このときに、ゲート板が開口面上を摺動する距離は比較的短いため、シール材の捻転や発塵を抑制し得る。
(【0011】以降は省略されています)
この特許をJ-PlatPat(特許庁公式サイト)で参照する
関連特許
THK株式会社
ゲート弁
1か月前
THK株式会社
ゲート弁
1か月前
THK株式会社
位置検出装置及び方法
25日前
THK株式会社
運動案内装置用軌道部材および運動案内装置
24日前
THK株式会社
制御方法、位置決め装置、およびプログラム
1か月前
THK株式会社
サスペンション制御装置及びサスペンション制御方法
1か月前
THK株式会社
水門駆動装置
1か月前
個人
鍋虫ねじ
1か月前
個人
紛体用仕切弁
1か月前
個人
ホース保持具
5か月前
個人
回転伝達機構
1か月前
個人
トーションバー
6か月前
個人
差動歯車用歯形
3か月前
個人
ジョイント
14日前
個人
ボルトナットセット
6か月前
個人
地震の揺れ回避装置
2か月前
株式会社不二工機
電磁弁
4か月前
個人
ナット
15日前
株式会社不二工機
電磁弁
3か月前
個人
吐出量監視装置
1か月前
カヤバ株式会社
ダンパ
3か月前
柿沼金属精機株式会社
分岐管
1か月前
カヤバ株式会社
緩衝器
6か月前
カヤバ株式会社
ダンパ
3か月前
株式会社三協丸筒
枠体
6か月前
カヤバ株式会社
緩衝器
2か月前
カヤバ株式会社
緩衝器
2か月前
株式会社フジキン
ボールバルブ
3か月前
日東精工株式会社
樹脂被覆ねじ
6か月前
個人
固着具と固着具の固定方法
4か月前
株式会社ノーリツ
分配弁
4か月前
株式会社タカギ
水栓装置
1か月前
日東電工株式会社
断熱材
5か月前
個人
固着具と固着具の固定方法
4か月前
アズビル株式会社
回転弁
8日前
個人
固着具と固着具の固定方法
5か月前
続きを見る
他の特許を見る