TOP
|
特許
|
意匠
|
商標
特許ウォッチ
Twitter
他の特許を見る
10個以上の画像は省略されています。
公開番号
2025118217
公報種別
公開特許公報(A)
公開日
2025-08-13
出願番号
2024013409
出願日
2024-01-31
発明の名称
ゲート弁
出願人
THK株式会社
代理人
弁理士法人秀和特許事務所
主分類
F16K
3/16 20060101AFI20250805BHJP(機械要素または単位;機械または装置の効果的機能を生じ維持するための一般的手段)
要約
【課題】ゲート弁においてシール材の捻転及び発塵を抑制する。
【解決手段】開口部11を開閉するゲート板20をゲート板20の面方向に移動させる直動機構35,41と、ゲート板20を面方向に対して垂直方向に移動させることにより開口部11を開閉するスコットラッセルの機構51,53と、を備える。
【選択図】図2
特許請求の範囲
【請求項1】
開口部を開閉するゲート板を前記ゲート板の面方向に移動させる直動機構と、
前記ゲート板を前記面方向に対して垂直方向に移動させることにより前記開口部を開閉するスコットラッセルの機構と、
を備えるゲート弁。
続きを表示(約 2,300 文字)
【請求項2】
前記ゲート板の前記面方向である第一方向及び前記第一方向とは逆方向の第二方向に移動する第一板と、
前記第一板を移動させる動力を発生するモータと、
前記第一板と、前記ゲート板とを接続する第一リンクであって、一端側の第一ジョイントが前記第一板に配置され、他端側の第二ジョイントが前記ゲート板に配置される第一リンクと、
前記第一リンクと平行リンクを構成し、前記第一板と、前記ゲート板とを接続する第二リンクであって、一端側の第三ジョイントが前記第一板に配置され、他端側の第四ジョイントが前記ゲート板に配置される第二リンクと、
前記第一板に対して、前記第一方向及び前記第二方向に相対的に移動する第二板と、
前記第二板と前記第一リンクとを接続する第三リンクであって、一端側の第五ジョイントが前記第一ジョイントから前記第二方向にずれた位置且つ前記第二ジョイントから前記第一方向と直交する第三方向にずれた位置に対応する前記第二板に配置され、他端側の第六ジョイントが前記第一ジョイントと前記第二ジョイントとの間の前記第一リンクに配置される第三リンクと、
一端側の第七ジョイントが前記第二板に配置される第四リンクであって、他端側の第八ジョイントに前記第一板に形成される溝に沿って移動する移動部が配置される第四リンクと、
前記モータを制御するように構成される制御装置と、
を備えるゲート弁であって、
前記制御装置は、
前記ゲート弁を閉じるときに、前記モータを制御することにより、前記第一板を、第一位置から前記第一方向に第二位置まで移動させた後、前記第二方向に前記第一位置と前記第二位置との間の第三位置まで移動させるように構成され、
前記ゲート弁を開くときに、前記モータを制御することにより、前記第一板を、前記第三位置から前記第一方向に前記第二位置まで移動させた後、前記第二方向に前記第一位置まで移動させるように構成され、
前記溝は、
前記第一板が、前記第一位置から前記第一方向に前記第二位置まで移動するときに、前記移動部を支持する第一部と、
前記第一板が、前記第二位置から前記第二方向に前記第三位置まで移動するときに、前記移動部が移動する位置に形成される第二部と、
前記第一板が、前記第三位置から前記第一方向に前記第二位置まで移動するときに、前記移動部が移動する位置に形成される第三部と、
前記第一板が、前記第二位置から前記第二方向に前記第一位置まで移動するときに、前記移動部を支持する第四部と、
を有する、
請求項1に記載のゲート弁。
【請求項3】
前記溝は、前記第一部、前記第二部、前記第三部、前記第四部、前記第一部の順に前記移動部が周回するように前記第一板に形成される、
請求項2に記載のゲート弁。
【請求項4】
前記第一リンク及び前記第三リンクは、前記スコットラッセルの機構を構成する、
請求項2に記載のゲート弁。
【請求項5】
前記制御装置が、前記第一板を、前記第二位置から前記第二方向に前記第三位置まで移動させると、
前記第二板が、前記第一板に対して前記第一方向に相対的に移動し、
前記第一リンクの前記第一ジョイントと前記第三リンクの前記第五ジョイントとが近づき、
前記第一リンクの前記第二ジョイントと前記第三リンクの前記第五ジョイントとが離れ、
前記ゲート板が、前記第三方向とは逆方向の第四方向に移動することにより、前記ゲート板が前記開口部を閉塞し、
前記制御装置が、前記第一板を、前記第三位置から前記第一方向に前記第二位置まで移動させると、
前記第二板が、前記第一板に対して前記第二方向に相対的に移動し、
前記第一リンクの前記第一ジョイントと前記第三リンクの前記第五ジョイントとが離れ、
前記第一リンクの前記第二ジョイントと前記第三リンクの前記第五ジョイントとが近づき、
前記ゲート板が、前記第三方向に移動することにより、前記ゲート板が前記開口部を開放する、
請求項2に記載のゲート弁。
【請求項6】
前記第二部は、前記第一部よりも前記第一方向側の位置に形成され、
前記第三部は、前記第二部よりも前記第二方向側の位置に形成され、
前記第四部は、前記第一部及び前記第三部よりも前記第一方向側且つ前記第二部よりも前記第二方向側の位置に形成され、
前記溝は、
前記第一板が、前記第一位置から前記第一方向に前記第二位置まで移動するときに、前記移動部が前記第四部から前記第一部まで移動し、
前記第一板が、前記第二位置から前記第二方向に前記第三位置まで移動するときに、前記移動部が前記第一部から前記第二部まで移動し、
前記第一板が、前記第三位置から前記第一方向に前記第二位置まで移動するときに、前記移動部が前記第二部から前記第三部まで移動し、
前記第一板が、前記第二位置から前記第二方向に前記第一位置まで移動するときに、前記移動部が前記第三部から前記第四部まで移動する、
ように形成される、
請求項2に記載のゲート弁。
【請求項7】
前記第一板には、前記第二板を前記第一方向及び前記第二方向に案内する直動案内が配置される、
請求項2に記載のゲート弁。
発明の詳細な説明
【技術分野】
【0001】
本開示は、ゲート弁に関する。
続きを表示(約 2,700 文字)
【背景技術】
【0002】
ゲート弁において、ゲート板を鉛直方向に移動させた後、ゲート板を水平方向に移動させることにより、ゲート板で開口部を閉塞させることが行われている。このように、ゲート板で開口部を閉塞させるときに、ゲート板を水平方向に移動させることにより、シール材の捻転や発塵を抑制し得る。例えば、加圧空気により弁ロッドを上昇させることで、弁ロッド先端に取り付けられているゲート板を開口部に対向する位置まで上昇させ、さらに、ラックアンドピニオン及びねじを利用してゲート板を水平後方に移動させることで、ゲート板に固定されているシール材を弁座に押し付けることが知られている(例えば、特許文献1を参照)。
【先行技術文献】
【特許文献】
【0003】
特開2001-173805号公報
【発明の概要】
【発明が解決しようとする課題】
【0004】
加圧空気でゲート板を上昇させると、精密な速度制御などが困難な場合があり、パーティクルが発生する虞がある。また、複数の動力が必要な場合がある。したがって、シール材の捻転や発塵を抑制する構成として改善の余地がある。
【0005】
本開示は、上記した問題点に鑑みてなされたものであり、ゲート弁においてシール材の捻転及び発塵を抑制することを目的とする。
【課題を解決するための手段】
【0006】
本開示に係るゲート弁は、開口部を開閉するゲート板を前記ゲート板の面方向に移動させる直動機構と、
前記ゲート板を前記面方向に対して垂直方向に移動させることにより前記開口部を開閉するスコットラッセルの機構と、
を備える。
【発明の効果】
【0007】
ゲート弁においてシール材の捻転及び発塵を抑制することができる。
【図面の簡単な説明】
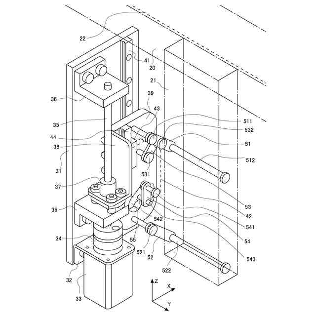
【0008】
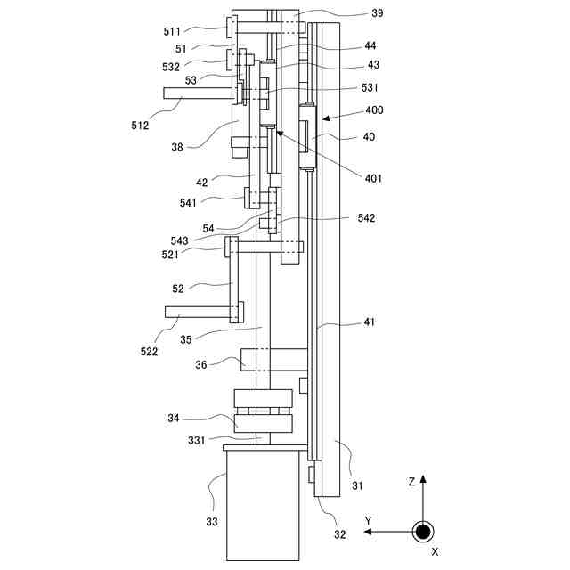
実施形態に係るゲート弁の概略構成を示す図である。
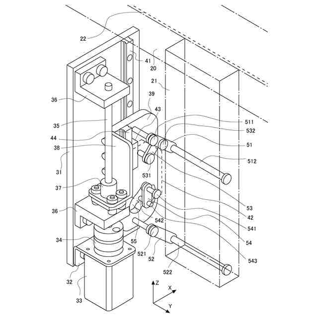
実施形態に係る昇降装置の斜視図である。
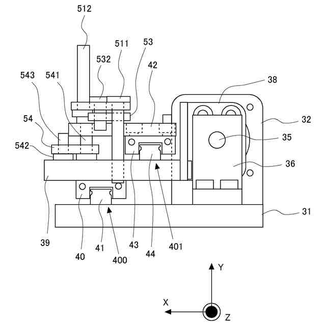
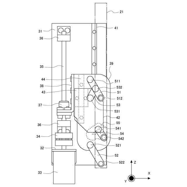
実施形態に係る昇降装置をX軸方向右側から見た図である。
実施形態に係る昇降装置をZ軸方向上側から見た図である。
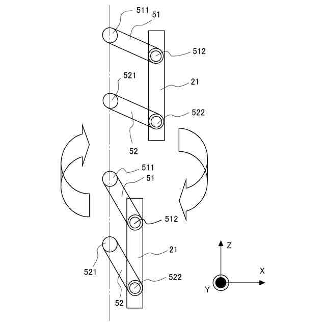
実施形態に係る第一リンク及び第二リンクの動作を示した図である。
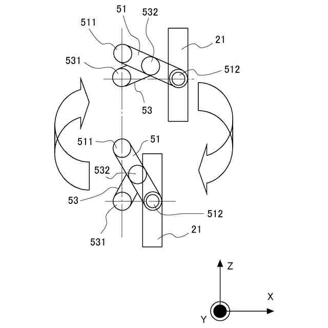
実施形態に係る第一リンク及び第三リンクの動作を示した図である。
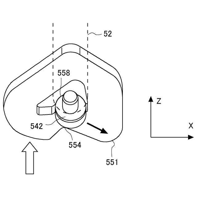
実施形態に係る中板に形成されるカム溝の形状を示した図である。
実施形態に係る昇降装置が中板をZ軸方向の最下部から上側に移動させているときの状態を示した図である。
実施形態に係る昇降装置が中板をZ軸方向の最下部から上側に移動させた直後のカムフォロアとカム溝との位置関係を示した図である。
実施形態に係る昇降装置が中板をZ軸方向の最下部から上側に移動させている途中のカムフォロアとカム溝との位置関係を示した図である。
実施形態に係る昇降装置が中板をZ軸方向の最上部まで移動させた直後の状態を示した図である。
実施形態に係る昇降装置が中板をZ軸方向の最上部から下方向に所定距離だけ移動させたときの状態を示した図である。
実施形態に係る昇降装置が中板をZ軸方向の最上部から下方向に所定距離だけ移動させる途中のカムフォロアとカム溝との位置関係を示した図である。
実施形態に係る昇降装置が中板をZ軸方向の最上部から下方向に所定距離だけ移動したときのカムフォロアとカム溝との位置関係を示した図である。
実施形態に係る昇降装置が中板をZ軸方向の最上部から下方向に所定距離だけ移動させた後にZ軸方向上側に移動させるときの状態を示した図である。
実施形態に係る昇降装置が中板をZ軸方向の最上部に再度移動させる途中のカムフォロアとカム溝との位置関係を示した図である。
実施形態に係る昇降装置が中板をZ軸方向の最上部まで再度移動させたときの状態を示した図である。
実施形態に係る昇降装置が中板39をZ軸方向の最上部に再度移動させたときのカムフォロアとカム溝55との位置関係を示した図である。
実施形態に係る昇降装置が中板をZ軸方向の最下部まで移動させたときの状態を示した図である。
実施形態に係る昇降装置が中板をZ軸方向の最上部から最下部に向かって移動させるときのカムフォロアとカム溝との位置関係を示した図である。
実施形態に係る昇降装置が中板をZ軸方向の最上部から最下部に向かって移動させている途中のカムフォロアとカム溝との位置関係を示した図である。
実施形態に係るゲート弁の開閉制御の一例を示したフローチャートである。
【発明を実施するための形態】
【0009】
本開示に係るゲート弁は、開口部を開閉するゲート板を有する。ゲート板が開口部を閉塞することによりゲート弁が閉弁され、ゲート板が開口部を開放することによりゲート弁が開弁される。ゲート板は、直動機構によりゲート板の面方向に移動される。例えば、ゲート弁の閉弁時の前段階としてゲート板が開口部の正面まで直動機構によって移動する。さらに、ゲート板は、スコットラッセルの機構によって、ゲート板の面方向に対して垂直方向に移動される。このときには、スコットラッセルの厳正直線運動によってゲート板が開口部に向かって直線的に移動する。そのため、ゲート板が開口部を閉塞及び開放するときには、ゲート板が開口部を形成している面(開口面)に対して垂直に当接するため、シール材の捻転及び発塵を抑制できる。
【0010】
また、本開示に係るゲート弁は、1つのモータを備えていてもよい。このモータは、例えば送りねじを正転及び逆転させることにより、第一板を第一方向及び第二方向に移動させる。他の一例として、歯車やベルトなどを利用して、第一板を移動させてもよい。第一板には、第一リンクの一端側の第一ジョイント及び第二リンクの一端側の第三ジョイントが配置されてもよい。また、第一リンクの他端側の第二ジョイント及び第二リンクの他端側の第四ジョイントは、ゲート板に配置されてもよい。第一リンクと第二リンクとは平行リンクを構成してもよい。したがって、ゲート板は、第一リンク及び第二リンクによって平行移動が可能なように構成されてもよい。ゲート板が開口部を開放及び閉塞することにより、ゲート弁が開弁及び閉弁する。開口部を閉塞しているときのゲート板と、開口部を開放しているときのゲート板とは、平行状態にある。
(【0011】以降は省略されています)
この特許をJ-PlatPat(特許庁公式サイト)で参照する
関連特許
THK株式会社
運動案内装置
今日
THK株式会社
搬送システム
今日
THK株式会社
運動案内装置用軌道部材および運動案内装置
28日前
個人
鍋虫ねじ
1か月前
個人
回転伝達機構
2か月前
個人
ホース保持具
5か月前
個人
紛体用仕切弁
1か月前
個人
トーションバー
6か月前
個人
差動歯車用歯形
3か月前
個人
ジョイント
18日前
個人
給排気装置
今日
個人
地震の揺れ回避装置
2か月前
個人
回転式配管用支持具
7か月前
株式会社不二工機
電磁弁
4か月前
個人
ナット
19日前
個人
ボルトナットセット
6か月前
株式会社不二工機
電磁弁
3か月前
株式会社オンダ製作所
継手
8か月前
個人
吐出量監視装置
1か月前
個人
ベルトテンショナ
7か月前
カヤバ株式会社
ダンパ
3か月前
カヤバ株式会社
ダンパ
3か月前
カヤバ株式会社
緩衝器
6か月前
柿沼金属精機株式会社
分岐管
1か月前
株式会社三協丸筒
枠体
6か月前
株式会社ミクニ
弁装置
8か月前
カヤバ株式会社
緩衝器
3か月前
カヤバ株式会社
緩衝器
3か月前
株式会社ミクニ
弁装置
8か月前
株式会社フジキン
ボールバルブ
3か月前
株式会社ノーリツ
分配弁
5か月前
株式会社ノーリツ
分配弁
5か月前
株式会社ノーリツ
分配弁
5か月前
株式会社ニフコ
クリップ
4日前
株式会社不二工機
電動弁
6か月前
株式会社不二工機
電磁弁
1か月前
続きを見る
他の特許を見る