TOP
|
特許
|
意匠
|
商標
特許ウォッチ
Twitter
他の特許を見る
公開番号
2025117678
公報種別
公開特許公報(A)
公開日
2025-08-13
出願番号
2024012537
出願日
2024-01-31
発明の名称
物品処理装置、及び、物品保管設備
出願人
株式会社ダイフク
代理人
弁理士法人R&C
主分類
B65G
1/00 20060101AFI20250805BHJP(運搬;包装;貯蔵;薄板状または線条材料の取扱い)
要約
【課題】物品を液体に浸ける処理を容易に行うことが可能な物品処理装置が望まれる。
【解決手段】物品処理装置1であって、昇降装置12は、支持部11及び支持物品Wtが移動装置7により往復移動する液槽13と干渉しない高さである第1高さH1と、第1高さH1よりも低く、支持物品Wtが液槽13の中の液体9に浸かる高さである第2高さH2と、第1高さH1よりも低い第3高さH3と、に支持部11を昇降させるように構成され、支持部11及び液槽13は、液槽13が使用位置T1にある状態で、支持部11及び支持物品Wtが第1高さH1と第2高さH2との間で昇降しても支持部11及び支持物品Wtと液槽13とが干渉せず、且つ、液槽13が退避位置にある状態で、支持部11及び支持物品Wtが第1高さH1と第3高さH3との間で昇降しても支持部11及び支持物品Wtと液槽13とが干渉しない。
【選択図】図4
特許請求の範囲
【請求項1】
物品を搬送する搬送装置に隣接して設けられ、前記物品を液体に浸ける液浸処理を行う物品処理装置であって、
前記搬送装置から前記物品を受け取り、前記物品を支持する支持部と、前記支持部を昇降させる昇降装置と、前記液体が入っていると共に上側に向かって開口した液槽と、前記液槽を水平方向に沿って使用位置と退避位置との間で往復移動させる移動装置と、を備え、
前記支持部に支持された前記物品を支持物品として、
前記昇降装置は、前記支持部及び前記支持物品が前記移動装置により往復移動する前記液槽と干渉しない高さである第1高さと、前記第1高さよりも低く、前記支持物品が前記液槽の中の前記液体に浸かる高さである第2高さと、前記第1高さよりも低く、前記搬送装置から前記支持部に前記物品を受け取るための高さである第3高さと、に前記支持部を昇降させるように構成され、
前記支持部及び前記液槽は、前記液槽が前記使用位置にある状態で、前記支持部及び前記支持物品が前記第1高さと前記第2高さとの間で昇降しても前記支持部及び前記支持物品と前記液槽とが干渉せず、且つ、前記液槽が前記退避位置にある状態で、前記支持部及び前記支持物品が前記第1高さと前記第3高さとの間で昇降しても前記支持部及び前記支持物品と前記液槽とが干渉しないように構成されている、物品処理装置。
続きを表示(約 1,600 文字)
【請求項2】
前記昇降装置及び前記移動装置を制御する制御システムを更に備え、
前記制御システムは、
前記搬送装置から前記支持部に前記物品を受け取る場合に、前記液槽を前記退避位置に配置するように前記移動装置を制御すると共に、前記支持部を前記第3高さに配置するように前記昇降装置を制御し、
前記搬送装置から前記支持部に前記物品を受け取った後に、前記昇降装置により前記支持部を前記第3高さから前記第1高さに上昇させ、
前記支持部が前記第1高さにある状態で、前記移動装置により前記液槽を前記退避位置から前記使用位置へ移動させ、
前記液槽が前記使用位置にある状態で、前記昇降装置により前記支持部を前記第2高さに下降させることで、前記支持物品を前記液槽の中の前記液体に浸ける、請求項1に記載の物品処理装置。
【請求項3】
前記液浸処理は、前記物品が発熱した場合に、当該物品を前記液体に浸けて冷却する処理であり、
前記昇降装置は、前記支持部を昇降させる駆動力の発生及び伝達を行う昇降駆動機構と、遮熱部材と、を備え、
前記遮熱部材は、前記支持物品の側面に対向すると共に前記昇降駆動機構と前記支持物品との間に位置するように配置され、前記支持物品の側から前記昇降駆動機構の側への熱伝達を制限するように構成されている、請求項1に記載の物品処理装置。
【請求項4】
前記液槽の中の前記液体に浸けた前記支持物品の浮き上がりを規制するための浮上規制部材を更に備え、
前記支持部は、前記支持物品を下側から支持する支持面を備え、
前記浮上規制部材は、前記支持面に対して上側に、前記支持物品の上下方向の寸法以上の間隔を空けて配置され、前記昇降装置により前記支持部と共に昇降するように構成されている、請求項1に記載の物品処理装置。
【請求項5】
前記移動装置は、前記液槽を支持する液槽支持部と、前記液槽支持部を往復移動させるための駆動装置と、を備え、
前記液槽支持部は、前記液槽が着脱自在に構成されている、請求項1に記載の物品処理装置。
【請求項6】
請求項1から5のいずれか一項に記載の物品処理装置と、自動倉庫と、を備えた物品保管設備であって、
前記自動倉庫は、複数の収容部を備えた収容棚と、移載装置を備えた前記搬送装置と、を備え、
前記移載装置は、前記収容棚の前面に沿って移動して前記収容部との間で前記物品の移載を行うように構成され、
複数の前記収容部のそれぞれは、N個(Nは2以上の整数)の前記物品が配列された配列状態で収容できるように構成され、
前記移載装置は、前記収容部に対して出退するフォーク部を備え、それぞれの前記収容部に収容されたN個の前記物品を、前記配列状態のままで取り出すことができるように構成され、
前記物品処理装置の前記支持部は、N個の前記物品を前記配列状態のままで支持することができるように構成されている、物品保管設備。
【請求項7】
請求項1から5のいずれか一項に記載の物品処理装置と、自動倉庫と、を備えた物品保管設備であって、
前記自動倉庫は、複数の収容部を備えた収容棚と、移載装置を備えた前記搬送装置と、を備え、
前記移載装置は、前記収容棚の前面に沿って移動して前記収容部との間で前記物品の移載を行うように構成されていると共に、前記移載の際に出退方向に出退するフォーク部を備え、
前記支持部が前記搬送装置から前記物品を受け取る場合の前記出退方向に上下方向視で直交する方向を幅方向として、
前記支持部は、前記搬送装置から前記物品を受け取る場合に前記フォーク部が前記出退方向に移動する空間となるフォーク挿入空間と、前記フォーク挿入空間に対して前記幅方向の両側に配置されて前記支持物品を下側から支持する支持部材と、を備える、物品保管設備。
発明の詳細な説明
【技術分野】
【0001】
本発明は、物品処理装置、及び、物品保管設備に関する。
続きを表示(約 1,800 文字)
【背景技術】
【0002】
例えば、特開2012-249803号公報(特許文献1)には、物品処理装置に関する技術が開示されている。以下、背景技術の説明において括弧内に示す符号は特許文献1のものである。
【0003】
特許文献1の物品保管設備は、物品(電池19)を収容する収容棚(試験棚16)と、収容棚に対して物品を搬送する搬送装置(スタッカークレーン13)と、物品を冷却させるための水が貯留されている液槽(水没槽30)とを備えている。この物品保管設備では、試験棚の物品(電池19)に異常(発熱や発煙等)が発生すると、搬送装置が当該物品を液槽に搬送すると共に、液槽内に物品を投入するようになっている。
【先行技術文献】
【特許文献】
【0004】
特開2012-249803号公報
【発明の概要】
【発明が解決しようとする課題】
【0005】
特許文献1の物品保管設備では、液槽が収容棚に配置されている。このため収容棚との間で物品を搬送する搬送装置が物品を直接液槽内に投入し、これにより物品を液槽内の液体(ここでは、水)に浸ける処理が行われる。しかし、例えば液槽の直上に搬送装置と干渉する障害物となるものが配置されている場合等のように、液槽の周辺の構造等によっては、搬送装置により液槽内に物品を投入することが難しい場合がある。
【0006】
そこで、物品を液体に浸ける処理を容易に行うことが可能な物品処理装置が望まれる。
【課題を解決するための手段】
【0007】
本開示に係る物品処理装置は、物品を搬送する搬送装置に隣接して設けられ、前記物品を液体に浸ける液浸処理を行う物品処理装置であって、
前記搬送装置から前記物品を受け取り、前記物品を支持する支持部と、前記支持部を昇降させる昇降装置と、前記液体が入っていると共に上側に向かって開口した液槽と、前記液槽を水平方向に沿って使用位置と退避位置との間で往復移動させる移動装置と、を備え、
前記支持部に支持された前記物品を支持物品として、
前記昇降装置は、前記支持部及び前記支持物品が前記移動装置により往復移動する前記液槽と干渉しない高さである第1高さと、前記第1高さよりも低く、前記支持物品が前記液槽の中の前記液体に浸かる高さである第2高さと、前記第1高さよりも低く、前記搬送装置から前記支持部に前記物品を受け取るための高さである第3高さと、に前記支持部を昇降させるように構成され、
前記支持部及び前記液槽は、前記液槽が前記使用位置にある状態で、前記支持部及び前記支持物品が前記第1高さと前記第2高さとの間で昇降しても前記支持部及び前記支持物品と前記液槽とが干渉せず、且つ、前記液槽が前記退避位置にある状態で、前記支持部及び前記支持物品が前記第1高さと前記第3高さとの間で昇降しても前記支持部及び前記支持物品と前記液槽とが干渉しないように構成されている。
【0008】
本構成によれば、物品処理装置の配置場所における高さ方向のスペースの制限や、搬送装置の構成上の制限等により、搬送装置から支持部への物品の受け取りを液槽よりも上側の位置で行うことができない場合であっても、搬送装置から支持部への物品の受け取りを適切に行うことができると共に、受け取った物品を液槽の中の液体に適切に浸すことができる。
従って、本構成によれば、高さ方向のスペースに制限がある場所にも物品処理装置を配置することができる。また、様々な種類の搬送装置から物品を受け取ることができるので、搬送装置側の制約も少なくすることができる。
このように本構成によれば、物品を液体に浸ける液浸処理を容易に行うことができる。
【0009】
物品処理装置のさらなる特徴と利点は、図面を参照して説明する例示的且つ非限定的な実施形態についての以下の記載から明確となる。
【図面の簡単な説明】
【0010】
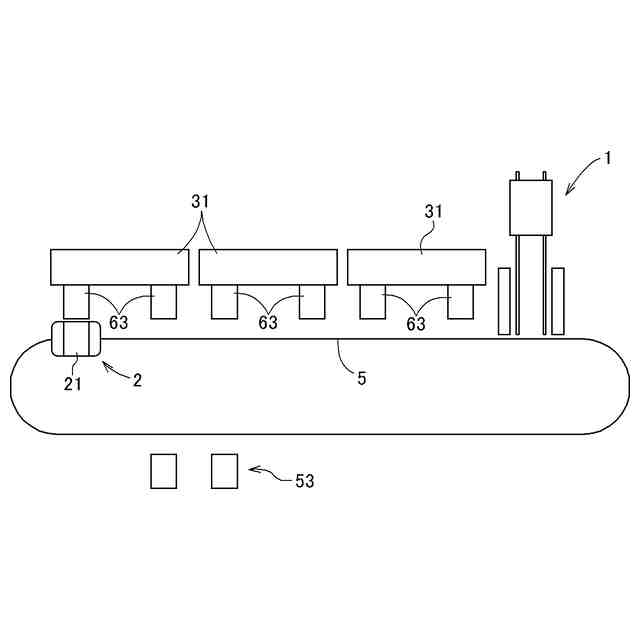
物品保管設備の全体概要図
物品処理装置を模式的に示した断面図
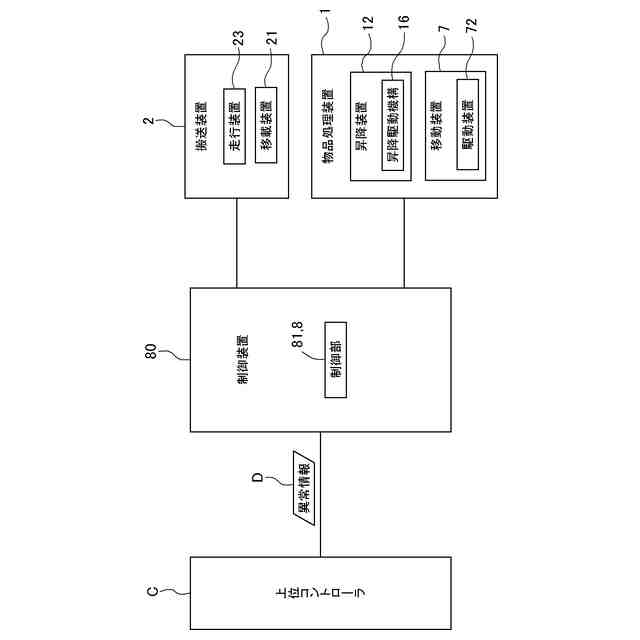
制御ブロック図
物品処理装置における液浸処理を模式的に示した正面図
別実施形態における物品保管設備の全体概要図
別実施形態における物品保管設備の全体概要図
【発明を実施するための形態】
(【0011】以降は省略されています)
この特許をJ-PlatPat(特許庁公式サイト)で参照する
関連特許
株式会社ダイフク
搬送車
8日前
株式会社ダイフク
作業設備
8日前
株式会社ダイフク
作業設備
8日前
株式会社ダイフク
作業設備
8日前
株式会社ダイフク
作業設備
8日前
株式会社ダイフク
作業設備
8日前
株式会社ダイフク
作業設備
8日前
株式会社ダイフク
搬送システム
12日前
株式会社ダイフク
物品搬送設備
18日前
株式会社ダイフク
自動倉庫システム
8日前
台湾大福高科技設備股分有限公司
物体搬送システム
8日前
台湾大福高科技設備股分有限公司
物体搬送システム
12日前
株式会社ダイフク
物品仕分け設備
7日前
個人
箱
12か月前
個人
ゴミ箱
11か月前
個人
収容箱
2か月前
個人
コンベア
4か月前
個人
段ボール箱
6か月前
個人
容器
8か月前
個人
ゴミ収集器
6か月前
個人
段ボール箱
6か月前
個人
楽ちんハンド
4か月前
個人
土嚢運搬器具
7か月前
個人
バンド
1か月前
個人
角筒状構造体
4か月前
個人
パウチ補助具
11か月前
個人
宅配システム
6か月前
個人
閉塞装置
9か月前
個人
コード類収納具
7か月前
個人
お薬の締結装置
5か月前
個人
廃棄物収容容器
2か月前
個人
包装容器
18日前
個人
ゴミ処理機
8か月前
個人
把手付米袋
3か月前
個人
蓋閉止構造
3か月前
株式会社和気
包装用箱
8か月前
続きを見る
他の特許を見る