TOP
|
特許
|
意匠
|
商標
特許ウォッチ
Twitter
他の特許を見る
公開番号
2025117129
公報種別
公開特許公報(A)
公開日
2025-08-12
出願番号
2024011825
出願日
2024-01-30
発明の名称
インシュレータの製造方法及びインシュレータの構成部品
出願人
フタバ産業株式会社
代理人
名古屋国際弁理士法人
主分類
F01N
13/18 20100101AFI20250804BHJP(機械または機関一般;機関設備一般;蒸気機関)
要約
【課題】インシュレータの構成部品である2つの部材をかしめ加工によって接合する際、各部材のかしめ部分をしっかりと接触させて、インシュレータを製造できるようにする。
【解決手段】インシュレータの構成部品は、排気部材が収納される中空部を挟んで2分割された第1部材と第2部材とを備え、第1部材及び第2部材は、中空部を挟んで対向する開口端縁に、外方向に突出されたかしめ部を備える。第2部材のかしめ部は、第1部材のかしめ部と接触する接触部と、接触部から外方向に延出されて第1部材のかしめ部側に屈曲されたフランジ部と、接触部とフランジ部との間の屈曲部を第1部材のかしめ部から離隔させる逃し部と、を備える。
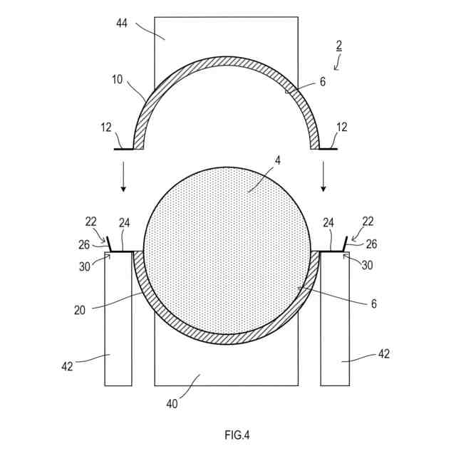
【選択図】図4
特許請求の範囲
【請求項1】
車両のエンジンの排気を流下させる排気部材が収納される中空部を有する筒状のインシュレータを、前記中空部を挟んで2分割された第1部材と第2部材を含む構成部品から製造する製造方法であって、
前記第1部材及び前記第2部材の各々は、前記中空部を挟んで対向する開口端縁に、前記中空部とは反対側である外方向に突出されたかしめ部を備え、
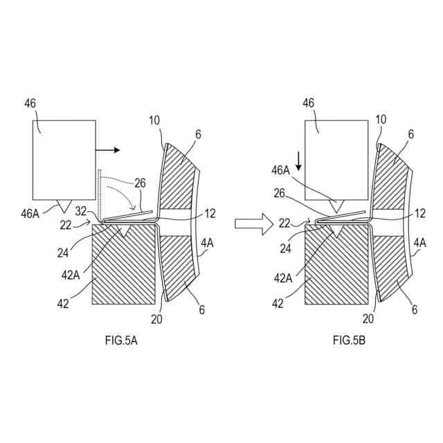
前記第2部材の前記かしめ部は、前記第1部材の前記かしめ部と接触する接触部と、前記接触部から前記外方向に延出されて前記第1部材の前記かしめ部側に屈曲されたフランジ部と、前記接触部と前記フランジ部との間の屈曲部を前記第1部材の前記かしめ部から離隔させる逃し部と、を備え、
前記インシュレータの製造方法は、
前記第1部材と前記第2部材を、前記排気部材を囲む位置に配置して、前記第1部材の前記かしめ部と前記第2部材の前記接触部とを接触させる第1工程と、
前記第1工程後に、前記第2部材の前記かしめ部を前記屈曲部で折り曲げ、前記第1部材の前記かしめ部を、前記第2部材の前記接触部と前記フランジ部との間に挟む第2工程と、
前記第2工程後に、前記第1部材及び前記第2部材の前記かしめ部をかしめる第3工程と、
を有するインシュレータの製造方法。
続きを表示(約 680 文字)
【請求項2】
車両のエンジンの排気を流下させる排気部材が収納される中空部を有する筒状のインシュレータの構成部品であって、
前記中空部を挟んで2分割された第1部材と第2部材とを備え、
前記第1部材及び前記第2部材の各々は、前記中空部を挟んで対向する開口端縁に、前記中空部とは反対側である外方向に突出されたかしめ部を備え、
前記第2部材の前記かしめ部は、前記第1部材の前記かしめ部と接触する接触部と、前記接触部から前記外方向に延出されて前記第1部材の前記かしめ部側に屈曲されたフランジ部と、前記接触部と前記フランジ部との間の屈曲部を前記第1部材の前記かしめ部から離隔させる逃し部と、を備えている、インシュレータの構成部品。
【請求項3】
前記第2部材において、前記かしめ部の前記接触部と前記フランジ部との角度は、90度よりも大きい、請求項2に記載のインシュレータの構成部品。
【請求項4】
前記第2部材において、前記かしめ部の前記逃し部は、前記接触部を前記第1部材の前記かしめ部と接触させたときに前記屈曲部が前記第1部材の前記かしめ部から離れるように前記接触部を屈曲させた曲げ部を含む、請求項2又は請求項3に記載のインシュレータの構成部品。
【請求項5】
前記第2部材の前記接触部を前記第1部材の前記かしめ部と接触させたときの前記曲げ部から前記第1部材の前記かしめ部の先端まで長さと、前記第2部材の前記曲げ部から前記屈曲部までの長さは、同じである、請求項4に記載のインシュレータの構成部品。
発明の詳細な説明
【技術分野】
【0001】
本開示は、車両のエンジンの排気を流下させる排気部材を覆う筒状のインシュレータの製造方法、及び、その製造に用いられるインシュレータの構成部品に関する。
続きを表示(約 1,300 文字)
【背景技術】
【0002】
特許文献1には、インシュレータの構成部品として、排気部材が収納される中空部を挟んで分割された2つの部材を用意し、各部材の開口端縁から突出されたフランジをかしめることで、筒状のインシュレータを製造する、製造方法が記載されている。また、特許文献1には、各部材に設けられるフランジのうち、一方のフランジの開口端縁からの突出長さを他方のフランジよりも長くし、外側部分を他方のフランジ側に直角に折り曲げることが記載されている。
【0003】
また、この2つの部材を用いてインシュレータの製造する際には、フランジの外側部分の部材本体側に、他方の部材のフランジを配置して、外側部分を更に折り曲げることで、外側部分とフランジとの間に他方の部材のフランジを挟むことも記載されている。そして、この状態で2つのフランジをかしめることで、インシュレータの構成部品である2つの部材をしっかりと接合することができる。
【先行技術文献】
【特許文献】
【0004】
特開2019-94852号公報
【発明の概要】
【発明が解決しようとする課題】
【0005】
しかしながら、特許文献1に記載の製造方法では、開口端縁からの突出長さが長いフランジの外側部分が折り曲げられているので、製造時に、排気部材を挟んで2つの部材を対向配置した際、そのフランジの外側部分と他方のフランジとが干渉することがあった。
【0006】
そして、このように、一方のフランジの外側部分と他方のフランジとが干渉すると、各部材のフランジ同士を接触させることができず、その後のかしめ加工を正常に実施することができなくなる、という問題が生じる。
【0007】
本開示の一局面は、インシュレータの構成部品である2つの部材をかしめ加工によって接合する際、各部材のかしめ部分をしっかりと接触させて、インシュレータを良好に製造できるようにすることを目的とする。
【課題を解決するための手段】
【0008】
本開示の一局面は、車両のエンジンの排気を流下させる排気部材が収納される中空部を有する筒状のインシュレータを、中空部を挟んで2分割された第1部材と第2部材とを含む構成部品から製造する製造方法である。
【0009】
ここで、インシュレータの構成部品である第1部材及び第2部材の各々は、中空部を挟んで対向する開口端縁に、中空部とは反対側である外方向に突出されたかしめ部を備える。そして、第2部材のかしめ部は、第1部材のかしめ部と接触する接触部と、接触部から外方向に延出されて第1部材のかしめ部側に屈曲されたフランジ部と、接触部とフランジ部との間の屈曲部を第1部材のかしめ部から離隔させる逃し部とを備える。
【0010】
一方、本開示のインシュレータの製造方法は、第1工程と、第2工程と、第3工程とを有する。このうち、第1工程では、第1部材と第2部材を、排気部材を囲む位置に配置して、第1部材のかしめ部と第2部材の接触部とを接触させる。
(【0011】以降は省略されています)
この特許をJ-PlatPat(特許庁公式サイト)で参照する
関連特許
フタバ産業株式会社
消音器
26日前
フタバ産業株式会社
消音器
1か月前
フタバ産業株式会社
熱交換器
2か月前
フタバ産業株式会社
排気系部品
26日前
フタバ産業株式会社
ブラケット
2か月前
フタバ産業株式会社
パイプの連結構造
1か月前
フタバ産業株式会社
管状部材の製造方法
2か月前
フタバ産業株式会社
フロア部材の製造方法
2か月前
フタバ産業株式会社
ステアリング支持装置
20日前
フタバ産業株式会社
アンダーボディー部材
2か月前
フタバ産業株式会社
熱交換器及び熱交換システム
2か月前
フタバ産業株式会社
排気部品及び排気部品の製造方法
1か月前
フタバ産業株式会社
プレス成形品及びプレス成形品の製造方法
2か月前
フタバ産業株式会社
ボディー部材、及びボディー部材の製造方法
2か月前
フタバ産業株式会社
プレス成形装置及びプレス成形品の製造方法
2か月前
フタバ産業株式会社
触媒の盗難抑制構造及び触媒の盗難抑制システム
10日前
フタバ産業株式会社
解析装置、解析方法、及びコンピュータプログラム
2か月前
フタバ産業株式会社
インシュレータの製造方法及びインシュレータの構成部品
2か月前
トヨタ自動車株式会社
計測システム
12日前
株式会社豊田自動織機
エンジン式産業車両
18日前
本田技研工業株式会社
排気装置
17日前
本田技研工業株式会社
排気装置
17日前
本田技研工業株式会社
排気装置
17日前
株式会社クボタ
多目的車両
10日前
株式会社クボタ
多目的車両
10日前
トヨタ自動車株式会社
エンジンシステム
24日前
株式会社SUBARU
ピストン冷却構造
1か月前
トヨタ自動車株式会社
内燃機関の制御装置
1か月前
トヨタ自動車株式会社
水素エンジン
3日前
トヨタ自動車株式会社
制御装置
1か月前
トヨタ自動車株式会社
制御装置
1か月前
フタバ産業株式会社
消音器
1か月前
マレリ株式会社
消音器
18日前
フタバ産業株式会社
消音器
26日前
三浦工業株式会社
船舶用発電システム
24日前
フタバ産業株式会社
排気系部品
26日前
続きを見る
他の特許を見る