TOP
|
特許
|
意匠
|
商標
特許ウォッチ
Twitter
他の特許を見る
公開番号
2025120808
公報種別
公開特許公報(A)
公開日
2025-08-18
出願番号
2024015914
出願日
2024-02-05
発明の名称
アンダーボディー部材
出願人
フタバ産業株式会社
,
株式会社青山製作所
代理人
名古屋国際弁理士法人
主分類
F16B
35/04 20060101AFI20250808BHJP(機械要素または単位;機械または装置の効果的機能を生じ維持するための一般的手段)
要約
【課題】水の進入を抑制する。
【解決手段】アンダーボディー部材は、車両のアンダーボディーに含まれる部材であり、取付面と、かしめボルトと、を備える。かしめボルトは、取付面から突出するように設けられる。かしめボルトの根元側の端面は、取付面に、かしめにより接合されている。
【選択図】図3
特許請求の範囲
【請求項1】
車両のアンダーボディーに含まれるアンダーボディー部材であって、
取付面と、
前記取付面から突出するように設けられたかしめボルトと、
を備え、
前記かしめボルトの根元側の端面は、前記取付面に、かしめにより接合されている
アンダーボディー部材。
続きを表示(約 120 文字)
【請求項2】
請求項1に記載のアンダーボディー部材であって、
前記取付面は、前記車両の内側に向かうように設けられており、
前記かしめボルトは、前記車両の内側に向かって突出する
アンダーボディー部材。
発明の詳細な説明
【技術分野】
【0001】
本開示は、アンダーボディー部材に関する。
続きを表示(約 1,200 文字)
【背景技術】
【0002】
特許文献1に記載されているように、部材にかしめ接合されるかしめボルトが知られている。このようなかしめボルトを用いることで、ウェルドボルトを用いる場合に比べ、部材への接合に必要な作業負荷を低減できる。
【先行技術文献】
【特許文献】
【0003】
特開2022-16813号公報
【発明の概要】
【発明が解決しようとする課題】
【0004】
しかしながら、特許文献1のかしめボルトは、軸部が部材の貫通孔を貫通した状態でヘッドの座面が部材にかしめ接合されるため、このかしめボルトを用いる場合には、部材に貫通孔を形成する必要がある。これに対し、車両のボディーの下部を構成するアンダーボディー部材は、錆びの抑制のため、他の部材に比べ、より一層、水の進入を阻止することが求められる。
【0005】
本開示の一態様では、水の進入を抑制するのが望ましい。
【課題を解決するための手段】
【0006】
本開示の一態様は、車両のアンダーボディーに含まれるアンダーボディー部材であって、取付面と、かしめボルトと、を備える。かしめボルトは、取付面から突出するように設けられる。かしめボルトの根元側の端面は、取付面に、かしめにより接合されている。
【0007】
上記構成によれば、アンダーボディー部材に貫通孔を設けること無く、アンダーボディー部材にボルトを接合できる。このため、水の進入を抑制できる。
本開示の一態様では、取付面は、車両の内側に向かうように設けられていてもよい。かしめボルトは、車両の内側に向かって突出してもよい。
【0008】
上記構成によれば、好適にボルトを用いることができる。
【図面の簡単な説明】
【0009】
車両のボディーの説明図である。
かしめボルトの説明図である。
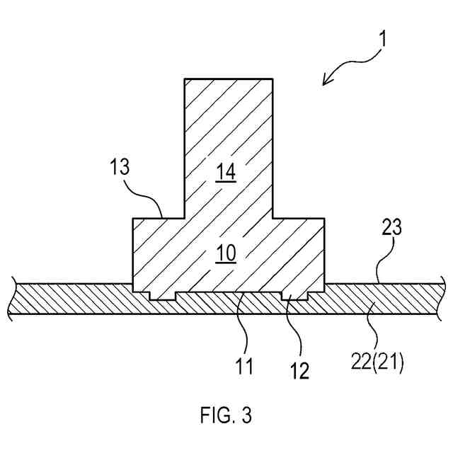
アンダーボディー部材にかしめ接合されたかしめボルトの説明図である。
かしめボルトをアンダーボディー部材に接合する際の説明図である。
【発明を実施するための形態】
【0010】
以下、本開示の例示的な実施形態について図面を参照しながら説明する。
[1.アンダーボディー]
車両のボディー2における下部に位置する部分は、アンダーボディー20と呼ばれる(図1参照)。以後、アンダーボディー20に含まれる部材を、アンダーボディー部材21と記載する。アンダーボディー部材21とは、例えば、車両のキャビン及びトランクルームのフロア、又は、エンジンルームの下部に含まれる部材や、ドアの下方に位置するサイドシル等に含まれる部材であってもよい。そして、本実施形態のアンダーボディー部材21には、少なくとも1つのかしめボルト1(図2参照)が接合されている。
(【0011】以降は省略されています)
この特許をJ-PlatPat(特許庁公式サイト)で参照する
関連特許
個人
鍋虫ねじ
1か月前
個人
紛体用仕切弁
1か月前
個人
回転伝達機構
2か月前
個人
差動歯車用歯形
3か月前
個人
給排気装置
2日前
個人
ジョイント
20日前
個人
ナット
21日前
株式会社不二工機
電磁弁
3か月前
個人
地震の揺れ回避装置
2か月前
個人
吐出量監視装置
1か月前
カヤバ株式会社
ダンパ
3か月前
カヤバ株式会社
ダンパ
3か月前
カヤバ株式会社
緩衝器
3か月前
カヤバ株式会社
緩衝器
3か月前
柿沼金属精機株式会社
分岐管
1か月前
カヤバ株式会社
緩衝器
1日前
株式会社ノーリツ
分配弁
6日前
株式会社不二工機
電動弁
2日前
アズビル株式会社
回転弁
14日前
株式会社タカギ
水栓装置
2か月前
株式会社奥村組
制振機構
10日前
株式会社不二工機
電磁弁
1か月前
株式会社奥村組
制振機構
10日前
株式会社ニフコ
クリップ
6日前
株式会社ケアコム
取付器具
2か月前
株式会社不二越
転がり軸受
1か月前
個人
ワンウェイベアリング
2か月前
井関農機株式会社
作業車両
3か月前
アイホン株式会社
電気機器
10日前
株式会社有恒商会
伸縮継手
3か月前
株式会社オンダ製作所
識別リング
2か月前
個人
誘導電流活用式差動制限装置
6日前
個人
交互ピッチ湾曲保持ばね構造体
1か月前
カシオ計算機株式会社
支持台
6日前
株式会社TOP-UP
固定具
2か月前
株式会社ブリヂストン
管継手
3か月前
続きを見る
他の特許を見る