TOP
|
特許
|
意匠
|
商標
特許ウォッチ
Twitter
他の特許を見る
10個以上の画像は省略されています。
公開番号
2025116800
公報種別
公開特許公報(A)
公開日
2025-08-08
出願番号
2024163877
出願日
2024-09-20
発明の名称
ペブルベッド式の高温炉に適用される燃焼度測定位置決め装置
出願人
華能核能技術研究院有限公司
代理人
園田・小林弁理士法人
主分類
G21C
1/07 20060101AFI20250801BHJP(核物理;核工学)
要約
【課題】燃料要素が粉塵、破片の環境で運転することを考慮していない場合に直面した燃料ボールの詰まりの問題を解決する。
【解決手段】受圧ユニットは、受圧箱体及びエンドフランジを含み、受圧箱体の内部に配置空間が開設され、エンドフランジは、受圧箱体の開口側接続され、回転子ユニットは、回転軸、取り出し盤及び分配盤を含み、取り出し盤及び分配盤は、いずれも回転軸に外嵌され、且つ配置空間内に取り付けられ、ブッシュユニットは、第1ブッシュ及び第2ブッシュを含み、第1ブッシュ及び第2ブッシュは、取り出し盤及び分配盤外嵌され、逆止ユニットは、回転軸に外嵌され、エンドフランジに接続され、軸受アセンブリは、第1軸受及び第2軸受を含み、第1軸受及び第2軸受は、エンドフランジ及び受圧箱体内に設けられ、駆動ユニットは、サーボモータ、減速機、カップリング及び磁力同期装置を含み、それらは、いずれも順次に接続されている。
【選択図】図1
特許請求の範囲
【請求項1】
ペブルベッド式の高温炉に適用される燃焼度測定位置決め装置であって、
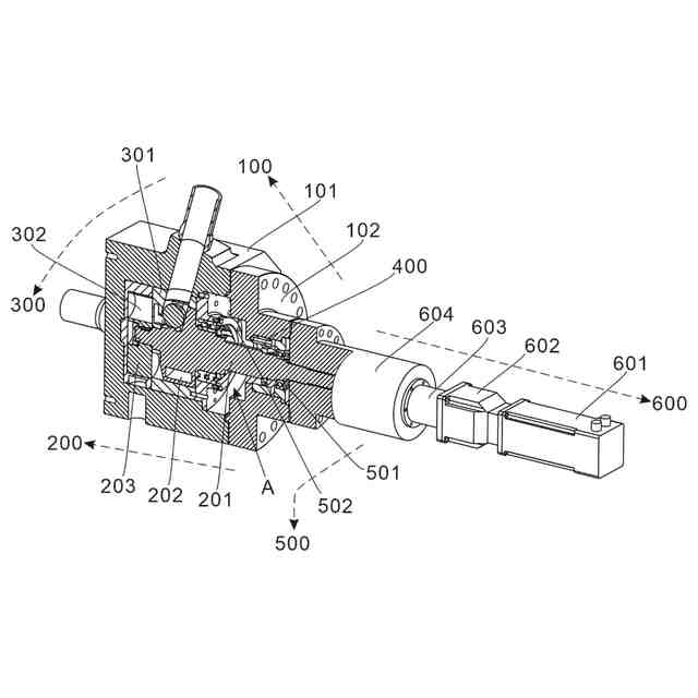
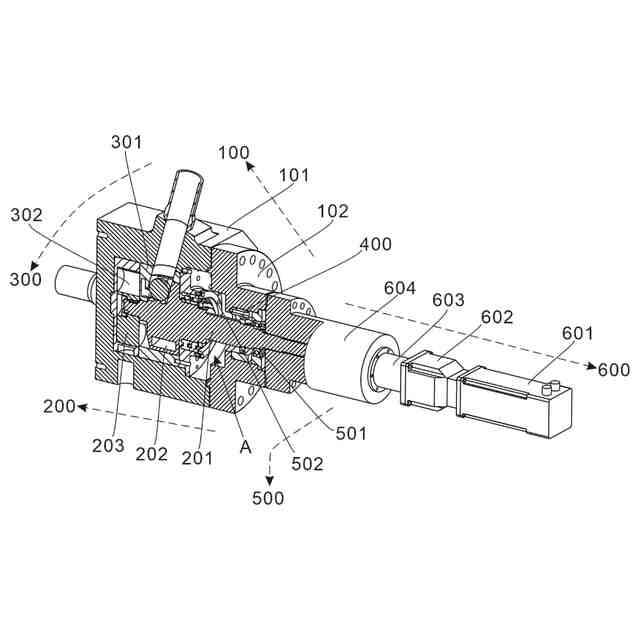
受圧ユニット(100)と、回転子ユニット(200)と、ブッシュユニット(300)と、逆止ユニット(400)と、軸受アセンブリ(500)と、駆動ユニット(600)とを含み、
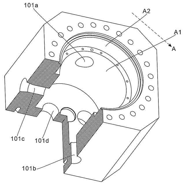
前記受圧ユニット(100)は、受圧箱体(101)及びエンドフランジ(102)を含み、前記受圧箱体(101)は、一方側に開口し、内部に配置空間(A)が開設され、前記エンドフランジ(102)は、受圧箱体(101)の開口側に接続され、
前記回転子ユニット(200)は、回転軸(201)、取り出し盤(202)及び分配盤(203)を含み、前記取り出し盤(202)及び分配盤(203)は、いずれも回転軸(201)に外嵌され、且つ前記取り出し盤(202)及び分配盤(203)は、いずれも配置空間(A)内に配置可能であり、
前記ブッシュユニット(300)は、第1ブッシュ(301)及び第2ブッシュ(302)を含み、前記第1ブッシュ(301)及び第2ブッシュ(302)は、それぞれ取り出し盤(202)及び分配盤(203)に外嵌され、
前記逆止ユニット(400)は、回転軸(201)に外嵌され、且つ前記エンドフランジ(102)に接続され、
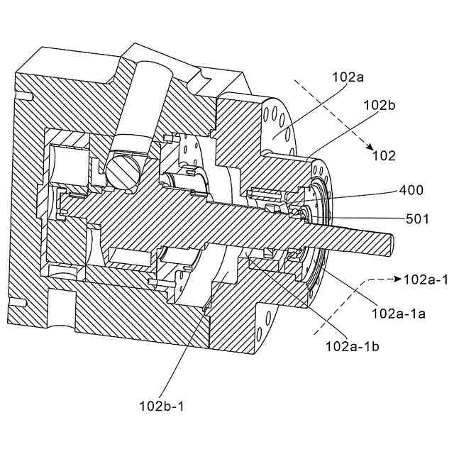
前記軸受アセンブリ(500)は、第1軸受(501)及び第2軸受(502)を含み、前記第1軸受(501)は、エンドフランジ(102)内に設けられ、前記第2軸受(502)は、受圧箱体(101)内に設けられ、且つ前記取り出し盤(202)に接続され、
前記駆動ユニット(600)は、サーボモータ(601)、減速機(602)、カップリング(603)及び磁力同期装置(604)を含み、前記磁力同期装置(604)は、両端がそれぞれカップリング(603)及びエンドフランジ(102)に接続され、その出力軸が回転軸(201)に接続され、前記減速機(602)の両端は、サーボモータ(601)の出力軸及びカップリング(603)に接続されている、ことを特徴とするペブルベッド式の高温炉に適用される燃焼度測定位置決め装置。
続きを表示(約 2,500 文字)
【請求項2】
前記配置空間(A)は、静止空間(A1)及び分配空間(A2)を含み、前記静止空間(A1)及び分配空間(A2)は、同軸に開設され、且つ前記静止空間(A1)は、受圧箱体(101)の開口に位置し、前記第2軸受(502)は、静止空間(A1)内に設けられ、
前記受圧箱体(101)のその開口端に隣接する三側の側壁にそれぞれ第1ボール進入孔(101a)、第1パージ孔 (101b)及びコリメート孔(101c)が開設され、前記第1ボール進入孔(101a)とコリメート孔(101c)との位置は、対向し、
前記受圧箱体(101)の閉鎖端に第1ボール退出孔(101d)が対称的に開設されている、ことを特徴とする請求項1に記載のペブルベッド式の高温炉に適用される燃焼度測定位置決め装置。
【請求項3】
前記取り出し盤(202)は、回転軸(201)に固定して外嵌され、その側壁にボール受け溝(202a)が傾斜して開設され、
前記分配盤(203)は、回転軸(201)に固定して係着され、前記分配盤(203)に取り出し孔(203a)が偏心して開設され、前記取り出し孔(203a)の位置は、ボール受け溝(202a)に対応する、ことを特徴とする請求項2に記載のペブルベッド式の高温炉に適用される燃焼度測定位置決め装置。
【請求項4】
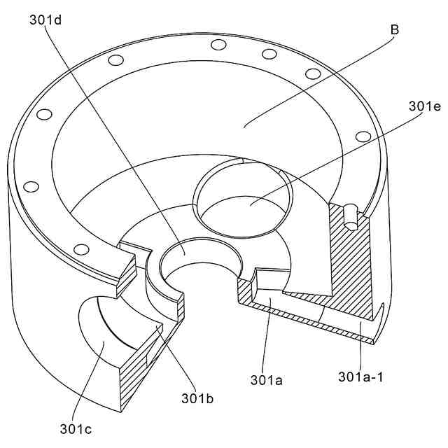
前記第1ブッシュ(301)内に輸送空間(B)が開設され、且つ前記第1ブッシュ(301)内にさらに集塵キャビティ(301a)が開設され、前記輸送空間(B)と集塵キャビティ(301a)との間に傾斜壁(301b)が仕切って接続され、且つ前記輸送空間(B)は、集塵キャビティ(301a)と連通する、ことを特徴とする請求項3に記載のペブルベッド式の高温炉に適用される燃焼度測定位置決め装置。
【請求項5】
前記第1ブッシュ(301)の側壁に第2ボール進入孔(301c)が開設され、前記第2ボール進入孔(301c)は、輸送空間(B)と連通し、前記第2ボール進入孔(301c)の位置は、第1ボール進入孔(101a)に対応し、前記取り出し盤(202)は、輸送空間(B)内に嵌合して配置可能である、ことを特徴とする請求項4に記載のペブルベッド式の高温炉に適用される燃焼度測定位置決め装置。
【請求項6】
前記集塵キャビティ(301a)の側壁にさらに第2パージ孔 (301a―1)が開設され、前記第2パージ孔 (301a―1)は、第1パージ孔 (101b)の位置に対応し、前記第1ブッシュ(301)の閉鎖端の中央部に第1回転孔(301d)が開設され、前記回転軸(201)は、回転して第1回転孔(301d)内を通ることができ、前記第1回転孔(301d)の一方側の第1ブッシュ(301)の内壁にさらに第2ボール退出孔(301e)が開設されている、ことを特徴とする請求項5に記載のペブルベッド式の高温炉に適用される燃焼度測定位置決め装置。
【請求項7】
前記第2ブッシュ(302)は、一端が開口し、その開口端が第1ブッシュ(301)の端部に固定して接続され、前記第2ブッシュ(302)の閉鎖端に第3ボール退出孔(302a)が対称的に開設され、前記第2ブッシュ(302)の側壁に検出孔(302b)が開設され、前記検出孔(302b)は、コリメート孔(101c)の位置に対応する、ことを特徴とする請求項6に記載のペブルベッド式の高温炉に適用される燃焼度測定位置決め装置。
【請求項8】
前記第2軸受(502)は、固定台(502a)及び軸受嵌合部材(502b)を含み、前記軸受嵌合部材(502b)は、固定台(502a)内に回転可能に嵌合され、前記回転軸(201)は、軸受嵌合部材(502b)内に固定して挿着され、前記固定台(502a)は、静止空間(A1)の内壁に固定して接続され、
前記第1軸受(501)の構造は、第2軸受(502)の構造と同じである、ことを特徴とする請求項7に記載のペブルベッド式の高温炉に適用される燃焼度測定位置決め装置。
【請求項9】
前記エンドフランジ(102)は、第1端(102a)及び第2端(102b)を含み、前記第1端(102a)は、第2端(102b)の一方側に固定して接続され、前記第1端(102a)及び第2端(102b)内にそれぞれ安定孔(102a―1)及び第3回転孔(102b―1)が同軸に開設され、
前記安定孔(102a―1)は、回転軸孔(102a―1a)及び逆止孔(102a―1b)を含み、前記第1軸受(501)及び逆止ユニット(400)は、それぞれ回転軸孔(102a―1a)及び逆止孔(102a―1b)内に嵌合して固定接続されている、ことを特徴とする請求項8に記載のペブルベッド式の高温炉に適用される燃焼度測定位置決め装置。
【請求項10】
前記逆止ユニット(400)は、ポール台(401)、ポール(402)、ポール固定ピン(403)及びラチェット(404)を含み、
前記ラチェット(404)は、回転軸(201)に固定して外嵌され、その外壁に弧形係止部材(404a)が固定して接続され、前記ポール台(401)は、逆止孔(102a―1b)内に同軸に固定して接続され、前記ポール台(401)の内壁にリバウンド溝(401a)が開設され、前記ポール固定ピン(403)の両端は、リバウンド溝(401a)に回転可能に接続され、その軸線がポール台(401)の軸線に平行であり、前記ポール(402)は、ポール固定ピン(403)の外壁に固定して接続され、且つリバウンド溝(401a)内に嵌合して配置可能であり、前記ポール固定ピン(403)にさらにトーションスプリング(403a)が固定して外嵌され、前記トーションスプリング(403a)の他端は、ポール台(401)の内壁に固定して接続されている、ことを特徴とする請求項9に記載のペブルベッド式の高温炉に適用される燃焼度測定位置決め装置。
発明の詳細な説明
【技術分野】
【0001】
本発明は、原子炉工事の技術分野に関し、特にペブルベッド式の高温炉に適用される燃焼度測定位置決め装置に関する。
続きを表示(約 2,400 文字)
【背景技術】
【0002】
高温ガス冷却炉が有する固有の安全性が高く、高品質のプロセス熱源及び高パラメータ蒸気、小型でモジュール化の設計及び構築が可能であり、発電効率が高く、環境に優しいことなどの特性は、高温炉の他の炉型に対する根本的な利点であり、国際的に認められた四世代の原子力発電の特徴を有する先進的な炉型の1つである。燃料積み下ろしシステムは、高温ガス冷却炉のオンライン燃料交換システムとして、高温炉の長期の安全で安定した運転を保証する重要なシステムであるため、燃料積み下ろしシステムの連続運転能力は、高温炉の安全運転レベルを直接決定する。
【発明の概要】
【発明が解決しようとする課題】
【0003】
燃料積み下ろしシステムが正常に運転する時、球状の燃料要素の燃焼度測定位置決め、指向性分配及びガス遮断機能を実行する必要があり、現在、国内外の主流のペブルベッド式の高温炉は、いずれも複数の装置を用いてその機能を実行し、システムの配置に十分な取付空間及び点検修理空間を提供する必要があり、そによって、燃料の輸送経路が冗長であり、且つこれらの炉型に設計された装置は、いずれも燃料要素がヘリウムガス、粉塵、破片の環境で運転する際に直面した燃料ボールの詰まりの問題を十分に考慮しておらず、システムの運転及び高放射性環境での装置の点検修理に大きな課題をもたらす。そのため、燃料積み下ろしシステムの重要な装置の集積化設計を展開し、システムをさらに簡略化し、高温炉の投資コストを低減させることに有利であるだけでなく、原子炉の長期の安全で安定した運転能力を向上させることにも有利である。
【課題を解決するための手段】
【0004】
上述した従来のペブルベッド式の高温炉の燃料積み下ろしシステムに存在した装置の集積度が低く、燃料の輸送経路が冗長で、燃料要素がヘリウムガス、粉塵、破片の環境で運転する場合に直面した燃料ボールの詰まりの問題に鑑みて、本発明を提案した。
【0005】
したがって、本発明は、ペブルベッド式の高温炉に適用される燃焼度測定位置決め装置を提供することを目的とし、その目的は、従来技術において燃料積み下ろしシステムの装置が多く、配置が複雑で、燃料輸送の効率が低いことなどの一連の問題を克服し、材料の分離及び単一化の輸送、燃焼度測定位置決め、燃料指向性分配及びガス遮断機能の高集積化と高信頼性を実現できる燃焼度測定位置決め装置を提供することにある。
【0006】
上述した技術的問題を解決するために、本発明は、以下の解決手段を提供する。ペブルベッド式の高温炉に適用される燃焼度測定位置決め装置であって、受圧ユニットと、回転子ユニットと、ブッシュユニットと、逆止ユニットと、軸受アセンブリと、駆動ユニットとを含み、前記受圧ユニットは、受圧箱体及びエンドフランジを含み、前記受圧箱体は、一方側に開口し、内部に配置空間が開設され、前記エンドフランジは、受圧箱体の開口側に接続され、前記回転子ユニットは、回転軸、取り出し盤及び分配盤を含み、前記取り出し盤及び分配盤は、いずれも回転軸に外嵌され、且つ前記取り出し盤及び分配盤は、いずれも配置空間内に配置可能であり、前記ブッシュユニットは、第1ブッシュ及び第2ブッシュを含み、前記第1ブッシュ及び第2ブッシュは、それぞれ取り出し盤及び分配盤に外嵌され、前記逆止ユニットは、回転軸に外嵌され、且つ前記エンドフランジに接続され、前記軸受アセンブリは、第1軸受及び第2軸受を含み、前記第1軸受は、エンドフランジ内に設けられ、前記第2軸受は、受圧箱体内に設けられ、且つ前記取り出し盤に接続され、前記駆動ユニットは、サーボモータ、減速機、カップリング及び磁力同期装置を含み、前記磁力同期装置は、両端がそれぞれカップリング及びエンドフランジに接続され、その出力軸が回転軸に接続され、前記減速機の両端は、サーボモータの出力軸及びカップリングに接続されている。
【0007】
本発明に係るペブルベッド式の高温炉に適用される燃焼度測定位置決め装置に記載の好ましい解決手段として、前記配置空間は、静止空間及び分配空間を含み、前記静止空間及び分配空間は、同軸に開設され、且つ前記静止空間は、受圧箱体の開口に位置し、前記第2軸受は、静止空間内に設けられ、前記受圧箱体のその開口端に隣接する三側の側壁にそれぞれ第1ボール進入孔、第1パージ孔及びコリメート孔が開設され、前記第1ボール進入孔とコリメート孔との位置は、対向し、前記受圧箱体の閉鎖端に第1ボール退出孔が対称的に開設されている。
【0008】
本発明に係るペブルベッド式の高温炉に適用される燃焼度測定位置決め装置に記載の好ましい解決手段として、前記取り出し盤は、回転軸に固定して外嵌され、その側壁にボール受け溝が傾斜して開設され、前記分配盤は、回転軸に固定して係着され、前記分配盤に取り出し孔が偏心して開設され、前記取り出し孔の位置は、ボール受け溝に対応する。
【0009】
本発明に係るペブルベッド式の高温炉に適用される燃焼度測定位置決め装置に記載の好ましい解決手段として、前記第1ブッシュ内に輸送空間が開設され、且つ前記第1ブッシュ内にさらに集塵キャビティが開設され、前記輸送空間と集塵キャビティとの間に傾斜壁が仕切って接続され、且つ前記輸送空間は、集塵キャビティと連通する。
【0010】
本発明に係るペブルベッド式の高温炉に適用される燃焼度測定位置決め装置に記載の好ましい解決手段として、前記第1ブッシュ側壁に第2ボール進入孔が開設され、前記第2ボール進入孔は、輸送空間と連通し、前記第2ボール進入孔の位置は、第1ボール進入孔に対応し、前記取り出し盤は、輸送空間内に嵌合して配置可能である。
(【0011】以降は省略されています)
この特許をJ-PlatPat(特許庁公式サイト)で参照する
関連特許
個人
常温核融合装置
5か月前
個人
常温核融合装置
5か月前
個人
常温核融合装置
5か月前
個人
トリチウムの除去装置
6か月前
個人
元素変換用固体核融合工程
3か月前
個人
廃炉方法及び固化材
4日前
個人
安山岩を利用した放射線消去装置
3か月前
個人
安山岩を利用した放射線消去装置
4か月前
個人
コンクリート船に乗せた、原子力発電
7か月前
パテントフレア株式会社
核融合反応促進法
5か月前
個人
金属製軽水炉使用済核燃料増殖原子炉
6か月前
パテントフレア株式会社
核融合反応促進法
5か月前
個人
はんれい岩を利用した放射線消去装置
3か月前
個人
装置、加速器、減速器、核変換システム
5か月前
合同会社日本レプトン
電子発生ペースト
8日前
株式会社エー・アンド・デイ
X線検査装置
5か月前
株式会社エー・アンド・デイ
X線検査装置
5か月前
個人
ホウ素を用いるミューオン触媒核融合システム
6か月前
栗田工業株式会社
放射性廃液の処理方法
4日前
PDRファーマ株式会社
遮蔽容器
4か月前
個人
核変換システム、加工装置、除去装置、切除装置
4か月前
個人
過剰熱発生方法
6か月前
住友重機械工業株式会社
搬送システム
2か月前
国立大学法人大阪大学
原子力発電装置
4か月前
株式会社シェルタージャパン
放射線遮蔽構造
7か月前
合同会社日本レプトン
電子発生器具及びその製造方法
8日前
浜松ホトニクス株式会社
電子線照射装置
5か月前
個人
共振励起型固体核融合装置と元素変換用固体核融合工程
3か月前
浜松ホトニクス株式会社
電子線照射装置
5か月前
合同会社日本レプトン
電子発生器具及びその製造方法
8日前
日揮株式会社
放射性廃棄物の固化処理方法
5か月前
株式会社アキュサイト
放射性物質の処理装置および方法
5か月前
個人
過剰熱起電力発生方法
4か月前
三菱重工業株式会社
加圧容器
1か月前
個人
重希ガス冷却増殖原子炉及び未臨界増殖原子炉及び申請書類
7か月前
株式会社大林組
埋め戻し材、埋め戻し材の製造方法
1か月前
続きを見る
他の特許を見る