TOP
|
特許
|
意匠
|
商標
特許ウォッチ
Twitter
他の特許を見る
10個以上の画像は省略されています。
公開番号
2025115135
公報種別
公開特許公報(A)
公開日
2025-08-06
出願番号
2024009500
出願日
2024-01-25
発明の名称
III族窒化物半導体およびその製造方法
出願人
豊田合成株式会社
,
学校法人 名城大学
代理人
弁理士法人あいち国際特許事務所
主分類
H10H
20/85 20250101AFI20250730BHJP()
要約
【課題】サファイアからなる基板とIII族窒化物半導体からなる半導体層の積層体から基板を分離することが可能なIII族窒化物半導体の製造方法を提供する。
【解決手段】III族窒化物半導体の製造方法は、サファイアからなる基板上に、AlGaNまたはAlNの核を発生させて結晶核層を形成する結晶核層形成工程と、結晶核層上にIII族窒化物半導体からなる半導体層を形成する半導体層形成工程と、基板の裏面側からレーザー光を照射し、基板を透過させて結晶核層にレーザー光を吸収させ、これにより結晶核層を発熱させ、結晶核層の熱を基板に伝導させて基板のうち結晶核層との界面近傍の領域を分解してボイドを形成するボイド形成工程と、ボイドの位置で結晶核層から基板を分離する基板分離工程と、を有する。
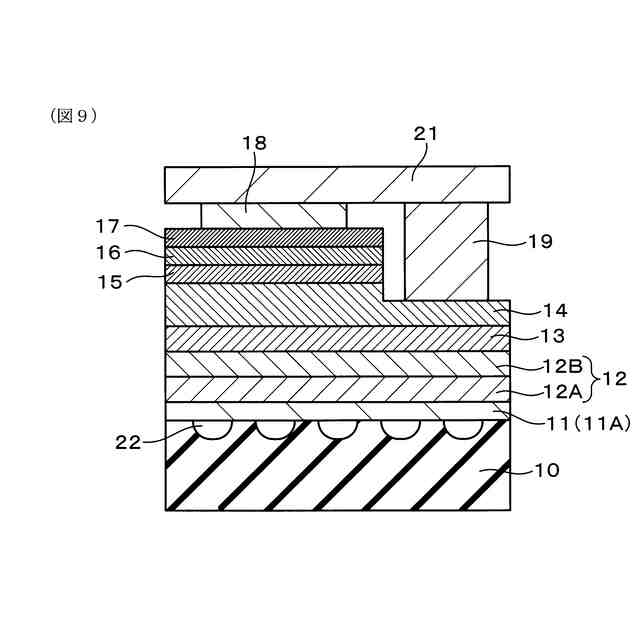
【選択図】図9
特許請求の範囲
【請求項1】
サファイアからなる基板上に、AlGaNまたはAlNの核を発生させて結晶核層を形成する結晶核層形成工程と、
前記結晶核層上にIII族窒化物半導体からなる半導体層を形成する半導体層形成工程と、
前記基板の裏面側からレーザー光を照射し、前記基板を透過させて前記結晶核層に前記レーザー光を吸収させ、これにより前記結晶核層を発熱させ、前記結晶核層の熱を前記基板に伝導させて前記基板のうち前記結晶核層との界面近傍の領域を分解してボイドを形成するボイド形成工程と、
前記ボイドの位置で前記結晶核層から前記基板を分離する基板分離工程と、を有する、III族窒化物半導体の製造方法。
続きを表示(約 1,400 文字)
【請求項2】
前記基板分離工程では、前記結晶核層の前記基板側の面に前記基板の一部を残して凸部を形成する、請求項1に記載のIII族窒化物半導体の製造方法。
【請求項3】
前記結晶核層のAl組成をx、前記レーザー光のエネルギー密度(J/cm
2
)をyとして、前記レーザー光のエネルギー密度yは、y≧3x-1.1を満たす、請求項1に記載のIII族窒化物半導体の製造方法。
【請求項4】
前記レーザー光のエネルギー密度は、1.6J/cm
2
以上である、請求項1に記載のIII族窒化物半導体の製造方法。
【請求項5】
前記レーザー光のエネルギー密度は、5J/cm
2
以下である、請求項3または請求項4に記載のIII族窒化物半導体の製造方法。
【請求項6】
前記結晶核層の前記核は、Al組成が50%以上のAlGaNまたはAlNである、請求項1に記載のIII族窒化物半導体の製造方法。
【請求項7】
前記半導体層は、前記結晶核層上に形成された低温三次元成長層と、前記低温三次元成長層上に形成された高温三次元成長層とを有し、
前記半導体層形成工程は、
前記結晶核層形成工程よりも低い温度で、前記核からAlGaNまたはAlNを成長させて隣り合う前記核からの結晶同士を合体させ、前記低温三次元成長層を形成する低温三次元成長層形成工程と、
前記低温三次元成長層形成工程よりも高い温度であって前記結晶核層形成工程の温度以下で、前記低温三次元成長層からAlGaNまたはAlNを成長させて前記高温三次元成長層を形成する高温三次元成長層形成工程と、を有する請求項1に記載のIII族窒化物半導体の製造方法。
【請求項8】
前記結晶核層形成工程の温度は1100℃以上1200℃以下であり、
前記低温三次元成長層形成工程の温度は900℃以上1100℃以下であり、
前記高温三次元成長層形成工程の温度は1050℃以上1200℃以下である、請求項7に記載のIII族窒化物半導体の製造方法。
【請求項9】
前記半導体層は、前記結晶核層上に形成された低温三次元成長層と、前記低温三次元成長層上に形成された高温三次元成長層とを有し、
前記半導体層形成工程は、
前記結晶核層よりも遅い成長速度で、前記核からAlGaNまたはAlNを成長させて隣り合う前記核からの結晶同士を合体させ、前記低温三次元成長層を形成する低温三次元成長層形成工程と、
前記低温三次元成長層よりも速い成長速度であって前記結晶核層の成長速度以下で、前記低温三次元成長層からAlGaNまたはAlNを成長させて前記高温三次元成長層を形成する高温三次元成長層形成工程と、を有する請求項1に記載のIII族窒化物半導体の製造方法。
【請求項10】
前記結晶核層の成長速度は5nm/min以上100nm/min以下であり、
前記低温三次元成長層の成長速度は2nm/min以上20nm/min以下であり、
前記高温三次元成長層の成長速度は5nm/min以上50nm/min以下である、請求項9に記載のIII族窒化物半導体の製造方法。
(【請求項11】以降は省略されています)
発明の詳細な説明
【技術分野】
【0001】
本発明は、III族窒化物半導体およびその製造方法に関する。
続きを表示(約 1,500 文字)
【背景技術】
【0002】
基板上に形成された半導体層から基板を分離する技術としてレーザーリフトオフ(LLO)が知られている。レーザーリフトオフは、基板上に半導体層を形成した後、基板の裏面側からレーザー光を照射し、基板と半導体層の界面において半導体層を分解し、半導体層から基板を分離する方法である。
【0003】
特許文献1には、サファイアからなる成長基板上にAlNからなるバッファ層を介してn型層、発光層、p型層を形成した発光素子において、成長基板の裏面側からレーザーを照射してバッファ層を分解し、成長基板を分離することが記載されている。
【先行技術文献】
【特許文献】
【0004】
特開2018-61049号公報
【発明の概要】
【発明が解決しようとする課題】
【0005】
レーザーリフトオフは、基板がサファイアで半導体層がGaNである場合には技術が確立され商業化もされている。一方、AlNはGaNに比べて結合エネルギーが大きいため、Al-Nボンドを容易に切ることができない。そのため、基板がサファイアで半導体層がAlNである場合にはレーザーリフトオフ技術が確立されていない。特許文献1ではバッファ層であるAlNを熱分解させて成長基板を分離しているが、AlNを熱分解させるためにはレーザーの出力を非常に高くする必要があり、実現が困難である。
【0006】
本発明は、かかる背景に鑑みてなされたものであり、サファイアからなる基板とIII族窒化物半導体からなる半導体層の積層体から基板を分離することが可能なIII族窒化物半導体の製造方法を提供しようとするものである。
【課題を解決するための手段】
【0007】
本発明の一態様は、
サファイアからなる基板上に、AlGaNまたはAlNの核を発生させて結晶核層を形成する結晶核層形成工程と、
前記結晶核層上にIII族窒化物半導体からなる半導体層を形成する半導体層形成工程と、
前記基板の裏面側からレーザー光を照射し、前記基板を透過させて前記結晶核層に前記レーザー光を吸収させ、これにより前記結晶核層を発熱させ、前記結晶核層の熱を前記基板に伝導させて前記基板のうち前記結晶核層との界面近傍の領域を分解してボイドを形成するボイド形成工程と、
前記ボイドの位置で前記結晶核層から前記基板を分離する基板分離工程と、を有する、III族窒化物半導体の製造方法にある。
【0008】
本発明の他態様は、
AlGaNまたはAlNの核を発生させて成長させた層である結晶核層と、
前記結晶核層の一方の表面に形成され、III族窒化物半導体からなる半導体層と、
前記結晶核層の他方の表面上に形成され、サファイアからなる複数の凸部と、を有し、
隣接する前記凸部間に前記結晶核層の表面が露出する、III族窒化物半導体にある。
【発明の効果】
【0009】
上記態様では、レーザー光によってサファイアからなる基板の方にボイドを形成しており、結晶核層の方にはボイドを形成する必要がない。そのため、レーザー光の出力を抑えることができる。
【0010】
以上のように、上記態様によれば、サファイアからなる基板とIII族窒化物半導体からなる半導体層の積層体から基板を分離することが可能なIII族窒化物半導体の製造方法を提供することができる。
【図面の簡単な説明】
(【0011】以降は省略されています)
この特許をJ-PlatPat(特許庁公式サイト)で参照する
関連特許
豊田合成株式会社
積層体
1か月前
豊田合成株式会社
調光装置
12日前
豊田合成株式会社
調光装置
1か月前
豊田合成株式会社
調光装置
25日前
豊田合成株式会社
半導体素子
25日前
豊田合成株式会社
乗員保護装置
1か月前
豊田合成株式会社
制御ユニット
4日前
豊田合成株式会社
車両用ビーム
1か月前
豊田合成株式会社
流体殺菌装置
12日前
豊田合成株式会社
車両用ビーム
1か月前
豊田合成株式会社
車両用外装品
1か月前
豊田合成株式会社
検知システム
1か月前
豊田合成株式会社
車両用外装品
1か月前
豊田合成株式会社
車両用発光装置
25日前
豊田合成株式会社
車両用発光装置
25日前
豊田合成株式会社
車両用発光装置
25日前
豊田合成株式会社
エアバッグ装置
4日前
豊田合成株式会社
車両用投影装置
1か月前
豊田合成株式会社
車両用投影装置
1か月前
豊田合成株式会社
車両用照明装置
1か月前
豊田合成株式会社
エアバッグ装置
1か月前
豊田合成株式会社
エアバッグ装置
4日前
豊田合成株式会社
空調用レジスター
1か月前
豊田合成株式会社
車両画像投影装置
1か月前
豊田合成株式会社
車両の音出力装置
1か月前
豊田合成株式会社
車両の前部構造体
1か月前
豊田合成株式会社
車両用空調ダクト
1か月前
豊田合成株式会社
ステアリング装置
1か月前
豊田合成株式会社
車両用ホルダ装置
6日前
豊田合成株式会社
車内照明システム
25日前
豊田合成株式会社
ステアリング装置
12日前
豊田合成株式会社
ステアリング装置
12日前
豊田合成株式会社
車両用ホルダ装置
6日前
豊田合成株式会社
ステアリング装置
12日前
豊田合成株式会社
ステアリング装置
12日前
豊田合成株式会社
車両用ホルダ装置
6日前
続きを見る
他の特許を見る