TOP
|
特許
|
意匠
|
商標
特許ウォッチ
Twitter
他の特許を見る
10個以上の画像は省略されています。
公開番号
2025104319
公報種別
公開特許公報(A)
公開日
2025-07-09
出願番号
2024228245
出願日
2024-12-25
発明の名称
高圧水素容器
出願人
JFEスチール株式会社
,
JFEコンテイナー株式会社
代理人
弁理士法人きさ特許商標事務所
主分類
F17C
1/06 20060101AFI20250702BHJP(ガスまたは液体の貯蔵または分配)
要約
【課題】容器を大容量化させても、製造コスト及び重量の増加を抑制できる高圧水素容器を提供する。
【解決手段】高圧水素容器は、内部の貯留空間で高圧水素を貯留させる筒体と、筒体の開口端部から内部に嵌め込まれ、筒体の開口端部を塞ぎ、筒体の内側と、管軸方向端面との間に空間が形成されている蓋体と、筒体の開口端部から内部に嵌め込まれて外周面が筒体の内周面にねじ締結されており、蓋体を外側から支持して固定させる固定部材と、を備えている。筒体には、固定部材をねじ締結するためのねじ山が内周面に形成され、ねじ山が形成された位置に対応する外周面のうち、少なくとも一部の外周面にリング状の補強部材が密着させて設けられている。
【選択図】図2
特許請求の範囲
【請求項1】
内部の貯留空間で高圧水素を貯留させる筒体と、
前記筒体の開口端部から内部に嵌め込まれ、前記筒体の開口端部を塞ぎ、前記筒体の内側と、管軸方向端面との間に空間が形成されている蓋体と、
前記筒体の開口端部から内部に嵌め込まれて外周面が前記筒体の内周面にねじ締結されており、前記蓋体を外側から支持して固定させる固定部材と、を備え、
前記筒体には、
前記固定部材をねじ締結するためのねじ山が内周面に形成され、
前記ねじ山が形成された位置に対応する外周面のうち、少なくとも一部の外周面にリング状の補強部材が密着させて設けられている、高圧水素容器。
続きを表示(約 680 文字)
【請求項2】
前記補強部材は、
前記蓋体の周方向外側よりも前記筒体の管軸方向端面側に配置されている、請求項1に記載の高圧水素容器。
【請求項3】
前記補強部材は、
前記固定部材の管軸方向の中心から前記筒体の管軸方向端面側に配置されている、請求項1に記載の高圧水素容器。
【請求項4】
前記筒体の外周面に設けられた炭素繊維強化樹脂層を更に備えている、請求項1~3のいずれか1項に記載の高圧水素容器。
【請求項5】
前記固定部材は、外周面にねじ山が形成されたグランドナットである、請求項1~3のいずれか1項に記載の高圧水素容器。
【請求項6】
前記補強部材は、少なくとも一部が、前記固定部材が固定された位置に対応する外周面に密着させて設けられている、請求項1~3のいずれか1項に記載の高圧水素容器。
【請求項7】
前記補強部材は、中空内部が前記筒体の外周面に嵌め込まれることで固定されている、請求項1~3のいずれか1項に記載の高圧水素容器。
【請求項8】
前記補強部材は、前記筒体の外周面に溶接されている、請求項7に記載の高圧水素容器。
【請求項9】
前記補強部材は、低合金鋼又は炭素繊維で形成されている、請求項1~3のいずれか1項に記載の高圧水素容器。
【請求項10】
前記補強部材の肉厚は、前記筒体の肉厚以上である、請求項1~3のいずれか1項に記載の高圧水素容器。
(【請求項11】以降は省略されています)
発明の詳細な説明
【技術分野】
【0001】
本発明は、高圧水素を貯蔵する高圧水素容器に関する。
続きを表示(約 2,300 文字)
【背景技術】
【0002】
従来、高圧水素を内部に貯留させる高圧水素容器は、種々知られており、既に実用に供されている。例えば特許文献1に開示された高圧水素容器は、内部の貯留空間で高圧水素を貯留させる筒状の鋼製容器と、鋼製容器の開口端部を塞ぐプラグと、筒体の開口端部に設けられ、プラグを外側から支持して固定させるグランドナットと、を備えている。また、特許文献2には、蓄圧容器端部の外周面に、円筒シリンダ部の外径に対し5%~10%の内厚を有する補強リングを設け、ねじ底応力を低減させる技術が開示されている。
【先行技術文献】
【特許文献】
【0003】
特開2022-8842号公報
特開2019-82188号公報
【発明の概要】
【発明が解決しようとする課題】
【0004】
ところで、近年、水素の利用増大に伴って、高圧水素容器の大容量化が求められている。例えば、容器の内径を大きくすると共に容器の肉厚を薄くし、グランドナットの管軸方向の長さを短くすることで、高圧水素容器を大容量化させることもできる。しかしながら、このような構成とすることで、全体的に剛性が低下し、貯留した高圧水素の内圧に耐えることができず、容器の開口端が外側に拡がるように変形するおそれがある。一方、容器の内径を大きくしつつ、貯留した高圧水素の内圧に耐えうるように、容器の肉厚及びグランドナットの管軸方向の長さを長くすると、製造コストが増大すると共に、重量が増大してクレーン等によって運搬させる際の許容限度を超えるおそれもある。また、特許文献2の蓋部には、外側に延びる突き出し部が設けられているため、円筒シリンダ部の開口端が外側に変形し難いものの、突き出し部が設けられている分だけ、蓋部の構造が複雑化して、製造コスト及び重量が増加する。
【0005】
本発明は、上記のような課題を解決するためになされたもので、容器を大容量化させても、製造コスト及び重量の増加を抑制できる高圧水素容器を提供することを目的とする。
【課題を解決するための手段】
【0006】
本発明に係る高圧水素容器は、内部の貯留空間で高圧水素を貯留させる筒体と、前記筒体の開口端部から内部に嵌め込まれ、前記筒体の開口端部を塞ぎ、前記筒体の内側と、管軸方向端面との間に空間が形成されている蓋体と、前記筒体の開口端部から内部に嵌め込まれて外周面が前記筒体の内周面にねじ締結されており、前記蓋体を外側から支持して固定させる固定部材と、を備え、前記筒体には、前記固定部材をねじ締結するためのねじ山が内周面に形成され、前記ねじ山が形成された位置に対応する外周面のうち、少なくとも一部の外周面にリング状の補強部材が密着させて設けられているものである。
【発明の効果】
【0007】
本発明によれば、固定部材をねじ締結するためのねじ山が筒体の内周面に形成され、ねじ山が形成された位置に対応する部分における少なくとも一部の筒体の外周面にリング状の補強部材が密着させて設けられているので、貯留空間に貯留した高圧水素の内圧によって筒体の開口端が外側に拡がるように変形する事態を抑制することができる。よって、筒体の内径を大きくすると共に筒体の肉厚を薄くし、固定部材の管軸方向の長さを短くして、高圧水素容器を大容量化させることができると共に、製造コスト及び重量の増加を抑制できる。
【図面の簡単な説明】
【0008】
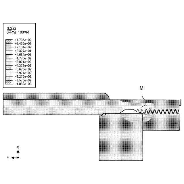
実施の形態に係る高圧水素容器の一例を模式的に示した断面図である。
図1に示したA部の拡大図である。
従来の高圧水素容器であって、筒体の開口端部における軸方向応力の大きさをFEM解析により求めた説明図である。
大容量化させた高圧水素容器であって、筒体の開口端部における軸方向応力の大きさをFEM解析により求めた説明図である。
高圧水素容器を大容量化させた場合における応力の作用を示した説明図である。
従来の高圧水素容器の一例を模式的に示した説明図である。
実施の形態に係る高圧水素容器の変形例を模式的に示した断面図である。
実施の形態に係る高圧水素容器であって、筒体の開口端部における軸方向応力の大きさをFEM解析により求めた説明図である。
補強部材の位置と軸方向応力との関係を示す図である。
【発明を実施するための形態】
【0009】
以下、図面を参照して、実施の形態について説明する。なお、各図中、同一又は相当する部分には、同一符号を付して、その説明を適宜省略又は簡略化する。また、各図に記載の構成について、その形状、大きさ、及び配置等は、本発明の範囲内で適宜変更することができる。
【0010】
実施の形態.
図1は、実施の形態に係る高圧水素容器100の一例を模式的に示した断面図である。図2は、図1に示したA部の拡大図である。図3は、従来の高圧水素容器であって、筒体の開口端部における軸方向応力の大きさをFEM解析により求めた説明図である。図4は、大容量化させた高圧水素容器100であって、筒体1の開口端部における軸方向応力の大きさをFEM解析により求めた説明図である。図5は、高圧水素容器100を大容量化させた場合における応力の作用を示した説明図である。
(【0011】以降は省略されています)
この特許をJ-PlatPat(特許庁公式サイト)で参照する
関連特許
JFEスチール株式会社
方向性電磁鋼板の製造方法
3日前
JFEスチール株式会社
冷間圧延方法および冷間圧延装置
3日前
JFEスチール株式会社
検査方法、検査装置、及び部材の補修方法
4日前
JFEスチール株式会社
連続処理ラインにおける鋼帯通板装置及び鋼帯通板方法
3日前
株式会社石井鐵工所
低温タンクの揚液装置
3か月前
株式会社石井鐵工所
低温タンクの揚液装置
6か月前
川崎重工業株式会社
竪型タンク
4か月前
川崎重工業株式会社
三重殻タンク
7か月前
川崎重工業株式会社
三重殻タンク
7か月前
川崎重工業株式会社
極低温流体用配管設備
5日前
川崎重工業株式会社
液化水素貯蔵タンク
8か月前
川崎重工業株式会社
液化水素貯蔵タンク
8か月前
トヨタ自動車株式会社
水素タンク
3か月前
川崎重工業株式会社
液化ガス貯蔵タンク
8か月前
帝人株式会社
繊維補強圧力容器及びその製造方法
2か月前
岩谷産業株式会社
燃料ガス充填設備
14日前
株式会社タツノ
充填ノズル
1か月前
株式会社タツノ
充填ノズル
24日前
那須電機鉄工株式会社
水素吸蔵合金タンク
8か月前
トヨタ自動車株式会社
水素充填装置
5か月前
川崎重工業株式会社
低温流体の移送システム
5か月前
豊田合成株式会社
圧力容器
6か月前
株式会社神戸製鋼所
水素吸蔵合金容器
2か月前
トヨタ自動車株式会社
水素消費システム
4か月前
川崎重工業株式会社
三重殻タンクのパージ方法
7か月前
トヨタ自動車株式会社
水素消費システム
3か月前
トヨタ自動車株式会社
タンクモジュール
6か月前
清水建設株式会社
水素貯蔵供給システム
7か月前
オリオン機械株式会社
燃料供給装置および発電システム
5か月前
オリオン機械株式会社
燃料供給装置および発電システム
4か月前
トヨタ自動車株式会社
水素タンクシステム
4か月前
トヨタ自動車株式会社
カートリッジタンク
5か月前
JFEエンジニアリング株式会社
エネルギー貯蔵システム
3か月前
トヨタ自動車株式会社
水素タンクの支持構造
6か月前
JFEエンジニアリング株式会社
エネルギー貯蔵システム
3か月前
トヨタ自動車株式会社
高圧タンクの製造方法
6か月前
続きを見る
他の特許を見る