TOP
|
特許
|
意匠
|
商標
特許ウォッチ
Twitter
他の特許を見る
公開番号
2025081803
公報種別
公開特許公報(A)
公開日
2025-05-28
出願番号
2023194807
出願日
2023-11-16
発明の名称
ケーブル角折れ緩衝構造に用いる硬質型枠材及びケーブル角折れ緩衝構造の機能可変工法
出願人
中井商工株式会社
,
大日本ダイヤコンサルタント株式会社
代理人
個人
,
個人
主分類
E01D
19/16 20060101AFI20250521BHJP(道路,鉄道または橋りょうの建設)
要約
【課題】ケーブル角折れ緩衝構造において、角折れを抑える効果を有しながら、且つ、ケーブルに対しケーブル制振装置を設置し併用する場合にはケーブル制振装置の機能に干渉しない構造へと機能を変えることを可能とする硬質型枠材及び機能可変工法を提供する。
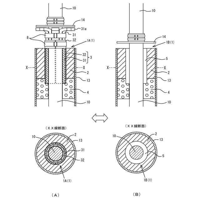
【解決手段】ケーブル角折れ緩衝構造1に用いる硬質型枠材3は、ケーブル10の周方向に配置される複数の部材(31,32)でケーブル10の外周面に沿った筒形状をなし、ケーブル10と角折れ緩衝材2との間に着脱可能に配設される構成を備える。この硬質型枠材3は、ケーブル10と角折れ緩衝材2との間に残置した状態ではケーブル10の変位及び振動が角折れ緩衝材2に伝わるように構成され、ケーブル10と角折れ緩衝材2との間から撤去することでケーブル10と角折れ緩衝材2との間に環状の隙間5を設けた隙間付きの角折れ緩衝材2が形成されるように構成されている。
【選択図】図2
特許請求の範囲
【請求項1】
橋梁に張設されたケーブルの定着部においてケーブルとケーブルの外周を包囲する定着管との間に角折れ緩衝材が設置されたケーブル角折れ緩衝構造に用いる硬質型枠材であって、
ケーブルの周方向に配置される複数の部材でケーブルの外周面に沿った筒形状をなし、ケーブルと角折れ緩衝材との間に着脱可能に配設される構成とし、
ケーブルと角折れ緩衝材との間に残置した状態ではケーブルの変位及び振動が角折れ緩衝材に伝わるように構成され、ケーブルと角折れ緩衝材との間から撤去することでケーブルと角折れ緩衝材との間に環状の隙間を設けた隙間付きの角折れ緩衝材が形成されるように構成されている、ケーブル角折れ緩衝構造に用いる硬質型枠材。
続きを表示(約 1,000 文字)
【請求項2】
細長い棒状の部材から構成され、長さ方向をケーブルの軸線方向に揃えてケーブルの外周面に沿って周方向の全周にわたって並べて配置される複数の棒状型枠材と、
断面円弧の板状の部材から構成され、ケーブルの外周面に配置された複数の棒状型枠材を外側から覆う複数の被覆型枠材とを備える、請求項1に記載のケーブル角折れ緩衝構造に用いる硬質型枠材。
【請求項3】
前記複数の棒状型枠材の各々は、一端側に当該棒状型枠材をケーブルと角折れ緩衝材との間から引き抜いて取り出せるようにするための係止部が設けられている、請求項2に記載のケーブル角折れ緩衝構造に用いる硬質型枠材。
【請求項4】
橋梁に張設されたケーブルの定着部においてケーブルとケーブルの外周を包囲する定着管との間に角折れ緩衝材が設置されたケーブル角折れ緩衝構造の機能を変えることを可能とする工法であって、
請求項1に記載の硬質型枠材を定着管で包囲されたケーブル部分に対しケーブルの外周面の全周を覆うように配置し、前記硬質型枠材と定着管との間の環状空間に角折れ緩衝材を設置し、ケーブルと角折れ緩衝材との間に前記硬質型枠材を残置させてケーブルの変位及び振動が前記硬質型枠材を介して角折れ緩衝材に伝わるようにした第1のケーブル角折れ緩衝構造を施工し、
ケーブルに対しケーブル制振装置を設置し併用する場合、前記第1のケーブル角折れ緩衝構造における前記硬質型枠材を撤去してケーブルと角折れ緩衝材との間に環状の隙間を設けた隙間付きの角折れ緩衝材を形成し、前記ケーブル制振装置の機能に干渉させないようにした第2のケーブル角折れ緩衝構造を施工する、ケーブル角折れ緩衝構造の機能可変工法。
【請求項5】
前記硬質型枠材は、請求項2又は3に記載の棒状型枠材と被覆型枠材とを備え、
前記第1のケーブル角折れ緩衝構造を施工するとき、前記棒状型枠材は、定着管の開口部側に位置する一端側を前記被覆型枠材から露出させた状態にして施工し、
前記第2のケーブル角折れ緩衝構造を施工するとき、前記硬質型枠材をケーブルと角折れ緩衝材との間から撤去する際、前記棒状型枠材の一端側を保持し引き抜くことで前記棒状型枠材を除去し、次いで前記被覆型枠材を除去する、請求項4に記載のケーブル角折れ緩衝構造の機能可変工法。
発明の詳細な説明
【技術分野】
【0001】
本発明は、橋梁に張設されたケーブルの定着部に設けるケーブル角折れ緩衝構造に関するものであり、より詳細には、ケーブル角折れ緩衝構造の機能を変えることを可能とする硬質型枠材及び工法に関する。
続きを表示(約 2,500 文字)
【背景技術】
【0002】
斜張橋、ニールセン橋等の橋梁に張設されたケーブルは、橋の上を走行する車両の重量変動等で動いてケーブルが固定されている定着点に対し曲げ応力が発生し、この現象を角折れと称する。この角折れを抑制する対策として、ケーブルの定着部において、ケーブルとケーブルの外周を包囲する定着管との間に角折れ緩衝材(クッション材)を設置したケーブル角折れ緩衝構造を設け、角折れ緩衝材の弾性力でケーブルの変位を受け止めて抑制し、角折れを抑える。
【0003】
一方、ケーブルは、風等の影響で自発的且つ周期的に振動するケーブル振動が発生し、このケーブル振動を抑制する目的でケーブル制振装置が設置される。ケーブル制振装置は、例えば、定着管や橋桁等に固定した固定部と、ケーブルに固定したケーブル側固定部との間に、粘弾性を有するゴム部材やオイル等で構成した制振部材を介設させた構成とし、制振部材にケーブル振動の力を伝え、制振部材の抵抗力で振動減衰させる。
【先行技術文献】
【特許文献】
【0004】
特開2000-3285a7号公報
特開2020-63619号公報
【発明の概要】
【発明が解決しようとする課題】
【0005】
前記ケーブル角折れ緩衝構造は、ケーブルの角折れを抑え、さらに角折れ緩衝材自体の振動減衰効果によりケーブル振動を抑えることができる。しかし、実際の橋梁設置現場での環境、交通状況等によっては角折れ緩衝材の振動減衰効果ではケーブル振動を十分に抑えきれない場合もあり、このような場合にはケーブルに対しケーブル制振装置を設置するのが有効となる。ケーブル制振装置は、通常、定着管の先端から数メートル先までの範囲内でケーブルに設置されるため、角折れ緩衝材が定着管に残されているとケーブル制振装置の位置のケーブルの動きがある程度拘束されてしまい、ケーブル制振装置の振動減衰効果が十分に発揮されなくなる。そのため、ケーブルに対しケーブル制振装置を設置する場合、定着管内の角折れ緩衝材をすべて除去し、再びケーブルの外周囲に一定の隙間を設けた隙間付きの角折れ緩衝材を施工するが、このような作業は手間が掛かり、コストも高く付く。
【0006】
本発明は、以上の事情に鑑みてなされたものであり、ケーブル角折れ緩衝構造において、角折れを抑え、且つ、ケーブルに対しケーブル制振装置を設置し併用する場合にはケーブル制振装置の機能に干渉しない構造へと機能を変えることを可能とするケーブル角折れ緩衝構造を提供することを目的とする。すなわち、本発明は、前記目的達成のため、ケーブル角折れ緩衝構造に用いる硬質型枠材及びケーブル角折れ緩衝構造の機能可変工法を提供する。
【課題を解決するための手段】
【0007】
本発明に係るケーブル角折れ緩衝構造に用いる硬質型枠材は、
橋梁に張設されたケーブルの定着部においてケーブルとケーブルの外周を包囲する定着管との間に角折れ緩衝材が設置されたケーブル角折れ緩衝構造に用いる硬質型枠材であって、
ケーブルの周方向に配置される複数の部材でケーブルの外周面に沿った筒形状をなし、ケーブルと角折れ緩衝材との間に着脱可能に配設される構成とし、
ケーブルと角折れ緩衝材との間に残置した状態ではケーブルの変位及び振動が角折れ緩衝材に伝わるように構成され、ケーブルと角折れ緩衝材との間から撤去することでケーブルと角折れ緩衝材との間に環状の隙間を設けた隙間付きの角折れ緩衝材が形成されるように構成されている。
【0008】
本発明に係るケーブル角折れ緩衝構造の機能可変工法は、
橋梁に張設されたケーブルの定着部においてケーブルとケーブルの外周を包囲する定着管との間に角折れ緩衝材が設置されたケーブル角折れ緩衝構造の機能を変えることを可能とする工法であって、
請求項1に記載の硬質型枠材を定着管で包囲されたケーブル部分に対しケーブルの外周面の全周を覆うように配置し、前記硬質型枠材と定着管との間の環状空間に角折れ緩衝材を設置し、ケーブルと角折れ緩衝材との間に前記硬質型枠材を残置させてケーブルの変位及び振動が前記硬質型枠材を介して角折れ緩衝材に伝わるようにした第1のケーブル角折れ緩衝構造を施工し、
ケーブルに対しケーブル制振装置を設置し併用する場合、前記第1のケーブル角折れ緩衝構造における前記硬質型枠材を撤去してケーブルと角折れ緩衝材との間に環状の隙間を設けた隙間付きの角折れ緩衝材を形成し、前記ケーブル制振装置の機能に干渉させないようにした第2のケーブル角折れ緩衝構造を施工する。
【発明の効果】
【0009】
以上の本発明の構成によれば、硬質型枠材をケーブルと角折れ緩衝材との間に残置させたケーブル角折れ緩衝構造では、ケーブルの定着点に作用するケーブルの変位は硬質型枠材を介して角折れ緩衝材に伝わりケーブルの角折れを抑えることができ、且つ、ケーブルが自発的且つ周期的に揺れる振動(以下、ケーブル振動という。)は硬質型枠材を介して角折れ緩衝材に伝わり角折れ緩衝材自体の振動減衰効果によって抑えることができる。
【0010】
また、硬質型枠材を撤去して隙間付きの角折れ緩衝材に変更したケーブル角折れ緩衝構造では、ケーブルに対しケーブル制振装置を設定することで角折れ緩衝材によっては抑えきれなかったケーブル振動を抑えることができる。すなわち、前記隙間付きの角折れ緩衝材は、前記隙間によってケーブル振動に対する拘束力を発揮させないようにして前記ケーブル制振装置の機能と干渉しないようにすることができる。従って、前記ケーブル制振装置は、角折れ緩衝材の影響を受けることなくケーブル振動を抑えることができる。ケーブルが大きく揺れて変位が生じたときはケーブルの変位が隙間付きの角折れ緩衝材に伝わりケーブルの角折れを抑えることができる。
(【0011】以降は省略されています)
この特許をJ-PlatPat(特許庁公式サイト)で参照する
関連特許
中井商工株式会社
橋梁の桁端止水工法
7日前
中井商工株式会社
ケーブル角折れ緩衝構造に用いる硬質型枠材及びケーブル角折れ緩衝構造の機能可変工法
4か月前
個人
折り畳み式標識具
4日前
GX株式会社
仮設防護体
26日前
日本精機株式会社
路面投影装置
1か月前
株式会社熊谷組
床版接合構造
7日前
範多機械株式会社
路面切削機
1か月前
北越消雪機械工業株式会社
消雪装置
4日前
GX株式会社
昇降式仮設防護体
17日前
GX株式会社
仮設防護体連結構造
1か月前
前田工繊株式会社
防護柵
19日前
株式会社熊谷組
床版継手装置、及び、床版
7日前
浅香工業株式会社
レーキ
14日前
中井商工株式会社
橋梁の桁端止水工法
7日前
株式会社トップ
立て看板用スロープおよび立て看板
1か月前
株式会社幸和道路
自走式道路路面標示文字描画車両
25日前
株式会社三共
足場用移動屋根装置及び橋梁用足場
27日前
株式会社NIPPO
法面機械
17日前
十武建設株式会社
舗装材吹付け装置、および吹付け施工方法
25日前
株式会社NIPPO
コンクリートスタッカ
3日前
株式会社栗本鐵工所
検査路及びステップ
1か月前
酒井重工業株式会社
振動ローラ
1か月前
東日本旅客鉄道株式会社
横取り方法
3日前
共和ゴム株式会社
床版敷設シール材
1か月前
株式会社NIPPO
法面作業装置
17日前
株式会社NIPPO
路面切削装置及び路面切削方法
1か月前
株式会社NIPPO
法面作業装置
17日前
株式会社NIPPO
コンクリート舗装の施工方法
7日前
五洋建設株式会社
床版部材設置装置及び床版部材の設置方法
25日前
大成建設株式会社
床版接合部の設計方法
7日前
株式会社NIPPO
半たわみ性舗装及びその施工方法
1か月前
株式会社NIPPO
再生アスファルト混合物の製造方法
1か月前
オリエンタル白石株式会社
床版設置高さ調整機構及び床版取替工法
1か月前
株式会社奥村組
鉄筋コンクリート柱の補強工法
1か月前
株式会社NIPPO
再生アスファルト混合物の製造方法
25日前
株式会社奥村組
鉄筋コンクリート柱の補強工法
1か月前
続きを見る
他の特許を見る