TOP
|
特許
|
意匠
|
商標
特許ウォッチ
Twitter
他の特許を見る
10個以上の画像は省略されています。
公開番号
2025130825
公報種別
公開特許公報(A)
公開日
2025-09-09
出願番号
2024028146
出願日
2024-02-28
発明の名称
足場用移動屋根装置及び橋梁用足場
出願人
株式会社三共
代理人
個人
,
個人
主分類
E01D
21/00 20060101AFI20250902BHJP(道路,鉄道または橋りょうの建設)
要約
【課題】天候不良時においても橋梁の主桁に対する作業を可能にする足場用移動屋根装置を提供する。
【解決手段】足場用移動屋根装置1は、橋梁90の主桁91に沿って主桁91の延伸方向に延びるように、主桁91に沿って配置された板状の複数の足場板73を主桁91に対して支持する足場板支持部71によって支持される複数のレール部10と、平面視で主桁91の天面Sの一部及び足場板73の一部を覆う屋根本体部20と、屋根本体部20を複数のレール部10に対して延伸方向に移動可能に支持する移動部30とを有し、複数のレール部10上を延伸方向に移動可能な移動屋根部50とを有する。
【選択図】図1
特許請求の範囲
【請求項1】
橋梁の主桁に沿って前記主桁の延伸方向に延びるように、前記主桁に沿って配置された板状の複数の足場板を前記主桁に対して支持する足場板支持部によって支持される複数のレール部と、
平面視で前記主桁の天面の一部及び前記足場板の一部を覆う屋根本体部と、前記屋根本体部を前記複数のレール部に対して前記延伸方向に移動可能に支持する移動部とを有し、前記複数のレール部上を前記延伸方向に移動可能な移動屋根部と、
を有する、
足場用移動屋根装置。
続きを表示(約 1,400 文字)
【請求項2】
請求項1に記載の足場用移動屋根装置において、
前記屋根本体部は、
前記主桁の天面及び前記足場板の上方に位置し、平面視で前記主桁の天面の一部及び前記足場板の一部と重なる屋根部と、
上部が前記屋根部に接続され且つ下部に前記移動部が接続されて、前記屋根部を支持する屋根支持部と、
を有する、
足場用移動屋根装置。
【請求項3】
請求項2に記載の足場用移動屋根装置において、
前記屋根支持部は、
上下方向に延びる柱状の複数の支柱部と、
水平方向に延び、前記複数の支柱部同士を前記水平方向に連結する複数の水平方向連結部と、
を有する、
足場用移動屋根装置。
【請求項4】
請求項3に記載の足場用移動屋根装置において、
前記屋根本体部は、
前記屋根部と前記複数の支柱部とを接続する屋根接続部と、
前記複数の支柱部と前記複数の水平方向連結部とを接続する支柱接続部とを有し、
前記屋根接続部及び前記支柱接続部は、それぞれ、分解可能に構成されている、
足場用移動屋根装置。
【請求項5】
請求項2に記載の足場用移動屋根装置において、
前記屋根部は、
平面視で、前記主桁の天面及び前記足場板を、前記延伸方向に直交する方向である幅方向に覆っている、
足場用移動屋根装置。
【請求項6】
請求項2に記載の足場用移動屋根装置において、
前記複数の支柱部のうち最も短い支柱部の長さは、
前記複数の支柱部のうち、最も離れている支柱部同士の間の水平方向における距離よりも短い、
足場用移動屋根装置。
【請求項7】
請求項1に記載の足場用移動屋根装置であって、
前記複数のレール部は、
前記延伸方向に延びて前記移動部が移動するレールと、
前記延伸方向に見て前記レールの幅方向両端から上方に延びる一対の側壁部を含む脱輪防止部と、
を有する、
足場用移動屋根装置。
【請求項8】
橋梁の主桁に沿って前記主桁の延伸方向に延びるように配置された板状の複数の足場板と、
前記複数の足場板を前記主桁に対して支持する足場板支持部と、
請求項1から7のいずれか一つに記載の足場用移動屋根装置と、
を有する、
橋梁用足場。
【請求項9】
請求項8に記載の橋梁用足場において、
前記複数の足場板は、
平面視で前記主桁に対して前記延伸方向に直交する方向である幅方向の一方及び他方に配置され、
前記足場用移動屋根装置の前記屋根本体部は、
平面視で前記主桁の天面及び前記複数の足場板を、前記幅方向に覆っている、
橋梁用足場。
【請求項10】
請求項9に記載の橋梁用足場において、
前記足場板支持部は、
平面視で前記主桁に対して前記幅方向の一方及び他方で前記複数の足場板を支持し、
前記足場板支持部における前記幅方向の両端部は、
平面視で、前記幅方向の一方及び他方に配置された前記複数の足場板における前記幅方向の両端よりも外方に位置し、
前記足場用移動屋根装置の複数のレール部は、
前記足場板支持部の前記幅方向の両端部に支持されている、
橋梁用足場。
発明の詳細な説明
【技術分野】
【0001】
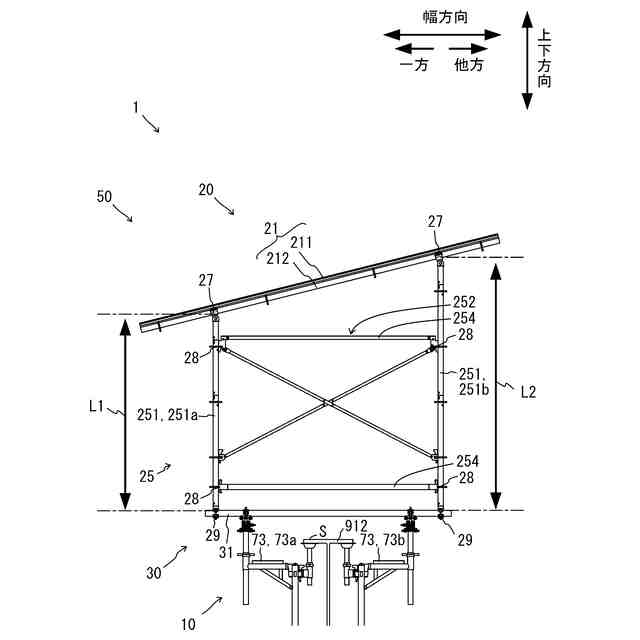
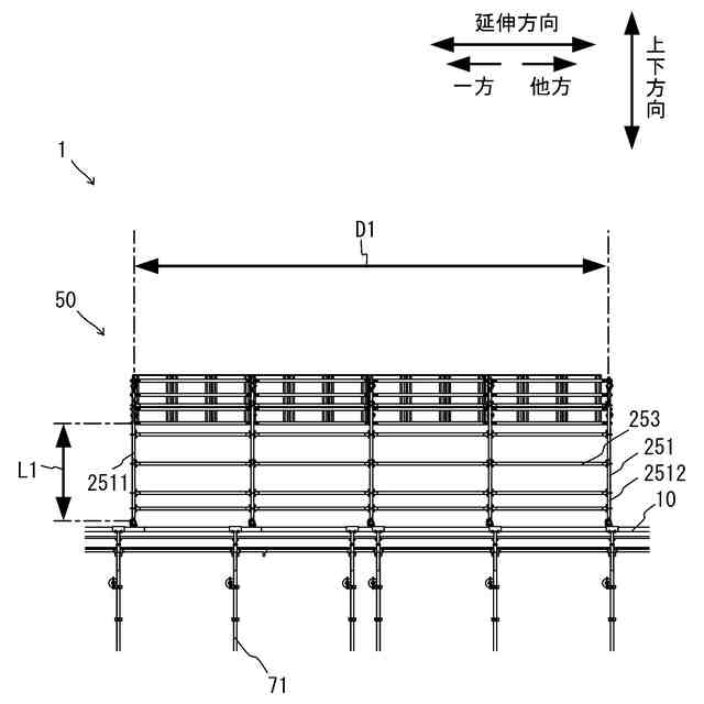
本発明は、橋梁の主桁の一部及び足場板の一部を覆うとともに、前記主桁の延伸方向に移動可能な移動屋根部を有する足場用移動屋根装置及び橋梁用足場に関する。
続きを表示(約 1,600 文字)
【背景技術】
【0002】
道路橋等の橋梁に関する工事において、コンクリートを打設する際にその部分を覆う構成が知られている。具体的には、例えば特許文献1に、合成床版コンクリートを打設する際に底鋼板上を覆うことができる合成床版コンクリートの打設用移動屋根設備が開示されている。
【0003】
前記特許文献1の合成床版コンクリートの打設用移動屋根設備は、側鋼板と検測棒に固定されたレール部材とによって構成された複数本のレールと、複数本の縦骨と横骨とが組まれた骨組みに保護シートが張られ、前記縦骨にローラ部材が設けられた移動屋根と、を有する。前記特許文献1では、簡易な構成による前記移動屋根が前記底鋼板上を覆うことにより、太陽光による温度上昇を防止してコンクリートの十分な初期強度増進を図り、硬化後の自己収縮によるひび割れ抑制が可能になる点が開示されている。
【先行技術文献】
【特許文献】
【0004】
特開2012-144854号公報
【発明の概要】
【発明が解決しようとする課題】
【0005】
ところで、老朽化した床版を新しい床版に交換する場合には、橋梁の床版取替工事が行われる。この床版取替工事では、作業員が橋梁の主桁に対して作業を行うため、前記主桁の延伸方向に沿って延びる足場板を備えた橋梁用足場が設営される。この主桁に対する作業の一例としては、古い既設床版を撤去した後、新しい床版を設置する前に、前記橋梁の主桁に付着した塗装やコンクリート片を除去する作業(ケレン作業)が知られている。前記ケレン作業では、前記作業員は、前記足場板上に乗って前記主桁の天面に対して作業を行う必要がある。
【0006】
しかしながら、例えば雨等の天候不良時には、前記主桁の天面や前記足場板は、雨等によって濡れる可能性がある。そのため、前記作業員の作業効率及び作業品質に影響を与える可能性がある。したがって、天候不良時においても前記作業員が前記足場板上で前記主桁に対する作業を継続できる装置が求められている。
【0007】
本発明の目的は、天候不良時においても橋梁の主桁に対する作業を可能にする足場用移動屋根装置を提供することである。
【課題を解決するための手段】
【0008】
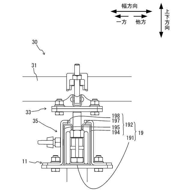
本発明の一実施形態に係る足場用移動屋根装置は、橋梁の主桁に沿って前記主桁の延伸方向に延びるように、前記主桁に沿って配置された板状の複数の足場板を前記主桁に対して支持する足場板支持部によって支持される複数のレール部と、平面視で前記主桁の天面の一部及び前記足場板の一部を覆う屋根本体部と、前記屋根本体部を前記複数のレール部に対して前記延伸方向に移動可能に支持する移動部とを有し、前記複数のレール部上を前記延伸方向に移動可能な移動屋根部と、を有する(第1の構成)。
【0009】
上述の構成によれば、移動屋根部の屋根本体部によって、主桁の天面の一部と該天面の一部に対して作業を行う作業員が乗る足場板の一部とを覆うことができる。しかも、前記移動屋根部の移動部によって、前記屋根本体部を前記延伸方向に延びる複数のレール部に対して移動させることができる。
【0010】
これにより、前記足場板上を前記延伸方向に移動する前記作業員の位置に合わせて、前記移動屋根部を前記延伸方向に移動させることができる。したがって、前記作業員が前記主桁の天面の一部に対して作業を行う際に例えば雨等が降っていたとしても、前記主桁の天面の一部と前記足場板上の前記作業員とが、前記雨によって濡れることを防ぐことができる。よって、天候不良時においても橋梁の主桁に対する作業を可能にする足場用移動屋根装置を提供できる。
(【0011】以降は省略されています)
この特許をJ-PlatPat(特許庁公式サイト)で参照する
関連特許
株式会社三共
遊技機
2日前
株式会社三共
遊技機
20日前
株式会社三共
遊技機
20日前
株式会社三共
遊技機
20日前
株式会社三共
遊技機
20日前
株式会社三共
遊技機
20日前
株式会社三共
遊技機
20日前
株式会社三共
遊技機
20日前
株式会社三共
遊技機
20日前
株式会社三共
遊技機
20日前
株式会社三共
遊技機
20日前
株式会社三共
遊技機
20日前
株式会社三共
遊技機
20日前
株式会社三共
遊技機
20日前
株式会社三共
遊技機
20日前
株式会社三共
遊技機
20日前
株式会社三共
遊技機
20日前
株式会社三共
遊技機
20日前
株式会社三共
遊技機
20日前
株式会社三共
遊技機
20日前
株式会社三共
遊技機
20日前
株式会社三共
遊技機
17日前
株式会社三共
遊技機
17日前
株式会社三共
遊技機
17日前
株式会社三共
遊技機
17日前
株式会社三共
遊技機
17日前
株式会社三共
遊技機
17日前
株式会社三共
遊技機
17日前
株式会社三共
遊技機
17日前
株式会社三共
遊技機
17日前
株式会社三共
遊技機
20日前
株式会社三共
遊技機
20日前
株式会社三共
遊技機
17日前
株式会社三共
遊技機
20日前
株式会社三共
遊技機
20日前
株式会社三共
遊技機
20日前
続きを見る
他の特許を見る