TOP
|
特許
|
意匠
|
商標
特許ウォッチ
Twitter
他の特許を見る
10個以上の画像は省略されています。
公開番号
2025137914
公報種別
公開特許公報(A)
公開日
2025-09-25
出願番号
2024036448
出願日
2024-03-11
発明の名称
遊技機
出願人
株式会社三共
代理人
主分類
A63F
7/02 20060101AFI20250917BHJP(スポーツ;ゲーム;娯楽)
要約
【課題】ドア枠または内枠を閉鎖または開錠するときに不具合が生じることを防止することができる遊技機を提供すること。
【解決手段】遊技機は、ドア枠または内枠を閉鎖または開錠するときに、垂れ下がりにより部品同士が干渉しないよう垂れ下がり抑制手段を備える。
【選択図】図13-1
特許請求の範囲
【請求項1】
有利状態に制御可能な遊技機であって、
演出をカスタムする演出カスタム手段を、備え、
前記遊技機は、
ドア枠と、内枠と、を含む部品から構成され、
前記ドア枠が鉛直方向へ垂れ下がることを抑制する垂れ下がり抑制手段を更に備え、
前記ドア枠は、
遊技者が鉛直方向に負荷をかけることが可能な所定位置があり、
前記内枠に施錠されている状態である閉鎖状態と、該内枠に施錠されている状態から開錠されたときの状態である第1開錠状態と、該第1開錠状態よりも前記ドア枠が開いている状態である第2開錠状態と、に変化可能であり、
前記ドア枠または前記内枠には、該ドア枠が前記閉鎖状態であるときに、該内枠の内部または該ドア枠の内部に入り込む特定内部進入部品が備えられており、
前記ドア枠は、前記閉鎖状態であるときよりも前記第1開錠状態であるときのほうが、鉛直方向に垂れ下がるものであり、
前記特定内部進入部品は、前記ドア枠が前記閉鎖状態から前記第1開錠状態になったときに、該特定内部進入部品とは異なる前記内枠の部品または該特定内部進入部品とは異なる該ドア枠の部品に接触しない位置に備え付けられており、
さらに、
音出力手段と、
遊技者用音量調整操作手段と、を備え、
前記音出力手段は、
前記遊技者用音量調整操作手段が操作される場合、確認音を出力することが可能であり、
第1音および第2音が出力されるシーンにおいて、前記遊技者用音量調整操作手段が操作される場合、該第1音および該第2音の出力音量が変更されるタイミングと、前記確認音が出力されるタイミングと、を異ならせた、遊技機。
発明の詳細な説明
【技術分野】
【0001】
本発明は、有利状態に制御可能な遊技機に関する。
続きを表示(約 5,800 文字)
【背景技術】
【0002】
従来、遊技機として代表されるパチンコ遊技機は、遊技島に設置固定するための外枠と、外枠に対し左側辺を中心として回動可能に支持された内枠と、内枠に対し左側辺を中心として回動可能に支持されたドア枠と、から主に構成され、外枠に対し内枠及びドア枠を開閉したり、内枠に対しドア枠を開閉することが可能とされている。
この種のパチンコ遊技機は、遊技客に対し遊技機をアピールするためにドア枠の前面に装飾が施されているが、近年においては、より大きな立体装飾物を備えた遊技機が増加する傾向にある(例えば、特許文献1参照)。
また、この種の遊技機として、特図入賞した際に特定ランプが赤点灯すれば高期待度であることを遊技者に報知する演出モードを実行可能な遊技機や(例えば、非特許文献1参照)、無駄打ちにより遊技者が不利益を被ることを防止するため、保留記憶が3個または4個記憶されたときに振動を発生させて遊技者に報知する演出モードを実行可能な遊技機がある(例えば、非特許文献2参照)。
また、音量を調整することが可能な遊技機が知られている。例えば、特許文献2には、出力音量を遊技者が変更することが可能な遊技機が開示されている(図12)。
【先行技術文献】
【特許文献】
【0003】
特開2021-115320号公報
特開2011-200511号公報
【非特許文献】
【0004】
"[リゼロ鬼がかり先バレモード徹底解説!]先バレモードについて",[online],2022年11月1日,DMMぱちタウン,[2022年12月15日検索],インターネット<URL:https://p-town.dmm.com/specials/2655#report-index-44420>
"[P牙狼月虹ノ旅人]新しい牙狼を打ってきた「編集部コラム・毛玉3号 13玉目」",[online],2021年6月15日,パチマガスロマガFREE,[2022年12月15日検索],インターネット<URL:https://maga-free.com/column/f75d867be97038599c31509019da732bfe7d6ecd.php>
【発明の概要】
【発明が解決しようとする課題】
【0005】
特許文献1および特許文献2の機能や構成を有する遊技機において、商品性を高める余地があった。
【0006】
この発明は、上記の実状に鑑みてなされたものであり、商品性を高めた遊技機を提供することを目的とする。
【課題を解決するための手段】
【0007】
本発明の請求項1に記載の遊技機は、
有利状態に制御可能な遊技機であって、
演出をカスタムする演出カスタム手段を、備え、
前記遊技機は、
ドア枠と、内枠と、を含む部品から構成され、
前記ドア枠が鉛直方向へ垂れ下がることを抑制する垂れ下がり抑制手段を更に備え、
前記ドア枠は、
遊技者が鉛直方向に負荷をかけることが可能な所定位置があり、
前記内枠に施錠されている状態である閉鎖状態と、該内枠に施錠されている状態から開錠されたときの状態である第1開錠状態と、該第1開錠状態よりも前記ドア枠が開いている状態である第2開錠状態と、に変化可能であり、
前記ドア枠または前記内枠には、該ドア枠が前記閉鎖状態であるときに、該内枠の内部または該ドア枠の内部に入り込む特定内部進入部品が備えられており、
前記ドア枠は、前記閉鎖状態であるときよりも前記第1開錠状態であるときのほうが、鉛直方向に垂れ下がるものであり、
前記特定内部進入部品は、前記ドア枠が前記閉鎖状態から前記第1開錠状態になったときに、該特定内部進入部品とは異なる前記内枠の部品または該特定内部進入部品とは異なる該ドア枠の部品に接触しない位置に備え付けられており、
さらに、
音出力手段と、
遊技者用音量調整操作手段と、を備え、
前記音出力手段は、
前記遊技者用音量調整操作手段が操作される場合、確認音を出力することが可能であり、
第1音および第2音が出力されるシーンにおいて、前記遊技者用音量調整操作手段が操作される場合、該第1音および該第2音の出力音量が変更されるタイミングと、前記確認音が出力されるタイミングと、を異ならせた。
この特徴によれば、上記実情を鑑み、商品性を高めた遊技機を提供することができる。
【0008】
尚、本発明は、本発明の請求項に記載された発明特定事項のみを有するものであってもよいし、本発明の請求項に記載された発明特定事項とともに該発明特定事項以外の構成を有するものであってもよい。
【図面の簡単な説明】
【0009】
パチンコ遊技機の正面図である。
パチンコ遊技機に搭載された各種の制御基板などを示す構成図である。
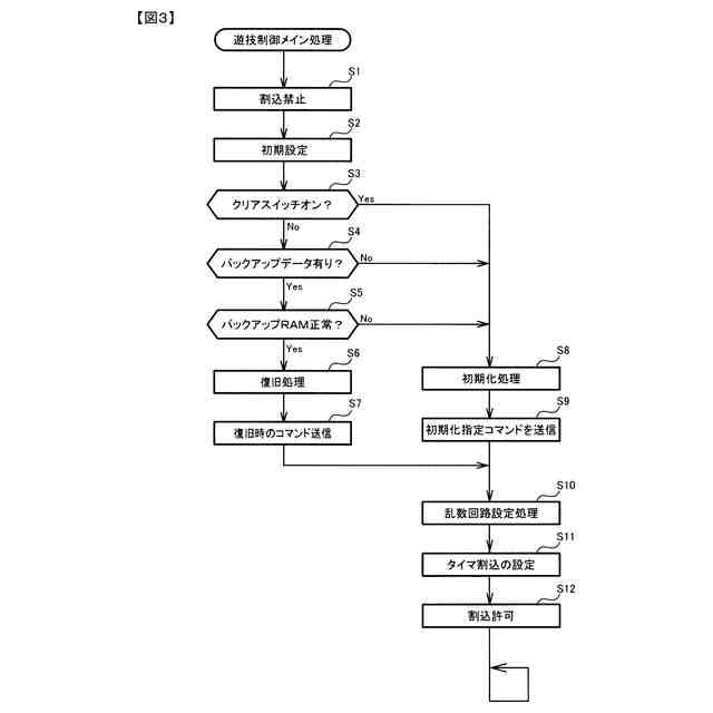
遊技制御メイン処理の一例を示すフローチャートである。
遊技制御用タイマ割込み処理の一例を示すフローチャートである。
特別図柄プロセス処理の一例を示すフローチャートである。
演出制御メイン処理の一例を示すフローチャートである。
演出制御プロセス処理の一例を示すフローチャートである。
遊技フローの具体例を示す説明図である。
パチンコ遊技機の一例である。
保留表示の表示態様の説明図である。
割れ前兆画像のパターン例を示す図である。
客待ちデモ演出の遷移図である。
実施例における遊技機を示す正面図である。
パチンコ遊技機に搭載された各種の制御基板などを示す構成図である。
(A)、(B)は、演出制御コマンドを例示する図である。
各乱数を示す説明図である。
表示結果判定テーブルを示す説明図である。
(A)は大当り種別判定テーブルを示す説明図であり、(B)は大当り種別の説明図である。
変動パターンの説明図である。
変動パターン判定テーブルの説明図である。
遊技制御用データ保持エリアを示す説明図である。
(A)は演出制御用データ保持エリアを示す説明図であり、(B)は始動入賞時受信コマンドバッファを示す説明図である。
遊技制御メイン処理の一例を示すフローチャートである。
遊技制御用タイマ割込み処理の一例を示すフローチャートである。
特別図柄プロセス処理の一例を示すフローチャートである。
始動入賞判定処理の一例を示すフローチャートである。
演出制御メイン処理の一例を示すフローチャートである。
演出制御プロセス処理の一例を示すフローチャートである。
先読み発光演出処理の一例を示すフローチャートである。
先読み発光演出の実行の有無の決定割合を示す説明図である。
デモ演出が開始された場合の画像表示装置の表示態様の説明図である。
スーパーリーチの可変表示の流れを示す説明図である。
スーパーリーチの可変表示の流れを示す説明図である。
パチンコ遊技機の第2開状態を示す斜視図である。
パチンコ遊技機の第4開状態を示す斜視図である。
パチンコ遊技機を示す背面図である。
パチンコ遊技機を示す左側面図である。
パチンコ遊技機を示す右側面図である。
パチンコ遊技機を示す平面図である。
パチンコ遊技機を示す底面図である。
外枠を示す斜視図である。
(A)は外枠を示す正面図、(B)は右側面図である。
遊技機用枠を示す斜視図である。
(A)は遊技機用枠を示す正面図、(B)は右側面図である。
遊技機用枠の構成を示す分解斜視図である。
開閉扉枠を示す背面図である。
開閉扉枠と遊技機用枠の内部構造を示す要部斜視図である。
外枠と遊技機用枠の回動軸T1と遊技機用枠と開閉扉枠の回動軸T2との関係を側面から見た状態を示す断面図である。
(A)、(B)は回動軸T1を中心とする遊技機用枠の回動態様を示す概念図である。
(A)~(C)は垂れ下がりない状態での第2開状態を説明するための概念図である。
(A1)~(A3)、(B1)~(B3)は垂れ下がりが生じた状態での第2開状態を説明するための概念図である。
「ながら打ち」を行う遊技者を示す図である。
(A1)~(A3)は閉状態を示す概略図、(A4)はスライダ部材と被案内部材との関係を示す概略断面図である。
(B1)~(B3)は第1開状態を示す概略図、(B4)はスライダ部材と被案内部材との関係を示す概略断面図である。
(C1)~(C3)は第1開状態を示す概略図、(C4)はスライダ部材と被案内部材との関係を示す概略断面図である。
(D1)~(D3)は第2開状態を示す概略図、(C4)はスライダ部材と被案内部材との関係を示す概略断面図である。
(A1)~(A3)は閉状態を示す概略図、(A4)はスライダ部材と被案内部材との関係を示す概略断面図である。
(B1)~(B3)は第3開状態を示す概略図、(B4)はスライダ部材と被案内部材との関係を示す概略断面図である。
(C1)~(C3)は第3開状態を示す概略図、(C4)はスライダ部材と被案内部材との関係を示す概略断面図である。
(D1)~(D3)は第4開状態を示す概略図、(C4)はスライダ部材と被案内部材との関係を示す概略断面図である。
(A1)~(A3)は、閉状態から第1開状態への変化に伴う払出通路における特定内部進入部品と被進入部品の構造を示す概略断面図である。
(A1)~(A3)は、閉状態から第1開状態への変化に伴う球抜き通路における特定内部進入部品と被進入部品の構造を示す概略断面図である。
(A1)~(A3)は、閉状態から第1開状態への変化に伴う開閉扉枠底部品における特定内部進入部品と被進入部品の構造を示す概略断面図である。
(B1)~(B3)は、閉状態から第1開状態への変化に伴う開閉扉枠底部品における特定内部進入部品と被進入部品の構造を示す概略平面図である。
(C1)~(C3)は、閉状態から第1開状態への変化に伴う開閉扉枠底部品における特定内部進入部品と被進入部品の構造を示す概略正面図である。
(A1)~(A3)は、閉状態から第1開状態への変化に伴う発射球通路におけるスイッチと特別部品との動作態様を示す概略断面図である。
開閉扉枠の開閉動作に伴う各部の動作態様を説明するための図である。
(A1)~(A3)は、閉状態から第3開状態への変化に伴う遊技機用枠及び外枠の底部品の構造を示す概略断面図である。
(A)~(C)は、閉状態から第3開状態、第4状態への変化に伴う遊技機用枠及び外枠の構造を示す概略断面図である。
(A)~(C)は、閉状態から第3開状態、第4開状態への変化に伴う遊技機用枠及び外枠の構造を示す概略平面図及び概略背面図である。
(A)、(B)は、閉状態から第3開状態への変化に伴う遊技機用枠及び外枠の構造を示す概略断面図である。
遊技機用枠の開閉動作に伴う各部の動作態様を説明するための図である。
遊技機用枠の上部における誘導通路及びねじ部材の配置状況を示す背面図である。
遊技機用枠の上部における誘導通路及びねじ部材の配置状況を示す平面図である。
ねじ部材の移動状況を示す第1誘導通路形成部の縦断面図である。
(A)は垂れ下がりなし、(B)は垂れ下がりが生じたときのねじ部材の移動状況を示す第1誘導通路形成部の縦断面図である。
(A)、(B)は、本発明の変形例1としてのパチンコ遊技機の要部を示す図である。
本発明の変形例2としてのパチンコ遊技機の要部を示す図である。
(A)、(B)は、本発明の変形例3としてのパチンコ遊技機の要部を示す図である。
(A)は第2開状態、(B)、(C)は第1開状態での遊技球の動きを示す図である。
(A)は第4開状態、(B)、(C)は第3開状態での遊技球の動きを示す図である。
この実施の形態におけるパチンコ遊技機の正面図である。
パチンコ遊技機に搭載された各種の制御基板などを示す構成図である。
VRAMの内容を示す説明図である
各描画領域の説明図である。
表示優先度の説明図である。
(A)、(B)は、演出制御コマンドを例示する図である。
各乱数を示す説明図である。
表示結果判定テーブルを示す説明図である。
(A)は大当り種別判定テーブルを示す説明図であり、(B)は大当り種別の説明図である。
はずれ変動パターンの説明図である。
大当り変動パターンの説明図である。
変動パターン種別判定テーブルを示す説明図である。
はずれ用変動パターン判定テーブルの説明図である。
はずれ用変動パターン判定テーブルの説明図である。
大当り用変動パターン判定テーブルの説明図である。
遊技制御用データ保持エリアの説明図である。
演出制御用データ保持エリアの説明図である。
遊技制御メイン処理の一例を示すフローチャートである。
遊技制御用タイマ割込み処理の一例を示すフローチャートである。
【発明を実施するための形態】
【0010】
本遊技機の特徴を以下に説明する。
(【0011】以降は省略されています)
この特許をJ-PlatPat(特許庁公式サイト)で参照する
関連特許
株式会社三共
遊技機
3か月前
株式会社三共
遊技機
1か月前
株式会社三共
遊技機
1か月前
株式会社三共
遊技機
1か月前
株式会社三共
遊技機
1か月前
株式会社三共
遊技機
1か月前
株式会社三共
遊技機
1か月前
株式会社三共
遊技機
1か月前
株式会社三共
遊技機
1か月前
株式会社三共
遊技機
1か月前
株式会社三共
遊技機
1か月前
株式会社三共
遊技機
1か月前
株式会社三共
遊技機
1か月前
株式会社三共
遊技機
1か月前
株式会社三共
遊技機
1か月前
株式会社三共
遊技機
1か月前
株式会社三共
遊技機
1か月前
株式会社三共
遊技機
1か月前
株式会社三共
遊技機
1か月前
株式会社三共
遊技機
1か月前
株式会社三共
遊技機
1か月前
株式会社三共
遊技機
1か月前
株式会社三共
遊技機
1か月前
株式会社三共
遊技機
1か月前
株式会社三共
遊技機
1か月前
株式会社三共
遊技機
1か月前
株式会社三共
遊技機
1か月前
株式会社三共
遊技機
1か月前
株式会社三共
遊技機
1か月前
株式会社三共
遊技機
1か月前
株式会社三共
遊技機
1か月前
株式会社三共
遊技機
1か月前
株式会社三共
遊技機
1か月前
株式会社三共
遊技機
1か月前
株式会社三共
遊技機
1か月前
株式会社三共
遊技機
1か月前
続きを見る
他の特許を見る