TOP
|
特許
|
意匠
|
商標
特許ウォッチ
Twitter
他の特許を見る
公開番号
2025080193
公報種別
公開特許公報(A)
公開日
2025-05-23
出願番号
2023193280
出願日
2023-11-13
発明の名称
ペットフード製品、及び、ペットフード製品の製造方法
出願人
ユニ・チャーム株式会社
,
ティケイ・エビス株式会社
代理人
個人
,
個人
,
個人
,
個人
主分類
A23K
50/48 20160101AFI20250516BHJP(食品または食料品;他のクラスに包含されないそれらの処理)
要約
【課題】嗜好性を維持しつつ、1回当たりの給餌量を減らすことのできる、ペットフード製品、及び、当該ペットフード製品の製造方法の提供。
【解決手段】包装袋にウエットフードが充填されたペットフード製品であって、前記ウエットフードの内容量は、30g以下であり、前記ウエットフードは固体の具材を含み、前記ウエットフード中の最も大きい固体の具材の大きさは、4~9mmであり、前記ウエットフードは、ミンチ肉を含有する、ペットフード製品。
【選択図】なし
特許請求の範囲
【請求項1】
包装袋にウエットフードが充填されたペットフード製品であって、
前記ウエットフードの内容量は、30g以下であり、
前記ウエットフードは固体の具材を含み、
前記ウエットフード中の最も大きい固体の具材の大きさは、4~9mmであり、
前記ウエットフードは、ミンチ肉を含有する、ペットフード製品。
続きを表示(約 760 文字)
【請求項2】
前記包装袋は、一辺が包装袋を形成するシートの折り曲げ部分であり、残りの三辺が溶着されている、請求項1に記載のペットフード製品。
【請求項3】
前記包装袋の縦横比は、1:2~2:1である、請求項1に記載のペットフード製品。
【請求項4】
前記ウエットフードは、スープ部と、前記固体の具材を含み、前記固体の具材の総含有量は、前記ウエットフード全量に対して、30~45質量%である、請求項1に記載のペットフード製品。
【請求項5】
最も大きい前記ミンチ肉の大きさが、4~9mmであり、前記ミンチ肉以外の他の具材の1種以上も、最大の大きさが4~9mmである、請求項1に記載のペットフード製品。
【請求項6】
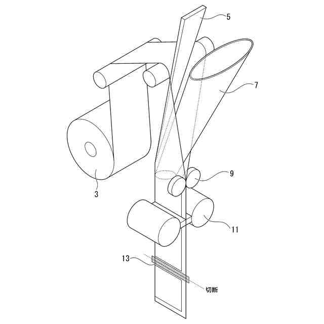
フィルムロールからフィルムを供給する工程と、
供給された前記フィルムを幅方向に二つ折りに折りたたむ工程と、
折りたたまれた前記フィルムの流通方向下流端部を熱溶着する工程と、
前記フィルムの折り曲げ部分と反対方向の端部を熱溶着する工程と、
上方からウエットフードを充填する工程と、
折りたたまれた前記フィルムの流通方向上流端部を熱溶着する工程と、
熱溶着された前記フィルムの流通方向上流端部を切断して、切り離し、一辺がシートの折り曲げ部分であり、残りの三辺が溶着されている包装袋にウエットフードが充填されたペットフード製品を製造する工程を有し、
前記ウエットフードの内容量は、30g以下であり、前記ウエットフードは固体の具材を含み、前記ウエットフード中の最も大きい固体の具材の大きさは、4~9mmであり、前記ウエットフードは、ミンチ肉を含有する、ペットフード製品の製造方法。
発明の詳細な説明
【技術分野】
【0001】
本発明は、ペットフード製品、及び、ペットフード製品の製造方法に関する。
続きを表示(約 1,800 文字)
【背景技術】
【0002】
ペットフードは、給与目的を機会で分けると主食と間食に分けられる。主食としてのペットフードは「総合栄養食」と言い、当該ペットフードと水を与えていれば必要とされる栄養素が摂取できるように作られる。
一方、「間食」は、ペットのしつけや運動、ご褒美として与えるなど限られた量を与えることが意図されているペットフードである。
目的別による分類は、「総合栄養食」「間食」「療法食」、そのいずれにも該当しない「その他の目的食」に分かれる。
【0003】
また、水分量による分類としては、水分量が10%程度であるドライフード、15~35%程度であるソフトフード、及び水分量が80%程度であるウエットフードに大別される。
【0004】
一般的にウエットフードは、個包装されており、その内容量は80g程度である。
近年、ペットの小型化や加齢に伴い、ペットの食事量が減っており、それに伴いウエットフードの1回当たりの給与量が減っている。したがって、ペットフードを一度で使いきれず、残りを冷蔵庫で保管している場合があり、風味の低下や冷蔵庫が汚れることが問題となっている。
【0005】
開封後短期間で消費される商品としては、スティックタイプのペットフードがある。
また、特許文献1には、底部と、前記底部の外周縁から上方に延在するとともに前記底部の周囲を取り囲み、前記底部とともに上方に向けて開口する収容部を画定する周壁部と、前記周壁部から外向きに突出した保持部と、を備えた容器と、前記収容部に収容されたウエットフード、とを含むペットフード製品が開示されている。
【先行技術文献】
【特許文献】
【0006】
特開2022-179308号公報
【発明の概要】
【発明が解決しようとする課題】
【0007】
スティックタイプのペットフードや特許文献1に開示されたウエットフードは、間食として用いるのには最適であるが、主食、又は主食と併用して使用するには、量が少ないという課題がある。また、大きい具材を含ませることが難しいという課題もある。
また、単に従来のウエットフードの内容量を減らしてスティックタイプに充填する事は難しいため、大きい具材や嗜好性を向上させるための成分の含有量も減らさざるを得ない。したがって、従来のウエットフードにおいては、ペットの嗜好性の観点から改善の余地がある。
【0008】
本発明は上記事情に鑑みてなされたものであり、嗜好性を維持しつつ、1回当たりの給餌量を減らすことのできる、ペットフード製品、及び、当該ペットフード製品の製造方法を提供することを課題とする。
【課題を解決するための手段】
【0009】
本発明者は鋭意検討した結果、ウエットフードの内容量が30g以下と比較的少ない場合であっても、大きい具材を含有させることで、ペットの食事の満足感を向上させ、かつ、少ない含有量でも、形状、大きさを安定化でき、具材感を高めることで嗜好性をより向上させることのできるミンチ肉を採用することで、上記課題を解決できることを見出した。より具体的には、本発明は以下のものを採用する。
【0010】
[1]包装袋にウエットフードが充填されたペットフード製品であって、前記ウエットフードの内容量は、30g以下であり、前記ウエットフードは固体の具材を含み、前記ウエットフード中の最も大きい固体の具材の大きさは、4~9mmであり、前記ウエットフードは、ミンチ肉を含有する、ペットフード製品。
[2]前記包装袋は、一辺が包装袋を形成するシートの折り曲げ部分であり、残りの三辺が溶着されている、[1]に記載のペットフード製品。
[3]前記包装袋の縦横比は、1:2~2:1である、[1]又は[2]に記載のペットフード製品。
[4]前記ウエットフードは、スープ部と、前記固体の具材を含み、前記固体の具材の総含有量は、前記ウエットフード全量に対して、30~45質量%である、[1]~[3]のいずれか一項に記載のペットフード製品。
[5]最も大きい前記ミンチ肉の大きさが、4~9mmであり、前記ミンチ肉以外の他の具材の1種以上も、最大の大きさが4~9mmである、[1]に記載のペットフード製品。
(【0011】以降は省略されています)
この特許をJ-PlatPat(特許庁公式サイト)で参照する
関連特許
個人
健康促進霊芝茶
2か月前
不二製油株式会社
組成物
2か月前
不二製油株式会社
グミ類
3か月前
不二製油株式会社
油性食品
2か月前
不二製油株式会社
加工食品
3か月前
個人
ヨーグルト等の発酵器
2か月前
三生医薬株式会社
経口組成物
今日
不二製油株式会社
油脂組成物
4か月前
不二製油株式会社
油脂組成物
3か月前
個人
可食性素材からなる容器
27日前
株式会社東洋新薬
経口組成物
5か月前
株式会社東洋新薬
経口組成物
3か月前
株式会社東洋新薬
飲料
2か月前
株式会社東洋新薬
経口組成物
1か月前
不二製油株式会社
光照射油脂
2か月前
池田食研株式会社
微粉状食品
5か月前
池田食研株式会社
風味改善剤
5か月前
東ソー株式会社
食品品質保持剤
4か月前
アサヒ飲料株式会社
飲料
5か月前
奥野製薬工業株式会社
処理方法
2か月前
株式会社ソディック
食品搬送装置
4か月前
東洋ライス株式会社
搗精米
3か月前
個人
発酵あんこの製造方法
1か月前
株式会社ミルボン
組成物及び方法
4日前
日本メナード化粧品株式会社
飲料
2か月前
不二製油株式会社
被覆用油性食品
2か月前
株式会社エポック社
絞出具
2か月前
個人
海ぶどうの加工処理方法
25日前
不二製油株式会社
カカオ含有飲食物
2か月前
池田食研株式会社
油脂含有造粒顆粒
3か月前
個人
天然マンゴー果汁色青汁
5か月前
不二製油株式会社
冷凍霜付き抑制剤
2か月前
池田食研株式会社
食品生地用組成物
4か月前
個人
廃棄食品の資源化法とその装置
4か月前
株式会社米島本店
七草加工食品
5か月前
長谷川香料株式会社
動物油脂感付与剤
4か月前
続きを見る
他の特許を見る