TOP
|
特許
|
意匠
|
商標
特許ウォッチ
Twitter
他の特許を見る
公開番号
2025080172
公報種別
公開特許公報(A)
公開日
2025-05-23
出願番号
2023193235
出願日
2023-11-13
発明の名称
ペダル機構
出願人
トヨタ自動車株式会社
代理人
個人
,
個人
主分類
G05G
1/30 20080401AFI20250516BHJP(制御;調整)
要約
【課題】運転者の操作感を損なうことなく、装置全体として小型化することが可能なペダル機構を提供する。
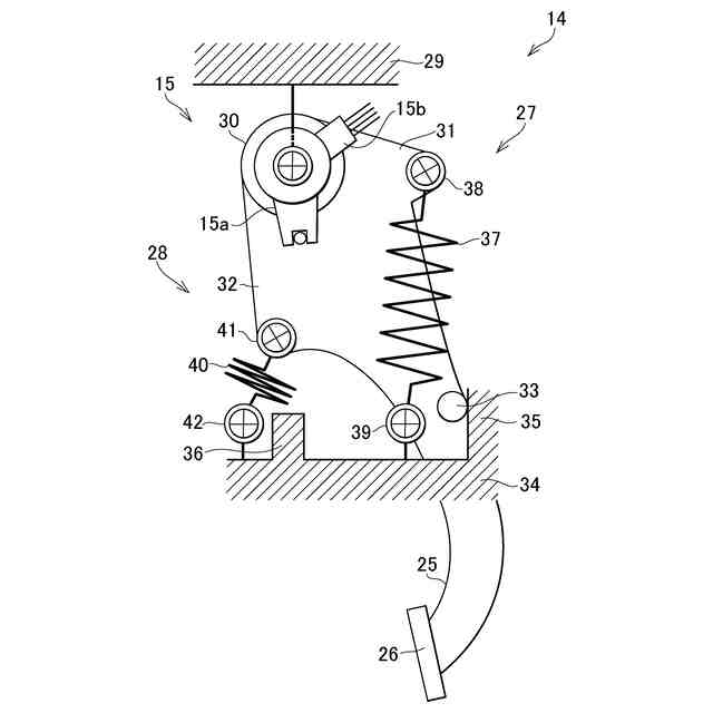
【解決手段】踏面26を有し、所定の固定部29に回動可能に枢着されたペダルアーム25と、反力をペダルアーム25に付与するバネ部材40とを備えたペダル機構14であって、バネ部材40の一端部が所定の固定部29に回動可能に連結されるとともに、バネ部材40の他端部がペダルアーム25における踏面26と所定の固定部29に対する枢着部30との間の所定箇所41に回動可能に連結され、所定箇所41は、枢着部30とバネ部材40の一端部を所定の固定部29に連結している連結部42とを結んだ中立線Lからペダルアーム25の回動方向にずれた位置に設定され、枢着部30と所定箇所41とを結んだ線と中立線Lとがなす角度αが、連結部42と所定箇所41とを結んだ線と中立線Lとがなす角度βより小さい。
【選択図】図2
特許請求の範囲
【請求項1】
踏面を一端部に備えかつ他端部で所定の固定部に回動可能に枢着されたペダルアームと、前記踏面を踏み込むことによる前記他端部を中心にしたトルクに対抗する反力を前記ペダルアームに付与するバネ部材とを備えたペダル機構であって、
前記バネ部材の一端部が前記所定の固定部に回動可能に連結されるとともに、前記バネ部材の他端部が前記ペダルアームにおける前記踏面と前記所定の固定部に対する枢着部との間の所定箇所に回動可能に連結され、
前記所定箇所は、前記枢着部と前記バネ部材の一端部を前記所定の固定部に連結している連結部とを結んだ中立線から前記ペダルアームの回動方向にずれた位置に設定され、
前記枢着部と前記所定箇所とを結んだ線と前記中立線とがなす角度が、前記連結部と前記所定箇所とを結んだ線と前記中立線とがなす角度より小さい
ことを特徴とするペダル機構。
続きを表示(約 1,000 文字)
【請求項2】
請求項1に記載のペダル機構であって、
前記ペダルアームに前記反力を付与する他のバネ部材をさらに備え、
前記他のバネ部材は、一端部が前記所定の固定部に連結されるとともに、前記他のバネ部材の他端部が前記ペダルアームの他の所定箇所に連結され、
前記他の所定箇所は、前記中立線から前記ペダルアームの回動方向にずれた位置に設定されている
ことを特徴とするペダル機構。
【請求項3】
請求項2に記載のペダル機構であって、
前記バネ部材および前記他のバネ部材は、前記ペダルアームに弾性力を作用させている状態で取り付けられている
ことを特徴とするペダル機構。
【請求項4】
請求項2または3に記載のペダル機構であって、
前記所定箇所と前記他の所定箇所とは、前記ペダルアームにおける前記中立線を挟んで反対側に設定されている
ことを特徴とするペダル機構。
【請求項5】
請求項2または3に記載のペダル機構であって、
前記バネ部材および前記他のバネ部材は、コイルバネもしくは捩じりコイルバネを有している
ことを特徴とするペダル機構。
【請求項6】
請求項5に記載のペダル機構であって、
前記他のバネ部材は、引張コイルバネである
ことを特徴とするペダル機構。
【請求項7】
請求項6に記載のペダル機構であって、
前記他のバネ部材は、前記ペダルアームに対して並列に作用する複数の前記引張コイルバネによって構成されている
ことを特徴とするペダル機構。
【請求項8】
請求項1または2に記載のペダル機構であって、
前記ペダルアームは、電動機を駆動力源とした車両に搭載され、
前記踏面の踏み込み操作による前記ペダルアームのストローク量を検出するクラッチセンサをさらに備え、
前記クラッチセンサの検出信号に基づいて前記車両の前記電動機が制御される
ことを特徴とするペダル機構。
【請求項9】
請求項8に記載のペダル機構であって、
前記車両は、
前記電動機の回転数とトルクとの関係であるトルク特性を複数有し、
前記複数のトルク特性のそれぞれに対応する複数の疑似変速段が設定された疑似手動変速式の電動車両である
ことを特徴とするペダル機構。
発明の詳細な説明
【技術分野】
【0001】
この発明は、車両に搭載され、車両の挙動を変更するために用いられるペダル機構に関するものである。
続きを表示(約 3,100 文字)
【背景技術】
【0002】
特許文献1には、駆動源として回転機のみを有する電気自動車が開示されている。特許文献1の電気自動車は、マニュアルトランスミッションを備えた車両(以下、MT車両と称することがある)を擬似的に再現することが可能に構成されている。特許文献1に記載の電気自動車は、電気自動車に対する動作要求を入力するための装置として、アクセルペダルおよびブレーキペダルの他に、シフトレバーおよびクラッチペダルを備えている。そのシフトレバーおよびクラッチペダルが、電気自動車においてMT車両を模擬するための装置として機能している。具体的には、シフトレバーは、MT車両のギア段を変更するためのレバーを模擬するものであり、シフトレバーのポジションを変更することによって、回転機の回転速度に対するトルク特性を段階的に変更することが可能になっている。また、クラッチペダルは、MT車両が備えるクラッチペダルを模擬した装置であって、クラッチペダルの配置や操作感などを擬似的に体感することが可能に構成されている。
【0003】
実際のMT車両に搭載されているクラッチペダルの場合には、構造的な要因により、クラッチペダルのストローク量とペダルの踏力(あるいは反力)の変化量とが比例的に変化しない。例えば、ダイヤフラムスプリングが用いられたクラッチペダルである場合には、クラッチペダルのストローク量がある一定の量を超えた場合に、次第にクラッチペダルの反力が小さくなる、いわゆるターンオーバー特性を備えている。MT車両が備えるクラッチペダルをより正確に模擬する場合には、そのような特性をもクラッチペダルに発生させることが好ましい。
【0004】
例えば、特許文献2には、そのような特性であるドロップオフ特性(あるいは、ターンオーバー特性)を発生させることが可能なペダル装置が開示されている。特許文献2のペダル装置は、四節のリンク機構および弾性部材によってそのドロップオフ特性を再現している。具体的には、特許文献2のペダル装置は、レバー回転軸を中心に回転するレバー部材と、レバー部材から車両前方側に延びており、それぞれの一方の端部がレバー部材の支持軸に対して相対回転可能に取り付けられるリンク部材および付勢部材と、一方の支持端部によってリンク部材の他方の端部と相対回転可能に連結されたリンク部材支持アームと、他方の支持端部によって付勢部材の他方の端部と相対回転可能に連結された付勢部材支持アームと、リンク部材支持アームおよび付勢部材支持アームのそれぞれの他方の端部を、二つのアームのなす角度を維持しつつ相対回転可能に支持する回動部材と、を備えている。付勢部材は、レバー部材に支持されるリンク部と、付勢部材支持アームに支持されるリンク部と、その二つのリンク部の間に連結された弾性部材とを有する。
【0005】
特許文献2のペダル装置において、ペダルの押圧前は、レバー部材の支持軸と回動部材とを通る直線を挟んで両側に、二つの支持端部が配置された状態になっている。その状態からペダルが踏み込まれてレバー部材がレバー回転軸を中心に車両前方側、つまり、反時計回りに回動することにより、リンク部材および付勢部材も同様に反時計回りに回動するように移動する。そのとき、リンク部材が下方および車両前方に移動するのに対して、付勢部材は下方および車両後方に移動する。それにより、弾性部材の長さが短くなることで弾性力が変化することにより、レバー部材の反力が大きくなる。一方で、さらにペダルが踏み込まれた場合には、付勢部材が下方かつ車両前方に変位する。それにより、弾性部材の長さが次第に長くなり、レバー部材の反力が小さくなる。すなわち、特許文献1のペダル装置では、付勢部材が所定位置となるまでは付勢力が増大し、その所定位置を超えると付勢力が減少する。特許文献1では、このような機構により、上述したようなクラッチペダルの特性をペダル装置に付与することができる、としている。
【先行技術文献】
【特許文献】
【0006】
特許第6787507号公報
特開2018-13923号公報
【発明の概要】
【発明が解決しようとする課題】
【0007】
上述したように、特許文献2に開示されているペダル装置を特許文献1のクラッチペダルに適用することにより、特許文献1のクラッチペダルがターンオーバー特性を再現することができる。一方で、特許文献2のペダル装置では、上述したようなリンク機構、弾性部材および回動部材などがペダルの回転方向、つまり、アーム部材から車両の前方側に設けられている。また、特許文献2のペダル装置では、リンク機構の長手方向や弾性部材の伸縮方向が車両の前後方向に沿った方向に設けられているので、ペダル装置全体として、主に車両の前後方向に大型化している。特に、特許文献1のクラッチペダルは、擬似的なクラッチペダルであり、車両に搭載されている他の機構と機械的な連結がされていない。つまり、特許文献1のクラッチペダルが踏み込まれることによる踏力が付与されたとしても、その踏力は機械的には他の機構に伝達されない。また、特許文献1のクラッチペダルは、擬似的なクラッチペダルであるから、車両の走行性能に直接的な影響を及ぼさない装置である。したがって、そのような擬似的なクラッチペダルには、MT車両に搭載されているクラッチペダルの配置や操作感などを運転者が体感することを可能にしつつ、車両における他の機構の搭載性を悪化させないように、装置全体として、より小型化および軽量化することが求められている。
【0008】
この発明は、上記の技術的課題に着目して考え出されたものであり、運転者の操作感を損なうことなく、装置全体として小型化することが可能なペダル機構を提供することを目的とするものである。
【課題を解決するための手段】
【0009】
上記の目的を達成するために、この発明は、踏面を一端部に備えかつ他端部で所定の固定部に回動可能に枢着されたペダルアームと、前記踏面を踏み込むことによる前記他端部を中心にしたトルクに対抗する反力を前記ペダルアームに付与するバネ部材とを備えたペダル機構であって、前記バネ部材の一端部が前記所定の固定部に回動可能に連結されるとともに、前記バネ部材の他端部が前記ペダルアームにおける前記踏面と前記所定の固定部に対する枢着部との間の所定箇所に回動可能に連結され、前記所定箇所は、前記枢着部と前記バネ部材の一端部を前記所定の固定部に連結している連結部とを結んだ中立線から前記ペダルアームの回動方向にずれた位置に設定され、前記枢着部と前記所定箇所とを結んだ線と前記中立線とがなす角度が、前記連結部と前記所定箇所とを結んだ線と前記中立線とがなす角度より小さいことを特徴とするものである。
【0010】
この発明においては、前記ペダルアームに前記反力を付与する他のバネ部材をさらに備え、前記他のバネ部材は、一端部が前記所定の固定部に連結されるとともに、前記他のバネ部材の他端部が前記ペダルアームの他の所定箇所に連結され、前記他の所定箇所は、前記中立線から前記ペダルアームの回動方向にずれた位置に設定されていてよい。
(【0011】以降は省略されています)
この特許をJ-PlatPat(特許庁公式サイト)で参照する
関連特許
トヨタ自動車株式会社
電池
今日
トヨタ自動車株式会社
車両
8日前
トヨタ自動車株式会社
車両
4日前
トヨタ自動車株式会社
車両
4日前
トヨタ自動車株式会社
電動車
4日前
トヨタ自動車株式会社
電動車
今日
トヨタ自動車株式会社
電動車
4日前
トヨタ自動車株式会社
ロータ
6日前
トヨタ自動車株式会社
電動車
6日前
トヨタ自動車株式会社
電解液
4日前
トヨタ自動車株式会社
回転子
4日前
トヨタ自動車株式会社
電動車
4日前
トヨタ自動車株式会社
蓄電装置
8日前
トヨタ自動車株式会社
育苗装置
5日前
トヨタ自動車株式会社
蓄電装置
8日前
トヨタ自動車株式会社
蓄電セル
4日前
トヨタ自動車株式会社
電動車両
4日前
トヨタ自動車株式会社
蓄電装置
5日前
トヨタ自動車株式会社
蓄電装置
5日前
トヨタ自動車株式会社
制御装置
4日前
トヨタ自動車株式会社
蓄電装置
4日前
トヨタ自動車株式会社
塗布装置
6日前
トヨタ自動車株式会社
切断装置
4日前
トヨタ自動車株式会社
蓄電装置
6日前
トヨタ自動車株式会社
蓄電セル
6日前
トヨタ自動車株式会社
制御装置
8日前
トヨタ自動車株式会社
電源装置
4日前
トヨタ自動車株式会社
駆動装置
4日前
トヨタ自動車株式会社
検査装置
8日前
トヨタ自動車株式会社
ロボット
今日
トヨタ自動車株式会社
蓄電セル
6日前
トヨタ自動車株式会社
電気自動車
4日前
トヨタ自動車株式会社
電極積層体
5日前
トヨタ自動車株式会社
積層構造体
4日前
トヨタ自動車株式会社
電池パック
4日前
トヨタ自動車株式会社
シフト機構
4日前
続きを見る
他の特許を見る