TOP
|
特許
|
意匠
|
商標
特許ウォッチ
Twitter
他の特許を見る
10個以上の画像は省略されています。
公開番号
2025076239
公報種別
公開特許公報(A)
公開日
2025-05-15
出願番号
2024016591
出願日
2024-02-06
発明の名称
顎支持装置及び眼科装置
出願人
株式会社トプコン
代理人
弁護士法人クレオ国際法律特許事務所
主分類
A61B
3/00 20060101AFI20250508BHJP(医学または獣医学;衛生学)
要約
【課題】被検者がより快適かつより適切に被検眼の情報を取得できる顎支持装置及び眼科装置を提供する。
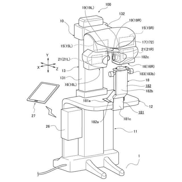
【解決手段】眼科装置100は、被検眼の情報を取得するための測定光学系21を有する左右一対の測定ヘッド16と、測定ヘッド16を支持する光学テーブル12と、被検者の顎を支持し光学テーブル12に着脱可能に取り付けられる顎支持装置18とを備える。顎支持装置18は、光学テーブル12に着脱可能に取り付けられる取付部181と、取付部181から被検者の顎に向かって突出して設けられ、顎を支持する顎支持部182とを備える。
【選択図】図1
特許請求の範囲
【請求項1】
被検眼の情報を取得する眼科装置が備える光学テーブル又は前記被検眼の情報を取得するための測定ヘッドが水平方向及び垂直方向に移動可能に支持される架台に着脱可能に取り付けられる顎支持装置であり、
前記光学テーブル又は前記架台に着脱可能に取り付けられる取付部と、
前記取付部から被検者の顎に向かって突出して設けられ、前記顎を支持する顎支持部と、を備える
ことを特徴とする顎支持装置。
続きを表示(約 1,100 文字)
【請求項2】
前記顎支持部を、前記光学テーブル又は前記架台の所定の退避位置に退避させる退避機構を備える
ことを特徴とする請求項1に記載の顎支持装置。
【請求項3】
前記取付部は、前記光学テーブル又は前記架台の上面に配置する上部支持部材と、前記光学テーブル又は前記架台の下面に配置する下部支持部材と、前記上部支持部材及び前記下部支持部材の一側を連結する連結部と、前記上部支持部材、前記下部支持部材及び前記連結部とで構成されて前記光学テーブル又は前記架台が挿入される取付空間と、を有する
ことを特徴とする請求項1に記載の顎支持装置。
【請求項4】
前記顎支持部の上下方向の位置を調整可能な上下位置調整機構を備える
ことを特徴とする請求項1に記載の顎支持装置。
【請求項5】
被検眼の情報を取得するための測定光学系を有する測定ヘッドと、
前記測定ヘッドを支持する光学テーブルと、
請求項1~4の何れか一項に記載の顎支持装置と、を備え、
前記顎支持装置は、前記光学テーブルに着脱可能に取り付けられる
ことを特徴とする眼科装置。
【請求項6】
前記測定光学系、
前記被検眼の前記測定光学系の光軸上の前眼部像を取得する画像取得部、及び
前記被検眼に視標を提示する視標提示部を有し、左右の前記被検眼に対応して左右に一対設けられた前記測定ヘッドと、
前記光学テーブルに設けられ、一対の前記測定ヘッドを個別に吊り下げて支持するヘッド支持部と、
前記測定ヘッドを鉛直方向及び水平方向に移動させ、鉛直方向に平行な軸及び水平方向に平行な軸を回旋軸として回転させる駆動機構と、を備え、
前記測定ヘッドは、前記駆動機構を介して前記ヘッド支持部に吊り下げられた構成である
ことを特徴する請求項5に記載の眼科装置。
【請求項7】
前記被検眼の前方に選択的に配置される複数の検査用レンズを含む前記測定光学系を有する前記測定ヘッドと、
前記被検眼に対して視標を提示する視標提示部と、を備える
ことを特徴とする請求項5に記載の眼科装置。
【請求項8】
架台と、
被検眼の情報を取得するための測定光学系を有し前記被検眼に対して水平方向及び垂直方向に移動可能に前記架台に支持される測定ヘッドと、
請求項1~4の何れか一項に記載の顎支持装置と、を備え、
前記顎支持装置は、前記架台に着脱可能に取り付けられる
ことを特徴とする眼科装置。
発明の詳細な説明
【技術分野】
【0001】
本開示は、顎支持装置及び眼科装置に関する。
続きを表示(約 2,600 文字)
【背景技術】
【0002】
被検眼の情報を取得するための測定光学系及び被検眼に視標を提示する視標提示部を有する測定ヘッドを備え、この測定ヘッドが、支持部によって被検眼の前方に吊り下げられた眼科装置が知られている(例えば、特許文献1、2参照)。また、検査用レンズを有するレフラクターヘッドが支持部によって吊り下げられて被検眼の前方に配置され、この被検眼に対して、視標を提示して被検眼の情報を取得する眼科装置も知られている(例えば、特許文献3参照)。
【0003】
特許文献1~3に記載の眼科装置は、被検者が額を当てる額当て部を有し、被検眼の情報の取得中に、被検者の顔が不測に動かないように支持している。さらに、特許文献2に記載の眼科装置は、被検者の頬を支持する2つの頬当て体を有する頬当て部を備え、被検者の顔を、この頬当て部と額当て部とで支持することで、顔の支持安定性をより高めている。また、特許文献4には、被検者の肘を支えるテーブルに被検者の顎を支えるための顎台が固定された、ヘッドマウントディスプレイ型の眼科装置が開示されている。特許文献5には、架台と、被検眼の情報を取得する測定光学系を有し、被検眼に対して水平方向及び垂直方向に移動可能に架台に支持される測定ヘッドと、顎支持部を備える眼科装置が開示されている。これらの従来技術のように被検者の顔が支持されることで、被検者が楽な姿勢で検査を受けることができ、被検眼の情報の取得が適切でより迅速に行われるが、被検者がより快適かつより適切に検査を行える技術の開発が切望されている。
【先行技術文献】
【特許文献】
【0004】
特開2019-216817号公報
特開2022-064300号公報
特開2023-048902号公報
特開2018-175011号公報
特開2015-058107号公報
【発明の概要】
【発明が解決しようとする課題】
【0005】
本開示は、上記の事情に鑑みて為されたもので、被検者がより快適かつより適切に被検眼の情報を取得できることを目的とする。
【課題を解決するための手段】
【0006】
上記目的を達成するため、本開示の顎支持装置は、被検眼の情報を取得する眼科装置が備える光学テーブル又は前記被検眼の情報を取得するための測定ヘッドが水平方向及び垂直方向に移動可能に支持される架台に着脱可能に取り付けられる顎支持装置である。前記光学テーブル又は前記架台に着脱可能に取り付けられる取付部と、前記取付部から被検者の顎に向かって突出して設けられ、前記顎を支持する顎支持部と、を備える。
また、本開示の眼科装置は、被検眼の情報を取得するための測定光学系を有する測定ヘッドと、前記測定ヘッドを支持する光学テーブルと、上述のような顎支持装置と、を備え、前記顎支持装置は、前記光学テーブルに着脱可能に取り付けられる。
また、本開示の眼科装置は、架台と、被検眼の情報を取得するための測定光学系を有し前記被検眼に対して垂直方向に移動可能に前記架台に支持される測定ヘッドと、上述のような顎支持装置と、を備え、前記顎支持装置は、前記架台に着脱可能に取り付けられる。
【発明の効果】
【0007】
このように構成されることで、顎支持装置により顎被検者の顔をより安定して支持することで、被検者が楽な姿勢で検査を受けることができ、被検眼の情報の取得を、より適切でより効率的に取得することができる。また、ユーザは必要に応じて顎支持装置を自在に着脱できる。したがって、被検者がより快適かつより適切に被検眼の情報を取得できる。
【図面の簡単な説明】
【0008】
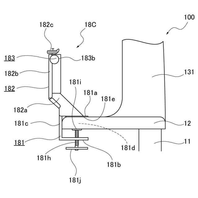
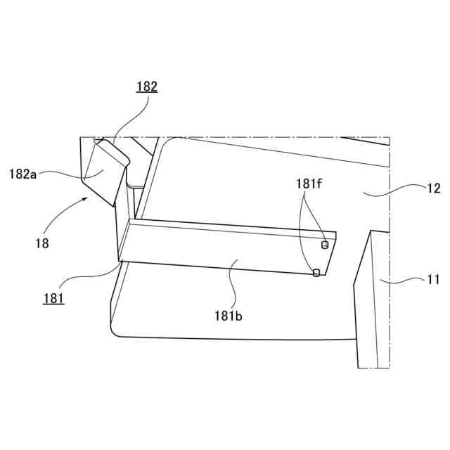
実施例1に係る眼科装置の全体構成を示す斜視図である。
実施例1に係る眼科装置の主要部分の概略構成を示す図である。
実施例1に係る眼科装置の顎支持装置近傍の側面図である。
実施例1に係る眼科装置の顎支持装置の下面側からの斜視図である。
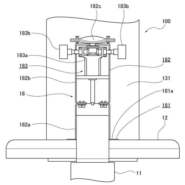
実施例1に係る眼科装置の顎支持装置の内部構造の概略構成を示す図である。
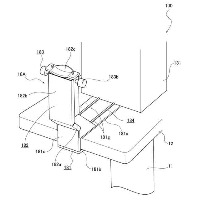
実施例2に係る眼科装置の顎支持部装置近傍の斜視図である。
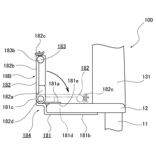
実施例2に係る眼科装置の顎支持装置近傍の側面図である。
実施例3に係る眼科装置の顎支持装置近傍の側面図である。
実施例4に係る眼科装置の顎支持装置近傍の側面図である。
実施例5に係る眼科装置の顎支持装置の斜視図である。
実施例6に係る眼科装置の側面図である。
【発明を実施するための形態】
【0009】
(実施例1)
本開示の実施例1に係る眼科装置100は、図1~図5を参照して以下のように説明される。実施例1に係る眼科装置100は、被検者Pが左右の被検眼E(図3等参照)を開放した状態で、被検眼Eの情報(以下、「眼情報」という。)の取得を両眼同時に実行可能な両眼開放タイプの眼科装置である。なお、実施例1の眼科装置100は、片眼を遮蔽したり、固視標を消灯したりすることで、片眼ずつ眼情報を取得することも可能となっている。
【0010】
実施例1の眼科装置100は、任意の他覚検査及び自覚検査を行うことが可能な装置である。自覚検査では、眼科装置100は、被検者Pに所定の提示位置で視標等を提示し、この視標等に対する被検者Pの応答に基づいて眼情報として自覚検査結果を取得する。この自覚検査は、遠用検査、中用検査、近用検査、コントラスト検査、夜間検査、グレア検査、ピンホール検査、立体視検査等の自覚屈折測定や、視野検査等がある。他覚検査では、眼科装置100は、被検眼Eに光を照射し、その戻り光の検出結果に基づいて眼情報を測定する。この他覚検査は、眼情報として被検眼Eの特性を取得するための測定と、被検眼Eの画像を取得するための撮影とが含まれる。さらに、他覚検査は、他覚屈折測定(レフ測定)、角膜形状測定(ケラト測定)、眼圧測定、眼底撮影、光コヒーレンストモグラフィ(Optical Coherence Tomography:以下、「OCT」という)を用いた断層像撮影(OCT撮影)、OCTを用いた計測等がある。
(【0011】以降は省略されています)
この特許をJ-PlatPat(特許庁公式サイト)で参照する
関連特許
個人
健康器具
7か月前
個人
歯茎みが品
8か月前
個人
鼾防止用具
7か月前
個人
短下肢装具
2か月前
個人
前腕誘導装置
2か月前
個人
脈波測定方法
7か月前
個人
洗井間専家。
6か月前
個人
嚥下鍛錬装置
3か月前
個人
導電香
8か月前
個人
白内障治療法
7か月前
個人
脈波測定方法
7か月前
個人
マッサージ機
8か月前
個人
胸骨圧迫補助具
1か月前
個人
矯正椅子
4か月前
個人
アイマスク装置
1か月前
個人
バッグ式オムツ
3か月前
個人
ホバーアイロン
6か月前
個人
歯の修復用材料
3か月前
個人
汚れ防止シート
11日前
個人
陣痛緩和具
3か月前
個人
口内洗浄具
7か月前
個人
湿布連続貼り機。
1か月前
個人
哺乳瓶冷まし容器
2か月前
三生医薬株式会社
錠剤
6か月前
個人
シャンプー
5か月前
個人
車椅子持ち上げ器
7か月前
個人
歯の保護用シール
4か月前
個人
性行為補助具
2か月前
株式会社結心
手袋
7か月前
株式会社 MTG
浴用剤
8か月前
個人
治療用酸化防御装置
29日前
個人
服薬支援装置
6か月前
株式会社大野
骨壷
3か月前
個人
エア誘導コルセット
1か月前
株式会社八光
剥離吸引管
4か月前
株式会社GSユアサ
歩行器
4か月前
続きを見る
他の特許を見る