TOP
|
特許
|
意匠
|
商標
特許ウォッチ
Twitter
他の特許を見る
公開番号
2025073292
公報種別
公開特許公報(A)
公開日
2025-05-13
出願番号
2023183940
出願日
2023-10-26
発明の名称
鍵盤装置
出願人
ヤマハ株式会社
代理人
弁理士法人高橋・林アンドパートナーズ
主分類
G10D
13/09 20200101AFI20250502BHJP(楽器;音響)
要約
【課題】鍵盤装置において従来とは異なる方法で発音すること
【解決手段】一実施形態における鍵盤装置1は、支持体50と、支持体50から糸状部材40を介して揺動可能に吊り下げられた棒状の複数の発音体30であって、第1発音体および第1発音体と固有振動数が異なる第2発音体を少なくとも含む複数の発音体30と、揺動可能な複数の鍵10であって、第1鍵および第2鍵を含む複数の鍵10と、第1鍵の動作に応じて回動することで第1発音体を打撃する第1打撃部および第2鍵の動作に応じて回動することで第2発音体を打撃する第2打撃部を含む複数の打撃部20と、を含む。
【選択図】図1
特許請求の範囲
【請求項1】
支持体と、
前記支持体から糸状部材を介して揺動可能に吊り下げられた棒状の複数の発音体であって、第1発音体および前記第1発音体と固有振動数が異なる第2発音体を少なくとも含む複数の発音体と、
揺動可能な複数の鍵であって、第1鍵および第2鍵を含む複数の鍵と、
前記第1鍵の動作に応じて回動することで前記第1発音体を打撃する第1打撃部および前記第2鍵の動作に応じて回動することで前記第2発音体を打撃する第2打撃部を含む複数の打撃部と、
を含む、鍵盤装置。
続きを表示(約 380 文字)
【請求項2】
前記第1発音体は、前記第2発音体より短く、
前記第1発音体の上端は、前記第2発音体の上端よりも上方に位置する、請求項1に記載の鍵盤装置。
【請求項3】
前記第1発音体は、前記第2発音体より短く、
前記第1発音体の下端は、前記第2発音体の下端よりも下方に位置する、請求項1または請求項2に記載の鍵盤装置。
【請求項4】
前記第1発音体のうち前記第1打撃部に打撃される部分、および前記第2発音体のうち前記第2打撃部に打撃される部分は、金属部材である、請求項1に記載の鍵盤装置。
【請求項5】
前記第1打撃部のうち前記第1発音体を打撃する部分、および前記第2打撃部のうち前記第2発音体を打撃する部分は、樹脂部材または繊維状部材である、請求項1または請求項4に記載の鍵盤装置。
発明の詳細な説明
【技術分野】
【0001】
本発明は、鍵盤装置に関する。
続きを表示(約 1,600 文字)
【背景技術】
【0002】
鍵盤装置を用いた楽器は、その種類によって様々な発音体を有する。発音体は、例えば、鍵に連動するハンマによって打撃される。このような発音体は、例えば、弦、音板または音管である。発音体は一般的に両端部が支持された構造を有する。トイピアノのような小型の鍵盤楽器には、一般的には両端が支持された音板が発音体として採用される(例えば、特許文献1)。
【先行技術文献】
【特許文献】
【0003】
特開2017-169705号公報
【発明の概要】
【発明が解決しようとする課題】
【0004】
本発明の目的の一つは、鍵盤装置において従来とは異なる方法で発音することにある。
【課題を解決するための手段】
【0005】
一実施形態における鍵盤装置は、支持体と、支持体から糸状部材を介して揺動可能に吊り下げられた棒状の複数の発音体であって、第1発音体および第1発音体と固有振動数が異なる第2発音体を少なくとも含む複数の発音体と、揺動可能な複数の鍵であって、第1鍵および第2鍵を含む複数の鍵と、第1鍵の動作に応じて回動することで第1発音体を打撃する第1打撃部および第2鍵の動作に応じて回動することで第2発音体を打撃する第2打撃部を含む複数の打撃部と、を含む。
【発明の効果】
【0006】
本発明の一実施形態によれば、鍵盤装置において従来とは異なる方法で発音することができる。
【図面の簡単な説明】
【0007】
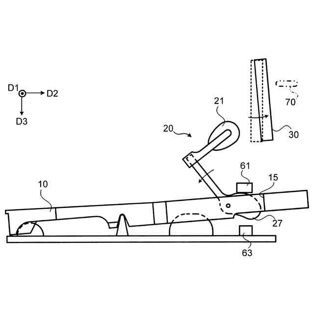
一実施形態における鍵盤装置の外観を説明するための図である。
一実施形態における鍵盤装置の構成を説明するための図である。
一実施形態における発音体の構成を説明するための図である。
一実施形態における鍵および打撃部の構成を説明するための図である。
一実施形態における鍵および打撃部の構成を説明するための図である。
一実施形態における鍵盤装置の動作を説明するための図である。
一実施形態における鍵盤装置の動作を説明するための図である。
変形例における発音体の構成を説明するための図である。
【発明を実施するための形態】
【0008】
以下、本発明の一実施形態における鍵盤装置について、図面を参照しながら詳細に説明する。以下に示す実施形態は一例であって、本発明はこれらの実施形態に限定して解釈されるものではない。なお、本実施形態で参照する図面において、同一部分または同様な機能を有する部分には同一の符号または類似の符号(数字の後にA、B等を付しただけの符号)を付し、その繰り返しの説明は省略する場合がある。また、図面の寸法比率は説明の都合上実際の比率とは異なったり、構成の一部が図面から省略されたりする場合がある。
【0009】
<実施形態>
一実施形態における鍵盤装置は、鍵が押下されると、打撃部によって打撃される発音体を含む。この例では、発音体は、金属製の管体であり、支持体から吊り下げられている。したがって、発音体が打撃されると、発音体が揺動しながら音を発する。以下、鍵盤装置について詳細を説明する。以下の説明において、「上」、「下」、「左」、「右」、「手前」、「奥」といった表現は、鍵盤装置の演奏者から見た位置関係を示す。
【0010】
[1.鍵盤装置1の構成]
図1は、一実施形態における鍵盤装置の外観を説明するための図である。鍵盤装置1は、複数の鍵10、複数の打撃部20、複数の発音体30および支持体50を含む。この例では鍵盤装置1は、白鍵12個および黒鍵8個の20個の鍵10を含む。
(【0011】以降は省略されています)
この特許をJ-PlatPat(特許庁公式サイト)で参照する
関連特許
ヤマハ株式会社
リード
1か月前
ヤマハ株式会社
鍵盤楽器
5か月前
ヤマハ株式会社
鍵盤装置
2か月前
ヤマハ株式会社
鍵盤装置
4か月前
ヤマハ株式会社
イヤーピース
1か月前
ヤマハ株式会社
発音制御装置
3か月前
ヤマハ株式会社
音響出力装置
5か月前
ヤマハ株式会社
音響出力装置
5か月前
ヤマハ株式会社
信号処理装置
3か月前
ヤマハ株式会社
情報処理方法
4か月前
ヤマハ株式会社
情報処理方法
4か月前
ヤマハ株式会社
鍵盤装置用の鍵
3か月前
ヤマハ株式会社
ドライバユニット
2日前
ヤマハ株式会社
弦楽器用の支持装置
2か月前
ヤマハ株式会社
管楽器用部品及び管楽器
4か月前
ヤマハ株式会社
表示方法およびプログラム
4か月前
ヤマハ株式会社
スピーカーユニット取付具
5か月前
ヤマハ株式会社
音処理装置および音処理方法
15日前
ヤマハ株式会社
音処理方法および音処理装置
23日前
ヤマハ株式会社
音処理方法および音処理装置
9日前
ヤマハ株式会社
音処理システム及び音処理方法
1日前
ヤマハ株式会社
機器制御方法および機器制御装置
4か月前
ヤマハ株式会社
機器制御方法および機器制御装置
4か月前
ヤマハ株式会社
信号処理方法および信号処理装置
3か月前
ヤマハ株式会社
音声処理方法および音声処理装置
1日前
ヤマハ株式会社
収音制御方法および収音制御装置
1日前
ヤマハ株式会社
信号処理設計方法およびプロセッサ
3か月前
ヤマハ株式会社
音響調整方法、及び、音響調整装置
4か月前
ヤマハ株式会社
連打判定装置および方法、プログラム
2か月前
ヤマハ株式会社
駆動装置、音響装置および車両用ドア
5日前
ヤマハ株式会社
音信号処理方法および音信号処理装置
1日前
ヤマハ株式会社
データ処理方法およびデータ処理装置
1か月前
ヤマハ株式会社
解錠管理方法および解錠管理システム
1日前
ヤマハ株式会社
信号処理の方法、プログラムおよび装置
2日前
ヤマハ株式会社
音処理装置及び車載オーディオシステム
4か月前
ヤマハ株式会社
音処理方法、音処理装置およびプログラム
5か月前
続きを見る
他の特許を見る