TOP
|
特許
|
意匠
|
商標
特許ウォッチ
Twitter
他の特許を見る
公開番号
2025068305
公報種別
公開特許公報(A)
公開日
2025-04-28
出願番号
2023178101
出願日
2023-10-16
発明の名称
配管構造
出願人
株式会社クボタケミックス
代理人
個人
主分類
F16L
47/03 20060101AFI20250421BHJP(機械要素または単位;機械または装置の効果的機能を生じ維持するための一般的手段)
要約
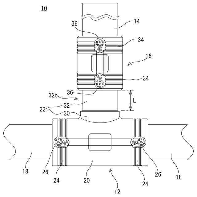
【課題】差口付き管継手の差口管部の耐熱性が向上された配管構造を提供する。
【解決手段】配管構造10は、継手本体20と管厚が4.6mm以上7.0mm以下である合成樹脂製の差口管部32とを有する電気融着チーズ12(差口付き管継手)、差口管部と同じ外径でかつ管厚が7.0mmを超える合成樹脂製の管部材14、および両端部に電気融着受口34を有し、差口管部と管部材とを接続する電気融着ソケット16を備える。差口管部の露出部32bの軸方向長さLは、70mm以下に設定される。
【選択図】図1
特許請求の範囲
【請求項1】
継手本体と管厚が4.6mm以上7.0mm以下である合成樹脂製の差口管部とを有する差口付き管継手、
前記差口管部と同じ外径でかつ管厚が7.0mmを超える合成樹脂製の管部材、および
両端部に電気融着受口を有し、前記差口管部と前記管部材とを接続する電気融着ソケットを備え、
前記差口管部の露出部の軸方向長さを70mm以下とした、配管構造。
続きを表示(約 140 文字)
【請求項2】
前記露出部の軸方向長さは、前記差口管部の内径の1.5倍以下の大きさである、請求項1記載の配管構造。
【請求項3】
前記露出部の軸方向長さは、前記差口管部の管厚の3.0倍以上12.0倍以下の大きさである、請求項1または2記載の配管構造。
発明の詳細な説明
【技術分野】
【0001】
この発明は、配管構造に関し、特にたとえば、継手本体と管厚が4.6mm以上7.0mm以下である合成樹脂製の差口管部とを有する差口付き管継手を含む、配管構造に関する。
続きを表示(約 1,700 文字)
【背景技術】
【0002】
従来のこの種の配管構造の一例が特許文献1に開示される。特許文献1の技術は、第1の樹脂管と第2の樹脂管とが融着により接続された融着管に関する技術であって、第1の樹脂管と第2の樹脂管との接続部の内周面において、内周ビードが形成されており、内周ビードは、第1の樹脂管側の第1の凸部と第2の樹脂管側の第2の凸部とを有している。内周ビードが形成されていない領域での第1の樹脂管の端部における最大内径の、内周ビードが形成されていない領域での第2の樹脂管の端部における最大内径に対する比は、1.02以上1.15以下であり、第1の凸部の最大高さ位置における第1の樹脂管の内径は、第2の凸部の最大高さ位置における第2の樹脂管の内径よりも大きい。
【先行技術文献】
【特許文献】
【0003】
特開2020-122516号公報
【発明の概要】
【発明が解決しようとする課題】
【0004】
配管は、同じSDRの管部材同士を接続して構成することが基本であるが、特許文献1の技術のように、SDRが異なる(つまり外径が同じでかつ管厚が異なる)管部材同士を接続して構成する場合もある。なお、SDR(Standard Dimension Ratio)とは、管外径を管厚によって除した値のことであり、管外径が変化してもこの比率を一定とすれば耐圧強度は等しくなる。
【0005】
ここで、配管における耐熱性は、樹脂管部の管厚に依存することが知られている。このため、SDRが異なる管部材同士を接続して構成した配管構造の場合、SDRが大きい(つまり管厚が小さい)樹脂管部の部分の耐熱性が懸念される。たとえば、EFチーズおよびレデューサ等の差口付き管継手を含む配管構造の場合、差口付き管継手の継手本体の部分は、管厚が大きいため耐熱性が確保される。また、差口付き管継手に接続する管部材の部分については、SDRが小さい(つまり管厚が大きい)管部材を用いることで、耐熱性を確保できる。しかしながら、差口付き管継手の差口管部は、継手本体と比較して厚みが小さいため、この差口管部の部分の耐熱性が懸念される。したがって、この差口管部の部分の耐熱性を向上できる技術が望まれる。
【0006】
それゆえに、この発明の主たる目的は、新規な、配管構造を提供することである。
【0007】
この発明の他の目的は、差口付き管継手の差口管部の耐熱性が向上された、配管構造を提供することである。
【課題を解決するための手段】
【0008】
第1の発明は、継手本体と管厚が4.6mm以上7.0mm以下である合成樹脂製の差口管部とを有する差口付き管継手、差口管部と同じ外径でかつ管厚が7.0mmを超える合成樹脂製の管部材、および両端部に電気融着受口を有し、差口管部と管部材とを接続する電気融着ソケットを備え、差口管部の露出部の軸方向長さを70mm以下とした、配管構造である。
【0009】
第1の発明では、配管構造は、差口付き管継手、管部材および電気融着ソケットを備える。差口付き管継手は、継手本体と、管厚が4.6mm以上7.0mm以下である合成樹脂製の差口管部とを有している。また、管部材は、合成樹脂製であり、差口管部の外径と同じ外径を有し、かつ、7.0mmを超える管厚を有している。電気融着ソケットは、両端部に電気融着受口を有しており、差口管部と管部材とを接続している。そして、差口管部の露出部の軸方向長さは、70mm以下に設定される。このように、差口管部の露出部の軸方向長さを70mm以下とすることで、管厚が4.6mm以上7.0mm以下である差口管部を有していても、この部分の耐熱性が向上されて、消防庁告示第19号に規定される軽易耐熱性試験に合格可能な耐熱性を得ることができる。
【0010】
第1の発明によれば、差口管部の露出部の軸方向長さを70mm以下としたので、差口管部延いては配管構造の耐熱性を適切に向上させることができ、軽易耐熱性試験に合格可能な耐熱性を得ることができる。
(【0011】以降は省略されています)
この特許をJ-PlatPat(特許庁公式サイト)で参照する
関連特許
個人
留め具
6日前
個人
鍋虫ねじ
1か月前
個人
ホース保持具
6か月前
個人
回転伝達機構
2か月前
個人
紛体用仕切弁
1か月前
個人
差動歯車用歯形
3か月前
個人
トーションバー
6か月前
個人
給排気装置
13日前
個人
ジョイント
1か月前
個人
ナット
1か月前
株式会社不二工機
電磁弁
5か月前
個人
地震の揺れ回避装置
2か月前
株式会社不二工機
電磁弁
3か月前
個人
吐出量監視装置
1か月前
カヤバ株式会社
ダンパ
3か月前
カヤバ株式会社
ダンパ
3か月前
カヤバ株式会社
緩衝器
12日前
株式会社三協丸筒
枠体
6か月前
カヤバ株式会社
緩衝器
3か月前
カヤバ株式会社
緩衝器
3か月前
柿沼金属精機株式会社
分岐管
2か月前
日東電工株式会社
断熱材
6か月前
株式会社ニフコ
クリップ
17日前
株式会社フジキン
ボールバルブ
4か月前
株式会社ノーリツ
分配弁
17日前
個人
固着具と固着具の固定方法
6か月前
株式会社奥村組
制振機構
21日前
株式会社奥村組
制振機構
21日前
株式会社不二工機
電磁弁
1か月前
株式会社不二工機
電動弁
6か月前
アズビル株式会社
回転弁
25日前
株式会社不二工機
電動弁
13日前
個人
固着具と固着具の固定方法
5か月前
個人
固着具と固着具の固定方法
5か月前
株式会社ノーリツ
分配弁
5か月前
株式会社ノーリツ
分配弁
5か月前
続きを見る
他の特許を見る