TOP
|
特許
|
意匠
|
商標
特許ウォッチ
Twitter
他の特許を見る
公開番号
2025059887
公報種別
公開特許公報(A)
公開日
2025-04-10
出願番号
2023170266
出願日
2023-09-29
発明の名称
シール部材及び緩衝器
出願人
カヤバ株式会社
代理人
弁理士法人後藤特許事務所
主分類
F16J
15/3204 20160101AFI20250403BHJP(機械要素または単位;機械または装置の効果的機能を生じ維持するための一般的手段)
要約
【課題】所望の面圧勾配を実現し、にじみ漏れを抑制できるシール部材を提供する。
【解決手段】シール部材Sのダストシール10は、基端側に向かって縮径する第1内周面11と、基端側に向かって拡径する第2内周面12と、第1内周面11と第2内周面12との接続部分に形成されるダストリップ部14と、ダストリップ部14より基端側に設けられる剛性低減部と、を有し、剛性低減部は、芯金40のダストリップ部14側の端面40aよりもダストシール10の先端側で、かつ、軸方向における芯金40のダストリップ部14側の端面40aとダストリップ部14との中間よりも基端側に位置している。
【選択図】図3
特許請求の範囲
【請求項1】
流体圧機器に設けられシリンダとロッドとの間をシールするシール部材であって、
芯金と、
前記芯金に基端が固定されて前記ロッドに向かって延び、前記ロッドの外周面に摺接するダストシールと、を備え、
前記ダストシールは、
前記基端側に向かって縮径する第1内周面と、
前記第1内周面より前記基端側に形成され、前記基端側に向かって拡径する第2内周面と、
前記第1内周面と前記第2内周面との接続部分に形成されるダストリップ部と、
前記ダストリップ部より前記基端側に設けられる剛性低減部と、を有し、
前記剛性低減部は、前記芯金の前記ダストリップ部側の端面よりも前記ダストシールの先端側で、かつ、軸方向における前記芯金の前記ダストリップ部側の端面と前記ダストリップ部との中間よりも前記基端側に位置していることを特徴とするシール部材。
続きを表示(約 690 文字)
【請求項2】
請求項1に記載のシール部材において、
前記ダストシールは、
前記第2内周面より前記基端側に形成され、前記基端側に向かって拡径する第3内周面と、
前記第2内周面と前記第3内周面との接続部分に形成される屈曲部と、をさらに有し、
前記剛性低減部は、
少なくとも前記第3内周面が設けられる領域において、前記ダストシールの径方向の厚さを前記屈曲部における径方向の厚さよりも薄くすることによって形成されていることを特徴とするシール部材。
【請求項3】
請求項1に記載のシール部材において、
前記ダストシールの前記基端は、前記芯金の前記ダストリップ部側の端面に沿って延びる被覆部を有し、
前記被覆部の前記軸方向における前記ダストリップ部側の端面を延長した位置は、前記剛性低減部の範囲内であることを特徴とするシール部材。
【請求項4】
請求項2に記載のシール部材において、
前記第2内周面の傾斜角は、前記第1内周面の傾斜角より大きく、
前記第3内周面の傾斜角は、前記第2内周面の傾斜角より大きいことを特徴とするシール部材。
【請求項5】
請求項1から4のいずれか1つに記載のシール部材と、
作動流体が封入される前記シリンダと、
前記シリンダに前記軸方向に移動自在に挿入される前記ロッドと、
前記シリンダに収容され、前記ロッドの移動に伴って作動流体の流れに抵抗を付与して減衰力を発生する減衰力発生部と、を備えることを特徴とする緩衝器。
発明の詳細な説明
【技術分野】
【0001】
本発明は、シール部材及び緩衝器に関する。
続きを表示(約 1,600 文字)
【背景技術】
【0002】
緩衝器等の流体圧機器において、シリンダとロッドとの間を閉塞するシール部材が知られている(特許文献1)。特許文献1に記載のシール部材では、金属材からなるベース部(補強環)がシリンダに保持され、ゴム材等の弾性体からなるダストリップ部がロッドに摺接するようにベース部(補強環)に設けられている。
【先行技術文献】
【特許文献】
【0003】
実開平5-38433号公報
【発明の概要】
【発明が解決しようとする課題】
【0004】
特許文献1に記載のシール部材では、ダストリップ部の内周面側の先端側の開口部が略エッジ形状になっている。このような形状のシール部材を緩衝器に装着した場合、ロッドが収縮する際にロッドの外周面に付着したダストを効果的に除去することができるので、ダストの侵入を防止する耐ダスト性が良好である。
【0005】
しかしながら、特許文献1に記載のシール部材のような形状では、ダストリップ部での面圧が先端側から急激に立ち上がる、具体的には、先端側の開口部(ロッドとのシール部分の先端側)がエッジ形状になっているため、ロッドの収縮時にロッドの外周面に付着している油膜が掻き取られてしまい、オイルのにじみ漏れが発生しやすくなる。
【0006】
そこで、オイルのにじみ漏れを防止するために、ダストリップ部での面圧の勾配を寝かせる、具体的には、ダストリップ部の先端面の角度を寝かせることが考えられる。しかしながら、このようにダストリップ部の先端面を寝かせても、ダストシールの剛性が高いため、面圧勾配を寝かせた状態で維持することができないため、所望の面圧勾配を実現することができず、にじみ漏れの防止ができなかった。
【0007】
本発明は、上記の問題点に鑑みてなされたものであり、所望の面圧勾配を実現し、にじみ漏れを抑制できるシール部材を提供することを目的とする。
【課題を解決するための手段】
【0008】
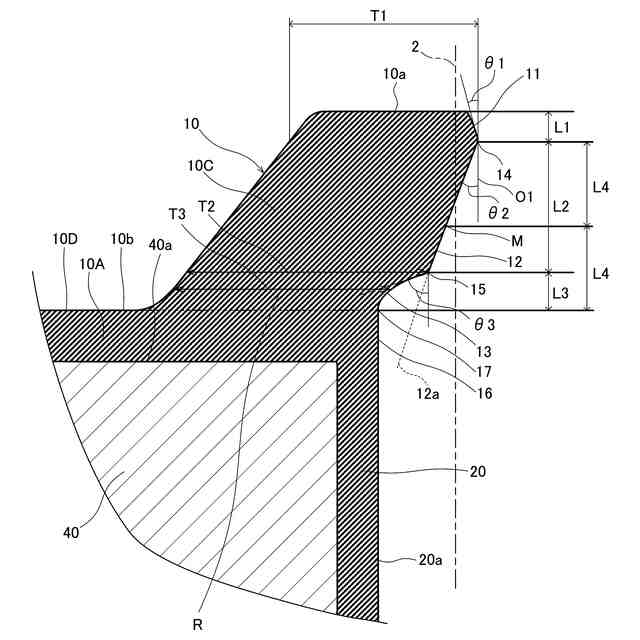
本発明は、流体圧機器に設けられシリンダとロッドとの間をシールするシール部材であって、芯金と、芯金に基端が固定されてロッドに向かって延び、ロッドの外周面に摺接するダストシールと、を備え、ダストシールは、基端側に向かって縮径する第1内周面と、第1内周面より基端側に形成され、基端側に向かって拡径する第2内周面と、第1内周面と第2内周面との接続部分に形成されるダストリップ部と、ダストリップ部より基端側に設けられる剛性低減部と、を有し、剛性低減部は、芯金のダストリップ部側の端面よりもダストシールの先端側で、かつ、軸方向における芯金のダストリップ部側の端面とダストリップ部との中間よりも基端側に位置していることを特徴とする。
【0009】
この発明では、ダストリップ部が第1内周面と第2内周面との接続部分に形成されるため、第1内周面と第2内周面の角度を調整することで面圧を寝かせることができる。また、この発明では、剛性低減部が、芯金のダストリップ部側の端面よりもダストシールの先端側で、かつ、軸方向における芯金のダストリップ部側の端面とダストリップ部との中間よりも基端側に位置しているので、ダストシールの剛性が高くなりすぎず、かつ、低くなりすぎないため、所望の面圧勾配を維持することができる。これにより、ダストシールの面圧のピーク値を維持しつつ、にじみ漏れを抑制できる。
【0010】
本発明は、ダストシールが、第2内周面より基端側に形成され、基端側に向かって拡径する第3内周面と、第2内周面と第3内周面との接続部分に形成される屈曲部と、をさらに有し、剛性低減部は、少なくとも第3内周面が設けられる領域において、ダストシールの径方向の厚さを屈曲部における径方向の厚さよりも薄くすることによって形成されていることを特徴とする。
(【0011】以降は省略されています)
この特許をJ-PlatPat(特許庁公式サイト)で参照する
関連特許
カヤバ株式会社
ダンパ
3か月前
カヤバ株式会社
減圧弁
11日前
カヤバ株式会社
緩衝器
3か月前
カヤバ株式会社
緩衝器
3か月前
カヤバ株式会社
緩衝器
4日前
カヤバ株式会社
緩衝器
4日前
カヤバ株式会社
ダンパ
3か月前
カヤバ株式会社
ミキサ車
2日前
カヤバ株式会社
防水構造
2日前
カヤバ株式会社
ミキサ車
2日前
カヤバ株式会社
ミキサ車
2日前
カヤバ株式会社
ギヤポンプ
2日前
カヤバ株式会社
ギヤポンプ
2日前
カヤバ株式会社
展開デッキ
2日前
カヤバ株式会社
電動ポンプ
9日前
カヤバ株式会社
電動ポンプ
2か月前
カヤバ株式会社
摩擦試験機
13日前
カヤバ株式会社
ギヤポンプ
2日前
カヤバ株式会社
冗長システム
1か月前
カヤバ株式会社
高所作業装置
9日前
カヤバ株式会社
ベーンポンプ
2か月前
カヤバ株式会社
苗木植付装置
2日前
カヤバ株式会社
苗木抜出装置
2日前
カヤバ株式会社
苗木植付装置
2日前
カヤバ株式会社
苗木植付装置
2日前
カヤバ株式会社
ベーンポンプ
4か月前
カヤバ株式会社
苗木植付装置
2日前
カヤバ株式会社
苗木植付装置
2日前
カヤバ株式会社
バルブユニット
3か月前
カヤバ株式会社
電磁リリーフ弁
2か月前
カヤバ株式会社
モータ制御装置
2か月前
カヤバ株式会社
モータ制御装置
2か月前
カヤバ株式会社
流体圧制御装置
25日前
カヤバ株式会社
チェックバルブ
13日前
カヤバ株式会社
ポンプの取付構造
4か月前
カヤバ株式会社
回転機の製造方法
9日前
続きを見る
他の特許を見る