TOP
|
特許
|
意匠
|
商標
特許ウォッチ
Twitter
他の特許を見る
公開番号
2025058550
公報種別
公開特許公報(A)
公開日
2025-04-09
出願番号
2023168545
出願日
2023-09-28
発明の名称
撮像装置
出願人
株式会社ニコン
代理人
藤央弁理士法人
主分類
H04N
25/60 20230101AFI20250402BHJP(電気通信技術)
要約
【課題】PLS信号成分を補正すること。
【解決手段】撮像装置は、光を電荷に変換する第1光電変換部と、前記第1光電変換部から転送された電荷を保持する第1電荷保持部と、前記第1電荷保持部で保持された電荷に基づく第1信号を出力する第1出力部とをそれぞれ含む第1画素と、光を電荷に変換する第2光電変換部と、前記第2光電変換部から転送された電荷を保持する第2電荷保持部と、前記第2電荷保持部で保持された電荷に基づく第2信号を出力する第2出力部とをそれぞれ含む第2画素とを有する撮像素子と、前記第1光電変換部が飽和するまでの時間と、前記第2電荷保持部が電荷を保持する電荷保持時間と、寄生受光感度に関する情報とから、前記第2出力部から出力される第2信号を補正する補正部と、を有する。
【選択図】図3
特許請求の範囲
【請求項1】
光を電荷に変換する第1光電変換部と、前記第1光電変換部から転送された電荷を保持する第1電荷保持部と、前記第1電荷保持部で保持された電荷に基づく第1信号を出力する第1出力部とをそれぞれ含む第1画素と、光を電荷に変換する第2光電変換部と、前記第2光電変換部から転送された電荷を保持する第2電荷保持部と、前記第2電荷保持部で保持された電荷に基づく第2信号を出力する第2出力部とをそれぞれ含む第2画素とを有する撮像素子と、
前記第1光電変換部が飽和するまでの時間と、前記第2電荷保持部が電荷を保持する電荷保持時間と、寄生受光感度に関する情報とから、前記第2出力部から出力される第2信号を補正する補正部と、
を有する撮像装置。
続きを表示(約 1,000 文字)
【請求項2】
請求項1に記載の撮像装置であって、
第1電荷蓄積時間に前記第1光電変換部において変換される電荷に基づく第1信号から、前記第1光電変換部が飽和するまでの時間を取得する取得部と、
を有する撮像装置。
【請求項3】
請求項2に記載の撮像装置であって、
前記取得部は、焦点検出のための前記第1電荷蓄積時間に前記第1光電変換部において変換される電荷に基づく前記第1信号から、前記第1光電変換部が飽和するまでの時間を取得する、撮像装置。
【請求項4】
請求項2に記載の撮像装置であって、
前記取得部は、フリッカを検出するための前記第1電荷蓄積時間に前記第1光電変換部において変換される電荷に基づく前記第1信号から、前記第1光電変換部が飽和するまでの時間を取得する、撮像装置。
【請求項5】
請求項2に記載の撮像装置であって、
焦点検出のための前記第1電荷蓄積時間に前記第1光電変換部において変換される電荷に基づく前記第1信号から、前記第1光電変換部が飽和するまでの時間を取得する第1設定と、フリッカを検出するための前記第1電荷蓄積時間に前記第1光電変換部において変換される電荷に基づく前記第1信号から、前記第1光電変換部が飽和するまでの時間を取得する第2設定と、のいずれかを選択可能な設定部を有する撮像装置。
【請求項6】
請求項2に記載の撮像装置であって、
前記補正部は、第1電荷蓄積時間に前記第1光電変換部が飽和していない場合に、前記第2信号を補正する撮像装置。
【請求項7】
請求項1に記載の撮像装置であって、
前記補正部は、撮像範囲内に第1輝度以上の輝度値となる第1領域が存在する場合、前記第2信号を補正する撮像装置。
【請求項8】
請求項7に記載の撮像装置であって、
前記第1画素は、撮影時に前記第1領域に対応する画素である、撮像装置。
【請求項9】
請求項7に記載の撮像装置であって、
前記補正部は、前記明るい被写体の周囲に前記第2輝度以下の輝度値となる第2領域が存在する場合、前記第2信号を補正する、撮像装置。
【請求項10】
請求項9に記載の撮像装置であって、
前記第1画素は、撮影時に前記第1領域に対応する画素であり、
前記第2画素は、撮影時に前記第2領域に対応する画素である、撮像装置。
(【請求項11】以降は省略されています)
発明の詳細な説明
【技術分野】
【0001】
本発明は、撮像装置に関する。
続きを表示(約 2,100 文字)
【背景技術】
【0002】
画素内にメモリを有する撮像素子が知られている(例えば特許文献1)。従来から、画素で発生するノイズが問題となっている。
【先行技術文献】
【特許文献】
【0003】
特開2011-188410号公報
【発明の概要】
【0004】
本開示技術の撮像装置は、光を電荷に変換する第1光電変換部と、前記第1光電変換部から転送された電荷を保持する第1電荷保持部と、前記第1電荷保持部で保持された電荷に基づく第1信号を出力する第1出力部とをそれぞれ含む第1画素と、光を電荷に変換する第2光電変換部と、前記第2光電変換部から転送された電荷を保持する第2電荷保持部と、前記第2電荷保持部で保持された電荷に基づく第2信号を出力する第2出力部とをそれぞれ含む第2画素とを有する撮像素子と、前記第1光電変換部が飽和するまでの時間と、前記第2電荷保持部が電荷を保持する電荷保持時間と、寄生受光感度に関する情報とから、前記第2出力部から出力される第2信号を補正する補正部と、を有する。
【図面の簡単な説明】
【0005】
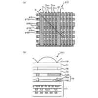
図1は、実施形態1にかかる撮像装置の構成例を示すブロック図である。
図2は、実施形態1にかかるグローバルシャッタ方式における画素の構成例を示す説明図である。
図3は、実施形態1にかかる画素の露光量およびPLS信号の経時的変化を示すグラフである。
図4は、実施形態1にかかる相対的に光の強弱がある被写体の本撮影例1を示す説明図である。
図5は、実施形態1にかかる相対的に光の強弱がある被写体の本撮影例2を示す説明図である。
図6は、実施形態1にかかるAF画素による露光での非飽和データの取得例を示す説明図である。
図7は、実施形態1にかかるAF画素の蓄積電荷量の経時的変化を示す説明図である。
図8は、実施形態1にかかるAF画素の蓄積電荷量およびPLS信号の経時的変化の詳細な具体例を示す説明図である。
図9は、実施形態1にかかるフリッカ検出による露光での非飽和データの取得例を示す説明図である。
図10は、実施形態1にかかるフリッカ検出による露光での通常画素の蓄積電荷量を示す説明図である。
図11は、実施形態1にかかるフリッカ検出による露光での通常画素の蓄積電荷量およびPLS信号の経時的変化の詳細な具体例を示す説明図である。
図12は、実施形態1にかかる撮像装置による撮像処理手順例を示すフローチャートである。
図13は、実施形態1にかかる撮像装置によるPLS信号補正処理手順例を示すフローチャートである。
図14は、実施形態2にかかる通常画素の蓄積電荷量およびPLS信号の経時的変化の詳細な具体例を示す説明図である。
図15は、実施形態2にかかるフリッカ検出による露光での通常画素の蓄積電荷量およびPLS信号の経時的変化の詳細な具体例を示す説明図である。
【発明を実施するための形態】
【0006】
[実施形態1]
<撮像装置の構成例>
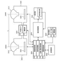
図1は、実施形態1にかかる撮像装置の構成例を示すブロック図である。撮像装置100は、静止画および動画の撮影可能な装置であり、具体的には、たとえば、デジタルカメラ、デジタルビデオカメラ、スマートフォン、タブレット、パーソナルコンピュータ、ゲーム機である。図1では、撮像装置の一例としてデジタルカメラを例に挙げて説明する。
【0007】
撮像装置100は、光学系101と、撮像素子102と、画像処理部103と、背面モニタ104と、メモリ105と、EVF(Electronic View Finder)106と、カメラ制御部107と、フラッシュ108と、を有する。
【0008】
光学系101は、光軸方向に配列された複数のレンズと絞りとを含む。光学系101は、被写体光を集光し、撮像素子102に出射する。
【0009】
撮像素子102は、光学系101からの被写体光を受光して電気信号に変換する。撮像素子102は、たとえば、XYアドレス方式の固体撮像素子(たとえば、CMOS(Complementary Metal‐Oxide Semiconductor)センサ)であってもよく、順次走査方式の固体撮像素子(たとえば、CCD(Charge Coupled Device))であってもよい。
【0010】
撮像素子102の受光面には、複数の画素がマトリクス状に配列されている。そして、撮像素子102の画素には、それぞれが異なる色成分の光を透過させる複数種類のカラーフィルタが所定の色配列(たとえば、ベイヤ配列)に従って配置される。そのため、撮像素子102の各画素は、カラーフィルタでの色分解によって各色成分に対応するアナログの電気信号を出力し、そのアナログの電気信号をデジタル信号に変換して、画像処理部103に出力する。
(【0011】以降は省略されています)
この特許をJ-PlatPat(特許庁公式サイト)で参照する
関連特許
株式会社ニコン
撮像素子および撮像装置
5日前
株式会社ニコンビジョン
観察光学系、光学機器、および観察光学系の製造方法
3日前
株式会社ニコン
撮像素子
1日前
株式会社ニコン
撮像装置
5日前
株式会社ニコン
交換レンズ
5日前
株式会社ニコン
撮像素子及び撮像装置
1日前
株式会社ニコン
光学系および光学機器
4日前
株式会社ニコン
変倍光学系および光学機器
3日前
株式会社ニコン
変倍光学系および光学機器
4日前
株式会社ニコン
固体撮像素子及び撮像装置
4日前
個人
店内配信予約システム
2か月前
サクサ株式会社
中継装置
2か月前
WHISMR合同会社
収音装置
23日前
キヤノン株式会社
撮像装置
1か月前
キヤノン株式会社
電子機器
2か月前
キヤノン株式会社
撮像装置
3か月前
アイホン株式会社
電気機器
17日前
株式会社リコー
画像形成装置
1か月前
キヤノン電子株式会社
画像読取装置
24日前
株式会社リコー
画像形成装置
1か月前
日本精機株式会社
画像投映システム
2か月前
株式会社リコー
画像形成装置
1か月前
キヤノン電子株式会社
モバイル装置
2か月前
電気興業株式会社
無線中継器
3か月前
個人
ワイヤレスイヤホン対応耳掛け
15日前
ヤマハ株式会社
信号処理装置
3か月前
キヤノン株式会社
撮像システム
17日前
ブラザー工業株式会社
読取装置
1か月前
株式会社ニコン
撮像装置
2か月前
有限会社フィデリックス
マイクロフォン
1日前
株式会社小糸製作所
画像照射装置
1か月前
沖電気工業株式会社
画像形成装置
5日前
株式会社JVCケンウッド
通信システム
1日前
国立大学法人電気通信大学
小型光学装置
1か月前
パテントフレア株式会社
超高速電波通信
1か月前
キヤノン電子株式会社
シート材搬送装置
1か月前
続きを見る
他の特許を見る