TOP
|
特許
|
意匠
|
商標
特許ウォッチ
Twitter
他の特許を見る
公開番号
2025034868
公報種別
公開特許公報(A)
公開日
2025-03-13
出願番号
2023141531
出願日
2023-08-31
発明の名称
気化装置およびガス供給方法
出願人
株式会社フジキン
代理人
個人
,
個人
主分類
C23C
16/448 20060101AFI20250306BHJP(金属質材料への被覆;金属質材料による材料への被覆;化学的表面処理;金属質材料の拡散処理;真空蒸着,スパッタリング,イオン注入法,または化学蒸着による被覆一般;金属質材料の防食または鉱皮の抑制一般)
要約
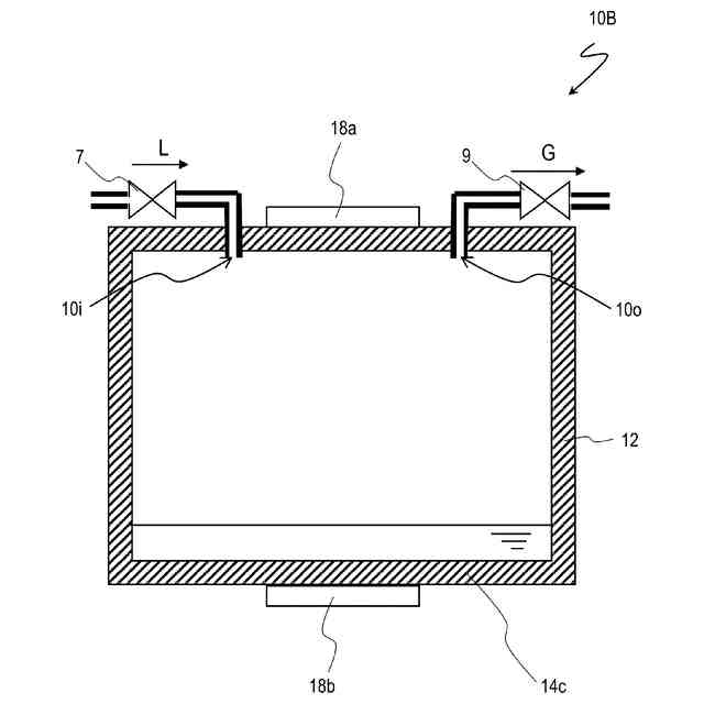
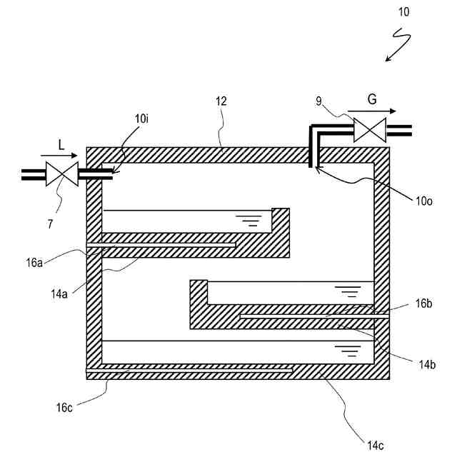
【課題】 トレイに貯留された液体材料の状態を検知することができる気化装置を提供する。
【解決手段】
気化装置10は、液体入口10iとガス出口10oとを有する筐体12と、筐体内に設けられ、液体入口10iから落下した液体材料Lを貯留することができるトレイ14a、14b、14cと、トレイ14a、14b、14cに貯留された液体材料を加熱するためのヒータと、トレイ14a、14b、14cに設けられた振動センサ16a、16b、16cとを備える。
【選択図】 図2
特許請求の範囲
【請求項1】
液体入口とガス出口とを有する筐体と、
前記筐体内に設けられ、前記液体入口から落下した液体材料を貯留することができるトレイと、
前記トレイに貯留された液体材料を加熱するためのヒータと、
前記トレイに設けられた振動センサと
を備える気化装置。
続きを表示(約 1,100 文字)
【請求項2】
前記振動センサは、前記液体材料の落下および前記液体材料の沸騰の少なくともいずれかを検知可能なセンサである、請求項1に記載の気化装置。
【請求項3】
前記振動センサは、前記トレイの底部材に埋め込まれて設けられる、請求項1に記載の気化装置。
【請求項4】
複数の前記トレイを有し、前記複数のトレイは、上段トレイと、前記上段トレイの下方に設けられた下段トレイと、前記筐体の底部によって構成される底トレイとを含み、
前記液体入口から前記上段トレイに前記液体材料が落下し、前記上段トレイからあふれた液体材料が前記下段トレイに落下し、前記下段トレイからあふれた液体材料が前記底トレイに落下するように構成されている、請求項1に記載の気化装置。
【請求項5】
前記複数のトレイのそれぞれに、前記振動センサが設けられている、請求項4に記載の気化装置。
【請求項6】
前記上段トレイは、最上段のトレイであって、少なくとも前記液体材料の沸騰を検知可能な振動センサが設けられており、前記底トレイは、最下段のトレイであって、少なくとも前記液体材料の落下を検知可能な振動センサが設けられている、請求項4または5に記載の気化装置。
【請求項7】
液体入口およびガス出口を有する筐体と、
前記筐体内に設けられ、前記液体入口から落下した液体材料を貯留することができる複数のトレイであって、液体入口から供給された液体材料が順々に落下するように配置された複数のトレイと、
前記複数のトレイに貯留された液体材料を加熱するためのヒータと、
それぞれが前記複数のトレイのそれぞれに設けられた複数の振動センサと
を有する気化装置を用いて行うガス供給方法であって、
前記複数のトレイに液体材料が貯留された状態で、前記ヒータを用いて前記液体材料を気化させることによって原料ガスを生成し、生成した原料ガスを送出する工程と、
前記原料ガスを送出している期間において、前記複数のトレイのうちの最も液体材料が消費されやすいトレイに設けられた第1振動センサの出力を監視して、当該トレイにおける液体材料の枯渇を検知する工程と、
前記当該トレイにおける液体材料の枯渇を検知した後に、前記原料ガスの送出を停止し、前記液体入口から液体を補充する工程と、
前記液体を補充している期間において、前記複数のトレイのうちの最下段のトレイに設けられた第2振動センサの出力を監視して、当該トレイへの液体材料の落下開始を監視する工程と、
前記第2振動センサによる当該トレイへの液体材料の落下開始の検知に基づいて、前記液体材料の補充を停止する工程と
を含む、ガス供給方法。
発明の詳細な説明
【技術分野】
【0001】
本発明は、気化装置に関し、特に、気化室内の液体材料の状態を確認することができる機能を有する気化装置に関する。
続きを表示(約 1,700 文字)
【背景技術】
【0002】
半導体製造設備又は化学プラント等において、原料ガスやエッチングガスなどの種々のプロセスガスがプロセスチャンバに供給される。供給されるガスの流量を制御する装置としては、マスフローコントローラ(熱式質量流量制御器)や圧力式流量制御装置が知られている。
【0003】
有機金属気相成長法(MOCVD)などによって成膜を行う半導体製造装置において、液体材料を気化させてから原料ガスとしてプロセスチャンバに供給するための気化供給装置が用いられている。特許文献1には、TEOS(Tetraethyl orthosilicate)などの有機金属原料を、例えば200℃などの比較的高温にまで加熱して気化させ、ガスの温度を維持したままプロセスチャンバに供給する気化供給装置が開示されている。気化供給装置は、絶縁膜を形成するための材料となるHCDS(Si
2
Cl
6
)ガスの供給のためなどにも用いられている。
【0004】
液体材料の気化装置としては、気化室内に多段に配置された複数のトレイに液体材料を貯留したうえで気化させるものも提案されている。特許文献2に記載の気化装置では、液体材料が多段のトレイに貯留され、トレイまたは筐体に設けたヒータによって各トレイ内の液体材料が気化される。
【0005】
このように、複数のトレイを用いることによって、気化室における液体材料の表面積を大きくすることができ、気化量を増加させることができ、従来に比べて、より大流量の原料ガスをプロセスチャンバに供給することができる。また、大流量のガスを供給するときにも、気化装置のサイズを大きくしなくて済むので、省スペース化が図れ、プロセスチャンバの周りに適切に配置することができる。この場合、気化させたガスの再液化を防止するための要保温流路が短くて済むという利点も得られる。
【0006】
近年では、プロセスチャンバの周囲に配置する装置のより一層の省占有スペース化が求められており、一方で、ALD(原子層堆積)プロセスなどでは、大流量気化供給化および大排気量化が求められている。このため、複数のトレイなどを用いて、例えば約50mm幅と小型ながらも気化供給量が大きい気化装置の開発が進められている。
【先行技術文献】
【特許文献】
【0007】
国際公開第2019/021948号
特開2023-87236号公報
国際公開第2022/190711号
国際公開第2021/200227号
【発明の概要】
【発明が解決しようとする課題】
【0008】
上記のような気化装置において、タンクやトレイに貯留された液体材料の分量を随時検知できることが好ましい。液供給時には、適量の液体がトレイに供給され貯留される必要があり、また、気化供給時には、材料の消費によって減少した液量を検知して、不足している場合には液体材料を補充し、ガス供給量の低下や空焚きの発生を防止しなければならない。
【0009】
気化装置におけるタンク内の液量検出手段として、液面センサを用いることが知られている。特許文献3には、超純水の気化供給装置において、タンク内に液面レベルを測定するためのフロートセンサを配置する構成が開示されている。フロートセンサを用いれば、タンク内の液不足を検知することができ、バルブを開いて液を補充することによって、気化室に一定量以上の液体を貯留させておくことができる。
【0010】
ただし、フロートセンサは、比較的大きいサイズを有しているため、トレイに貯留された浅い液溜まりの液面レベルを、精度よく検知するためには不向きである。特に、小型化が求められている気化装置内に配置する場合は、フロートセンサのサイズによっては、搭載自体が困難なものとなる。
(【0011】以降は省略されています)
この特許をJ-PlatPat(特許庁公式サイト)で参照する
関連特許
株式会社フジキン
バルブ
25日前
株式会社フジキン
紫外線照射装置
2か月前
個人
フッ素樹脂塗装鋼板の保管方法
4か月前
株式会社カネカ
製膜装置
2か月前
株式会社カネカ
製膜装置
2か月前
株式会社京都マテリアルズ
めっき部材
2か月前
トヨタ自動車株式会社
治具
1か月前
株式会社KSマテリアル
防錆組成物
4か月前
株式会社三愛工業所
アルミニウム材
6か月前
株式会社オプトラン
蒸着装置
7か月前
日本化学産業株式会社
複合めっき皮膜
3か月前
エドワーズ株式会社
真空排気システム
1か月前
台灣晶技股ふん有限公司
無電解めっき法
3か月前
日東電工株式会社
積層体の製造方法
6か月前
東京エレクトロン株式会社
成膜方法
2か月前
株式会社カネカ
気化装置及び製膜装置
1か月前
JFEスチール株式会社
鋼部品
4か月前
DOWAサーモテック株式会社
浸炭方法
6か月前
東京エレクトロン株式会社
基板処理装置
6か月前
TOTO株式会社
構造部材
1か月前
株式会社アルバック
マスクユニット
1か月前
株式会社内村
防食具、防食具の設置方法
2か月前
東京エレクトロン株式会社
基板処理装置
7か月前
東京エレクトロン株式会社
基板処理装置
7か月前
住友重機械工業株式会社
成膜装置
4か月前
信越半導体株式会社
真空蒸着方法
6か月前
住友重機械工業株式会社
成膜装置
5か月前
黒崎播磨株式会社
溶射装置
2か月前
株式会社アルバック
基板ステージ装置
2か月前
日本コーティングセンター株式会社
炭化ホウ素被膜
1か月前
フジタ技研株式会社
被覆部材、及び、表面被覆金型
2か月前
国立大学法人千葉大学
成膜装置及び成膜方法
2か月前
株式会社デンソー
接合体
2か月前
信越化学工業株式会社
炭化金属被覆材料
13日前
株式会社アルバック
成膜装置、および搬送方法
4か月前
黒崎播磨株式会社
溶射用ランス
6か月前
続きを見る
他の特許を見る