TOP
|
特許
|
意匠
|
商標
特許ウォッチ
Twitter
他の特許を見る
公開番号
2025032845
公報種別
公開特許公報(A)
公開日
2025-03-12
出願番号
2023138335
出願日
2023-08-28
発明の名称
釣竿
出願人
グローブライド株式会社
代理人
個人
,
個人
主分類
A01K
87/08 20060101AFI20250305BHJP(農業;林業;畜産;狩猟;捕獲;漁業)
要約
【課題】グリップの先端に〆部を設けた釣竿において、〆部の表面にクラックが発生し難い釣竿を提供する。
【解決手段】本発明の釣竿は、元竿杆の基端側の外周面に装着され、グリップ10が設けられたグリップ保持部材12を有する。グリップ保持部材12は、グリップ10に対して軸方向に突出しており、グリップ10の先端縁10aから竿杆表面の先端側に向けて次第に薄肉厚化し、グリップ保持部材12の突出部12aを覆う〆部20を設けたことを特徴とする。
【選択図】 図1
特許請求の範囲
【請求項1】
元竿杆の基端側の外周面に装着され、グリップが設けられたグリップ保持部材を有する釣竿であって、
前記グリップ保持部材は、前記グリップに対して軸方向に突出しており、
前記グリップの先端縁から竿杆表面の先端側に向けて次第に薄肉厚化し、前記グリップ保持部材の突出する部分を覆う〆部を設けたことを特徴とする釣竿。
続きを表示(約 430 文字)
【請求項2】
前記グリップ保持部材の前記グリップに対する軸方向の突出量は、1~7mmの範囲内で形成されていることを特徴とする請求項1に記載の釣竿。
【請求項3】
前記元竿杆の基端側には、縮径部が形成されており、
前記グリップ保持部材は、前記縮径部の先端側端面に当て付けられて元竿杆の表面との間に段差が形成されていることを特徴とする請求項1又は2に記載の釣竿。
【請求項4】
前記段差は、0.3~0.5mmの範囲内で形成されていることを特徴とする請求項3に記載の釣竿。
【請求項5】
前記グリップ保持部材は、前記グリップの内面が軸方向全長に亘って取着される管状体で構成されていることを特徴とする請求項1又は2に記載の釣竿。
【請求項6】
前記グリップ保持部材の前記グリップに対する突出部の表面には、先端側に向けて縮径する傾斜部が設けられていることを特徴とする請求項1又は2に記載の釣竿。
発明の詳細な説明
【技術分野】
【0001】
本発明は、グリップ部分に特徴を備えた釣竿に関する。
続きを表示(約 1,600 文字)
【背景技術】
【0002】
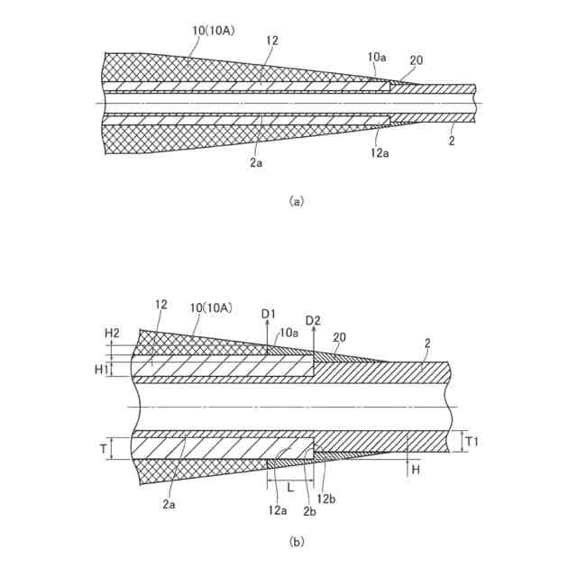
従来、釣竿の基端側には、実釣時に握持されるグリップが取着されている。前記グリップは、様々な構成が知られており、へら鮒釣り使用される釣竿には、例えば、特許文献1に開示されているように、竿杆に取着されるグリップと竿杆表面との段差を無くすように段差解消層が設けられている。このような段差解消層は、〆部とも称されており、上記の特許文献1に開示されている段差解消層は、添付図面の図5(a)(b)の符号60で示すように、竿杆(元竿杆)50の基端側の外面に取着されたグリップ51の先端縁51aから、竿杆50の表面に軸方向に所定の長さで設けられている。また、そのような段差解消層60(以下、〆部60と称する)は、例えば、樹脂製の塗料を刷毛塗り等によって先端に移行するに従い、薄肉厚化するように設けられている。
【先行技術文献】
【特許文献】
【0003】
特開2003-310111号
【発明の概要】
【発明が解決しようとする課題】
【0004】
上記した従来のグリップは、実釣時に曲げ応力が作用した際、〆部60とグリップ51の境界部分(図5(a)(b)の矢印Dで示す部分)に応力が集中し易く、〆部60の表面にクラックが生じ易いという問題がある。特に、〆部は、肉厚が薄いことから、釣竿が撓んだ際に生じたクラックが広がり易い。また、〆部にクラックが発生すると、〆部が破損する等、外観を損ねてしまう。
【0005】
本発明は、上記した問題に着目してなされたものであり、グリップの先端に〆部を設けた釣竿において、〆部の表面にクラックが発生し難い釣竿を提供することを目的とする。
【課題を解決するための手段】
【0006】
上記した目的を達成するために、本発明に係る釣竿は、元竿杆の基端側の外周面に装着され、グリップが設けられたグリップ保持部材を有し、前記グリップ保持部材は、前記グリップに対して軸方向に突出しており、前記グリップの先端縁から竿杆表面の先端側に向けて次第に薄肉厚化し、前記グリップ保持部材の突出する部分を覆う〆部を設けたことを特徴とする。
【0007】
上記した構成の釣竿のグリップは、元竿杆の外周面に装着されるグリップ保持部材に設けられており、前記グリップ保持部材は、前記グリップに対して軸方向に突出している。前記〆部は、前記グリップ保持部材の突出する部分を覆うように設けられるため、曲げ応力が作用した際、その応力は、グリップの先端縁、及び、グリップ保持部材の先端縁で分散され、〆部の表面にクラックが発生し難くなる。また、〆部は、先端側に向けて次第に薄肉厚化するように設けられるため、〆部の外観は綺麗に仕上げられる。
【発明の効果】
【0008】
本発明によれば、グリップの先端に〆部を設けた釣竿において、〆部の表面にクラックが発生し難い構成の釣竿が得られる。
【図面の簡単な説明】
【0009】
本発明に係る釣竿のグリップ部分の一構成例を示す図。
(a)は、図1に示すグリップ部分の中央縦断面図、(b)は、図(a)の主要部の拡大図。
グリップ部分の第2の実施形態を示す中央縦断面図。
グリップ部分の第3の実施形態を示す中央縦断面図。
(a)は、従来のグリップ部分の中央断面図、(b)は、図(a)の主要部の拡大図。
【発明を実施するための形態】
【0010】
以下、図1及び図2を参照して、本発明に係る釣竿の実施形態について説明する。
図1は、釣竿のグリップ部分を示す図であり、図2(a)及び(b)は、それぞれ図1に示すグリップ部分の中央縦断面図及び主要部の拡大図である。なお、以下で特定する先端側(先側)とは、釣竿として穂先側を意味しており、図1では上方が先端側となる。
(【0011】以降は省略されています)
この特許をJ-PlatPat(特許庁公式サイト)で参照する
関連特許
個人
虫捕り器
15日前
個人
刈込鋏保持具
11日前
個人
後付巻降ろし器
15日前
個人
飼育容器
25日前
株式会社丹勝
緑化工法
12日前
個人
イカ釣り用ヤエン
15日前
井関農機株式会社
作業車両
15日前
井関農機株式会社
作業車両
15日前
井関農機株式会社
作業車両
5日前
井関農機株式会社
作業車両
13日前
井関農機株式会社
作業車両
5日前
株式会社シマノ
釣竿
15日前
個人
水耕栽培システム
25日前
大栄工業株式会社
捕獲器
5日前
井関農機株式会社
作業車両
11日前
井関農機株式会社
作業車両
25日前
松山株式会社
農作業機
25日前
個人
妻面トラス梁付き園芸用ハウス
27日前
松山株式会社
農作業機
11日前
個人
伸縮する草刈り機の可動装置。
15日前
トヨタ自動車株式会社
育苗装置
12日前
スガノ農機株式会社
圃場作業装置
12日前
個人
飼育水槽用の浄化装置
19日前
株式会社クボタ
作業車
1か月前
グローブライド株式会社
釣竿
5日前
井関農機株式会社
コンバイン
12日前
トヨタ自動車株式会社
植物栽培装置
1か月前
グローブライド株式会社
釣竿
6日前
株式会社小川農具製作所
穴明け装置
6日前
株式会社デンソー
農業用装置
7日前
株式会社サンメイト
動物用排尿処理材
25日前
グローブライド株式会社
魚釣用リール
4日前
高知県種苗緑化協同組合
幼齢木保護具
25日前
グローブライド株式会社
釣用のルアー
7日前
グローブライド株式会社
魚釣用リール
27日前
大和ハウス工業株式会社
栽培装置
15日前
続きを見る
他の特許を見る