TOP
|
特許
|
意匠
|
商標
特許ウォッチ
Twitter
他の特許を見る
公開番号
2025084243
公報種別
公開特許公報(A)
公開日
2025-06-03
出願番号
2023197991
出願日
2023-11-22
発明の名称
草刈機
出願人
株式会社アテックス
代理人
主分類
A01D
34/64 20060101AFI20250527BHJP(農業;林業;畜産;狩猟;捕獲;漁業)
要約
【課題】比較的簡易な構成で、且つエンジン運転中および草刈作業中の安全性が確保できる草刈機を提供する。
【解決手段】車体フレーム1aの内側にエンジン5を備えた草刈機であって、前記エンジン5およびエンジン排気部5aをその外周から覆う安全カバー6と、前記エンジン5からの排気ガスの排出口Eを取り囲む排気ガイド21とを設け、前記排気ガイド21は、下方に開放する第1開孔FOと前記排出口Eの正面に開放する第2開孔SOを形成し、前記第2開孔SO正面には第2開孔SOから排出される排気ガスを前方斜め下方に向かって案内する案内板21eを設けた構成とする。
【選択図】図3
特許請求の範囲
【請求項1】
車体フレーム(1a)の内側にエンジン(5)を備えた草刈機であって、前記エンジン(5)およびエンジン排気部(5a)をその外周から覆う安全カバー(6)と、前記エンジン(5)からの排気ガスの排出口(E)を取り囲む排気ガイド(21)とを設け、前記排気ガイド(21)は、下方に開放する第1開孔(FO)と前記排出口(E)の正面に開放する第2開孔(SO)を形成し、前記第2開孔(SO)正面には第2開孔(SO)から排出される排気ガスを前方斜め下方に向かって案内する案内板(21e)を設けたことを特徴とする草刈機。
続きを表示(約 85 文字)
【請求項2】
前記排気ガイド(21)の前記第1開孔(FO)は、排気ガスの下流側(D)に向かって末広型の形状としたことを特徴とする請求項1に記載の草刈機。
発明の詳細な説明
【技術分野】
【0001】
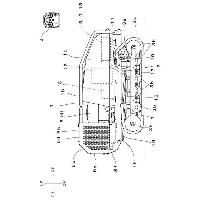
本発明は、芝草や雑草などを刈取る草刈機において、エンジンおよびエンジン排気部の直接的な接触を防止するとともに、エンジンからの排気ガスを外部に排出する際の排風の案内構成に関するものである。
続きを表示(約 1,800 文字)
【背景技術】
【0002】
従来、急傾斜地における草刈作業が可能な草刈機が、特許文献1に開示されている。この草刈機に搭載しているエンジンおよびエンジン排気部は、直接的に接触できる構成となっている。
【0003】
また、汎用エンジンを搭載する作業機において、エンジンからの排気ガスを外部へ排出する際、排風方向を転換するために排気ガイドを設ける構成が知られており、例えば特許文献2に開示される草刈機によれば、機体に備えられた草刈装置と、機体の後部に取り付けられて草刈装置からの刈草を回収する集草容器と、機体に備えられたエンジンと、エンジンを覆うボンネットとを備えて、エンジンの排気管の排気口がボンネットに形成された開口を通して後方に突出するように構成し、排気口が上側の入り口に入り込みつつ下方に延出されて排気口からの排気ガスを下方に案内する案内部材を備えてあるもの、とされている。
【先行技術文献】
【特許文献】
【0004】
特開2020-142660号公報
特開2011-182699号公報
【発明の概要】
【発明が解決しようとする課題】
【0005】
そこで、エンジンおよびエンジン排気部に草や木、人や動物が直接的に接触することを防止する必要がある。しかしながら、エンジンおよびエンジン排気部の外周を覆うカバーを設けた場合、エンジンの排気ガスの排出口正面に位置するカバー壁面によって排気の流れが悪くなり、排気効率が低下することでエンジン不調の要因となる虞がある。また、エンジン運転中は、エンジンから排出される排気ガスによって排出口の正面に位置するカバー壁面が高温になり、カバー壁面に草や木などが接触した際は燃えたり、人や動物が接触した際は火傷したりする虞があり、安全面においても解消できない可能性がある。
【0006】
一方、集草容器を装備しない草刈機においては、エンジンからの排気ガスを外部に排出するための案内部材を延出して備える必要はなく、比較的簡易な排風方向転換の構成であることが求められる。つまり、排気ガスの排出口付近に排気ガイドを設けることが適切である。
【0007】
本発明は以上の点を考慮し、比較的簡易な構成で、且つエンジン運転中および草刈作業中の安全性が確保できる草刈機の提供を目的とする。
【課題を解決するための手段】
【0008】
請求項1に記載の発明は、車体フレーム1aの内側にエンジン5を備えた草刈機であって、前記エンジン5およびエンジン排気部5aをその外周から覆う安全カバー6と、前記エンジン5からの排気ガスの排出口Eを取り囲む排気ガイド21とを設け、前記排気ガイド21は、下方に開放する第1開孔FOと前記排出口Eの正面に開放する第2開孔SOを形成し、前記第2開孔SO正面には第2開孔SOから排出される排気ガスを前方斜め下方に向かって案内する案内板21eを設けた構成とする。
【0009】
また、前記排気ガイド21の前記第1開孔FOは、排気ガスの下流側Dに向かって末広型の形状とした構成とする。
【発明の効果】
【0010】
請求項1に記載の発明は、エンジン5およびエンジン排気部5aを覆う安全カバー6を設けることで、草刈作業時における車体1内部から外部への異物の飛散を防止できる。これに加えて、排気ガイド21は、排出口Eから排出された排気ガスを下方に案内する第1開孔FOと前方斜め下方に案内する第2開孔SOを設けた構成であり、エンジン5からの排気ガスを外部へ排出する際に、排風を方向転換することで排出口E正面に備えた安全カバー6壁面の温度上昇を抑制し、安全カバー6に接近、または接触する草や木などの引火を防ぐとともに人や動物の火傷を防ぐことができ、安全性を確保できる。また、排風の方向転換によって排気ガスの滞留が生じ、排出の抵抗となることでエンジン不調の要因となる虞があったが、排風の分散により排出の抵抗を解消できる。更には、排気ガイド21を延出することなく排風の方向転換が可能であり、比較的簡易な構成とすることができる。
(【0011】以降は省略されています)
この特許をJ-PlatPat(特許庁公式サイト)で参照する
関連特許
他の特許を見る