TOP
|
特許
|
意匠
|
商標
特許ウォッチ
Twitter
他の特許を見る
公開番号
2025031058
公報種別
公開特許公報(A)
公開日
2025-03-07
出願番号
2023137024
出願日
2023-08-25
発明の名称
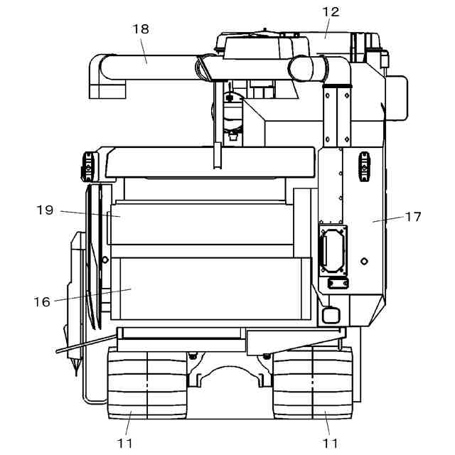
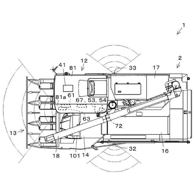
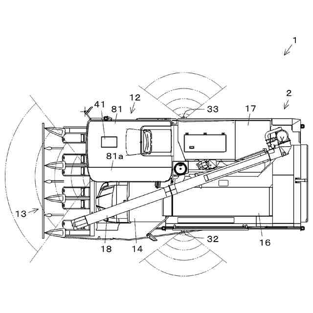
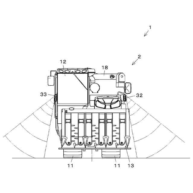
コンバイン
出願人
井関農機株式会社
代理人
個人
主分類
A01D
67/00 20060101AFI20250228BHJP(農業;林業;畜産;狩猟;捕獲;漁業)
要約
【課題】従来構成に比べて、駆動の伝達部分への雨水の進入を抑制すること。
【解決手段】キャビン(12)と刈取装置(13)との間に配置され、エンジン(51)から刈取装置(13)に駆動を伝達する伝達機構(76)に対して、キャビン(12)と刈取装置(13)との間に配置された覆い部(81a)で伝達機構(76)の上方を覆うことで、従来構成に比べて、駆動の伝達部分への雨水の進入を抑制することができる。
【選択図】図5
特許請求の範囲
【請求項1】
作業者が搭乗するキャビン(12)を有する車体(2)と、
前記車体(2)の下部に配置され、前記車体(2)を走行させる走行装置(11)と、
前記キャビン(12)に隣り合って配置され、穀稈を圃場から刈り取る刈取装置(13)と、
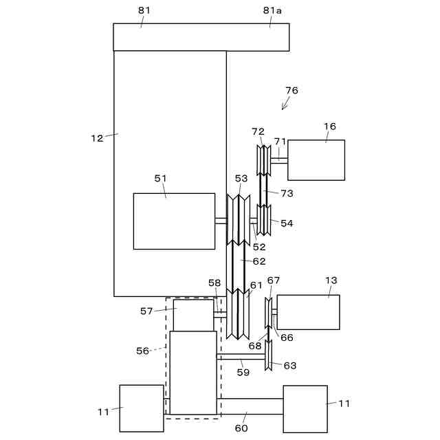
前記キャビン(12)と前記刈取装置(13)との間に少なくとも一部が配置され、エンジン(51)から前記刈取装置(13)に駆動を伝達する伝達機構(76)と、
前記キャビン(12)と前記刈取装置(13)との間に配置された前記伝達機構(76)の上方を覆う覆い部(81a)を有し、前記キャビン(12)の屋根を構成するキャビンルーフ(81)と、
を備えたことを特徴とするコンバイン(1)。
続きを表示(約 650 文字)
【請求項2】
前記エンジン(51)から前記刈取装置(13)へ駆動を伝達する第1の伝達部材(59)と、前記エンジン(51)から前記走行装置(11)へ駆動を伝達する第2の伝達部材(60)とを有する前記伝達機構(76)と、
前記第1の伝達部材(59)および前記第2の伝達部材(60)の上方を覆う前記覆い部(81a)と、
を備えたことを特徴とする請求項1に記載のコンバイン(1)。
【請求項3】
前記刈取装置(13)で刈り取られた穀稈が脱穀装置(16)へ引き継がれる部分を覆うカバー(101)と、
前記カバー(101)に設けられた前照灯(102)と、
前記前照灯(102)を支持し且つ前記前照灯(102)の上下方向の位置を調節可能な支持部材(103)と、
を備えたことを特徴とする請求項2に記載のコンバイン(1)。
【請求項4】
直線状に形成された左右方向の中央部(106)と、前記カバー(101)を取り付ける前側のカバー取付部(107)と、前記カバー取付部(107)の左右の前端部分を連結する補強部(108)と、前記前照灯(102)を取り付ける前照灯の取付部(112)と、左右方向の両側に設けられ且つ側方に向かうほど後方に傾斜する後退部(109)と、を有し、前記前照灯の取付部(112)は前記後退部(109)と平行する姿勢で配置される前記支持部材(103)、
を備えたことを特徴とする請求項3に記載のコンバイン(1)。
発明の詳細な説明
【技術分野】
【0001】
この発明は、圃場から米や麦等の作物を刈り取って脱穀するコンバインに関する。
続きを表示(約 1,900 文字)
【背景技術】
【0002】
米や麦等の作物を刈り取って脱穀するコンバインにおいて、作業車が搭乗するキャビン(8)の屋根部分(ルーフ20)が、側部ウインド(17)よりも機体外側に延びており、この延びた部分の下方に作業灯(64)を設けて、暗い時間帯の作業時に周囲を照らすことで走行精度や作業精度を維持する技術が知られている(特許文献1)。
【先行技術文献】
【特許文献】
【0003】
特開2003-225014号公報(特に、図17)
【発明の概要】
【発明が解決しようとする課題】
【0004】
特許文献1に記載の技術では、延出部の機体外側への突出量は作業灯を設置するのに必要十分なだけ確保されており、左右突出量はできるだけ抑えて、キャビン全体の左右幅のコンパクト化を実現しようとしている。したがって、キャビンルーフの部分が機体の上方を庇のように覆う範囲は狭く抑えられている。
特許文献1に記載の構成では、キャビンの下方にエンジンが配置されることが一般的であり、エンジンから刈取装置や脱穀装置、走行装置に駆動を伝達する伝動軸や伝動軸に装着されるプーリ、プーリに架けられたベルト等が設けられる。キャビンのルーフの突出量が小さい特許文献1に記載の構成では、プーリやベルトの部分に雨水等が入り込みやすい。雨水が進入するとベルトがスリップしたりベルトが脱落する恐れがあり、刈取装置等の各作業装置が一時的に動作不良になったり、機能停止が発生する恐れがある。
【0005】
本発明は、従来構成に比べて、駆動の伝達部分への雨水の進入を抑制することを技術的課題とする。
【課題を解決するための手段】
【0006】
本発明の上記課題は次の解決手段により解決される。
請求項1に記載の発明は、作業者が搭乗するキャビン(12)を有する車体(2)と、前記車体(2)の下部に配置され、前記車体(2)を走行させる走行装置(11)と、前記キャビン(12)に隣り合って配置され、穀稈を圃場から刈り取る刈取装置(13)と、前記キャビン(12)と前記刈取装置(13)との間に少なくとも一部が配置され、エンジン(51)から前記刈取装置(13)に駆動を伝達する伝達機構(76)と、前記キャビン(12)と前記刈取装置(13)との間に配置された前記伝達機構(76)の上方を覆う覆い部(81a)を有し、前記キャビン(12)の屋根を構成するキャビンルーフ(81)と、を備えたことを特徴とするコンバイン(1)である。
【0007】
請求項2に記載の発明は、前記エンジン(51)から前記刈取装置(13)へ駆動を伝達する第1の伝達部材(59)と、前記エンジン(51)から前記走行装置(11)へ駆動を伝達する第2の伝達部材(60)とを有する前記伝達機構(76)と、前記第1の伝達部材(59)および前記第2の伝達部材(60)の上方を覆う前記覆い部(81a)と、を備えたことを特徴とする請求項1に記載のコンバイン(1)である。
【0008】
請求項3に記載の発明は、前記刈取装置(13)で刈り取られた穀稈が脱穀装置(16)へ引き継がれる部分を覆うカバー(101)と、前記カバー(101)に設けられた前照灯(102)と、前記前照灯(102)を支持し且つ前記前照灯(102)の上下方向の位置を調節可能な支持部材(103)と、を備えたことを特徴とする請求項2に記載のコンバイン(1)である。
【0009】
請求項4に記載の発明は、直線状に形成された左右方向の中央部(106)と、前記カバー(101)を取り付ける前側のカバー取付部(107)と、前記カバー取付部(107)の左右の前端部分を連結する補強部(108)と、前記前照灯(102)を取り付ける前照灯の取付部(112)と、左右方向の両側に設けられ且つ側方に向かうほど後方に傾斜する後退部(109)と、を有し、前記前照灯の取付部(112)は前記後退部(109)と平行する姿勢で配置される前記支持部材(103)、を備えたことを特徴とする請求項3に記載のコンバイン(1)である。
【発明の効果】
【0010】
請求項1記載の発明によれば、キャビン(12)と刈取装置(13)との間に配置された覆い部(81a)で伝達機構(76)の上方を覆うことで、従来構成に比べて、駆動の伝達部分への雨水の進入を抑制することができる。
(【0011】以降は省略されています)
この特許をJ-PlatPat(特許庁公式サイト)で参照する
関連特許
井関農機株式会社
エンドエフェクターおよび作業車両
今日
個人
釣り用錘
9日前
個人
蠅捕獲器
29日前
個人
草刈り鋏
1か月前
個人
噴霧器ノズル
7日前
個人
蜜蜂保護装置
20日前
個人
種子の製造方法
26日前
個人
草刈機用回転刃
29日前
個人
昆虫捕集器
26日前
個人
可動リップ付きルアー
12日前
株式会社剛樹
釣り竿
5日前
個人
ブルーカーボンシステム
12日前
個人
四足動物用装着具
1か月前
井関農機株式会社
圃場作業機
12日前
株式会社ナベル
表示システム
15日前
個人
餌付き針の餌取り防止具
15日前
みのる産業株式会社
除草機
15日前
井関農機株式会社
作業車両
29日前
井関農機株式会社
作業車両
1か月前
松山株式会社
収穫機
12日前
みのる産業株式会社
除草機
15日前
株式会社オーツボ
海苔箱船
1か月前
松山株式会社
収穫機
12日前
松山株式会社
草刈作業機
20日前
みのる産業株式会社
茎葉処理装置
1か月前
株式会社シマノ
釣糸ガイド
12日前
株式会社シマノ
釣糸ガイド
12日前
株式会社クボタ
作業車
7日前
株式会社三生
足括り罠
22日前
株式会社スズテック
播種装置
1か月前
株式会社クボタ
移植機
1か月前
アイミット株式会社
爪とぎ器具
26日前
株式会社クボタ
移植機
1か月前
グローブライド株式会社
魚釣用リール
1か月前
株式会社シマノ
釣糸ガイドカバー
12日前
株式会社クロノコーポレーション
留め具
1か月前
続きを見る
他の特許を見る