TOP
|
特許
|
意匠
|
商標
特許ウォッチ
Twitter
他の特許を見る
公開番号
2025021641
公報種別
公開特許公報(A)
公開日
2025-02-14
出願番号
2023125488
出願日
2023-08-01
発明の名称
配管保持構造
出願人
トヨタ自動車株式会社
代理人
弁理士法人YKI国際特許事務所
主分類
B60K
11/02 20060101AFI20250206BHJP(車両一般)
要約
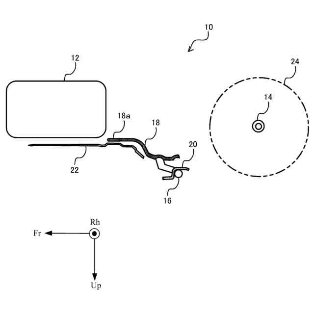
【課題】車両後突時、配管および配管に固定されるブラケットの移動方向を制御することで周辺部材を保護する配管保持構造を実現する。
【解決手段】配管保持構造は、燃料タンク12と、前記燃料タンク12後方に設けられるリアアクスル14と、前後方向で前記燃料タンク12と前記リアアクスル14との間に設けられる配管16と、前記配管16に固定される第一のブラケット18および第二のブラケット20と、を備え、前記第一のブラケット18は、後端部18bよりも前端部18aが下側に配置され屈曲部18cを有し、前記前端部18aは、上下方向で前記フロアパネル22とその下方の前記燃料タンク12との間に配置され、前記第二のブラケット20は、前記第一のブラケット18よりも後方に設けられ、かつ、剛性が高く、後突時に、前記第一のブラケット18は、前記屈曲部18cで折れ曲がり、前記第二のブラケット20は、前端部20aを支点に回転する。
【選択図】図3
特許請求の範囲
【請求項1】
車両の上下方向においてフロアパネルの下方に設けられる燃料タンクと、
前記車両の前後方向において前記燃料タンクの後方に設けられるリアアクスルと、
前記車両の前後方向において前記燃料タンクと前記リアアクスルとの間に設けられる配管と、
共に前記配管に固定され前記配管を前記車両へ支持する、第一のブラケットおよび第二のブラケットと、
を備え、
前記第一のブラケットは、
前記車両の前後方向に延在し、
後端部よりも前端部が下側に配置するように屈曲する屈曲部を有するクランク形状であり、
前記前端部は、前記車両の上下方向において前記フロアパネルと前記燃料タンクとの間に配置され、
前記第二のブラケットは、
前記第一のブラケットよりも後方に設けられ、
前記第一のブラケットよりも剛性が高く、
前記車両の後面衝突時において、前記第一のブラケットは、前記屈曲部で折れ曲がり、前記第二のブラケットは、前端部を支点に回転する、
ことを特徴とする配管保持構造。
発明の詳細な説明
【技術分野】
【0001】
本発明は、車両の下部構造に関し、特に、配管保持構造に関する。
続きを表示(約 1,800 文字)
【背景技術】
【0002】
従来から、車両の下部構造、特に、フロアパネルの下方の各部材の配置に関しては、それぞれの目的に応じた様々な構造が提案されている。
【0003】
例えば、特許文献1には、低床式バスが開示されている。この低床式バスは、段上げ床の前端下部であってリアアクスルの前方に燃料タンクが設けられている。かかる構成により、段上げ床の下方の空間を有効活用でき、また、従来は燃料タンクなどを取り付けるために必要としていた通路床の部分的な持ち上げ形成が不要となるため通路床を可能な限り平面的にできるとされている。
【0004】
また、特許文献2には、後輪を駆動する駆動装置ユニットを備える車両が開示されている。特許文献2では、駆動装置ユニットの後端部が、後クロスメンバの後端部よりも前方に位置するため、駆動装置ユニットを車両後部に配置した場合であっても、後面衝突時(以下、「後突時」と称する。)において、後クロスメンバにより駆動装置ユニットが保護できるとされている。さらに、駆動装置ユニットの前後方向および車幅方向の長さ設計により、車両骨格部材の変形を許容し、駆動装置ユニットがより確実に保護できるとされている。
【先行技術文献】
【特許文献】
【0005】
特開2018-020663号公報
特開2020-40576号公報
【発明の概要】
【発明が解決しようとする課題】
【0006】
ところで、車両の下部構造においては、燃料タンクとリアアクスルとの間に、燃料配管や冷却配管などの配管、および、高圧のワイヤーハーネスが配置されることがある。例えば、車両の前方から、燃料タンク、高圧のワイヤーハーネス、配管、リアアクスル、が順に配置されている車両において、後突事故が発生した場合、リアアクスルから押し出された配管が、燃料タンクや高圧のワイヤーハーネスに衝突するおそれがある。したがって、車両後突時の、配管、さらには、当該配管に固定されるブラケットの移動方向を考慮した車両の下部構造(より具体的には、配管保持構造)の設計が必要となる。
【0007】
そこで、本明細書では、車両後突時、配管および配管に固定されるブラケットの移動方向を制御することで周辺部材を保護する配管保持構造を実現する。
【課題を解決するための手段】
【0008】
本明細書で開示する配管保持構造は、車両の上下方向においてフロアパネルの下方に設けられる燃料タンクと、前記車両の前後方向において前記燃料タンクの後方に設けられるリアアクスルと、前記車両の前後方向において前記燃料タンクと前記リアアクスルとの間に設けられる配管と、共に前記配管に固定され前記配管を前記車両へ支持する、第一のブラケットおよび第二のブラケットと、を備え、前記第一のブラケットは、前記車両の前後方向に延在し、後端部よりも前端部が下側に配置するように屈曲する屈曲部を有するクランク形状であり、前記前端部は、前記車両の上下方向において前記フロアパネルと前記燃料タンクとの間に配置され、前記第二のブラケットは、前記第一のブラケットよりも後方に設けられ、前記第一のブラケットよりも剛性が高く、前記車両の後面衝突時において、前記第一のブラケットは、前記屈曲部で折れ曲がり、前記第二のブラケットは、前端部を支点に回転する、ことを特徴とする。
【発明の効果】
【0009】
本明細書で開示の配管保持構造によれば、配管に固定される第一のブラケットおよび第二のブラケットの剛性が異なるため、荷重が加わる後突時などにおいては、剛性が低い第一のブラケットが脆弱部となり折れ曲がる。そして、剛性が高い方の第二のブラケットは、前端部を支点に回転するに止まる。すなわち、配管および第一、第二の両ブラケットが、上下方向に移動しないように移動方向を制御することができる。その結果、配管および両ブラケットと、周辺部材との衝突を回避でき、ひいては、当該周辺部材を保護できる。
【図面の簡単な説明】
【0010】
配管保持構造の概略側面図である。
配管に固定されるブラケットの斜視図である。
後突時におけるブラケットの様子を説明するための斜視図である。
【発明を実施するための形態】
(【0011】以降は省略されています)
この特許をJ-PlatPat(特許庁公式サイト)で参照する
関連特許
個人
タイヤレバー
2か月前
個人
前輪キャスター
2か月前
個人
上部一体型自動車
23日前
個人
タイヤ脱落防止構造
1か月前
個人
ルーフ付きトライク
2か月前
日本精機株式会社
表示装置
2か月前
日本精機株式会社
表示装置
2か月前
個人
車両通過構造物
2か月前
日本精機株式会社
表示装置
2か月前
個人
マスタシリンダ
1か月前
日本精機株式会社
表示装置
2か月前
個人
乗合路線バスの客室装置
3か月前
個人
常設収納型サンバイザー
2日前
株式会社ニフコ
収納装置
1か月前
日本精機株式会社
車載表示装置
4日前
個人
車載小物入れ兼雨傘収納具
3か月前
個人
円湾曲ホイール及び球体輪
3か月前
株式会社豊田自動織機
産業車両
2か月前
日本精機株式会社
車載表示装置
1か月前
株式会社ニフコ
保持装置
3か月前
日本精機株式会社
車室演出装置
1か月前
日本精機株式会社
画像投映装置
19日前
個人
音声ガイド、音声サービス
3か月前
株式会社ニフコ
照明装置
2か月前
株式会社SUBARU
車両
17日前
個人
音による速度計とプログラム
2日前
日本精機株式会社
車両用投影装置
1か月前
日本精機株式会社
車両用投射装置
24日前
極東開発工業株式会社
車両
2か月前
日本精機株式会社
車両用表示装置
2か月前
日本無線株式会社
取付金具
3か月前
井関農機株式会社
作業車両
1か月前
日本精機株式会社
車両用表示装置
19日前
日本精機株式会社
車両用報知装置
3日前
ダイハツ工業株式会社
変速機
1か月前
日本化薬株式会社
ガス発生器
1か月前
続きを見る
他の特許を見る