TOP
|
特許
|
意匠
|
商標
特許ウォッチ
Twitter
他の特許を見る
公開番号
2025094333
公報種別
公開特許公報(A)
公開日
2025-06-25
出願番号
2023209790
出願日
2023-12-13
発明の名称
車両用表示装置
出願人
日本精機株式会社
代理人
主分類
B60K
35/234 20240101AFI20250618BHJP(車両一般)
要約
【課題】虚像及び実像の切り替えに伴ってアイリプスの範囲が異なる場合に、視認者の違和感を排除する車両用表示装置を提供する。
【解決手段】開口部17から表示光LをウィンドウシールドWSに向けて射出することで表示光Lが表す表示像の虚像VI及び実像RIを視認させる車両用表示装置1であって、表示素子121を備え、光源11が出射した光を透過させると共に表示像を表示する表示部12と、表示部12に表示された表示像を表す光をウィンドウシールドWSに向けて反射させる反射部13と、制御部15とを有し、制御部15は、乗員DRのアイリプスEyの変化を伴う座席50の状態変化を検知する検知処理と、検知処理における検知結果に基づき、少なくとも座席50の状態変化における変化開始から変化完了までの間、表示光Lを消灯する消灯処理とを実行する。
【選択図】図1
特許請求の範囲
【請求項1】
搭乗者が着座する座席と透光部材とを備えた車両に設けられ、射出口から表示光を前記透光部材に向けて射出することで前記表示光が表す表示像の虚像及び実像を視認させる車両用表示装置であって、
表示素子を備え、光源が出射した光を透過させると共に前記表示像を表示する表示部と、
前記表示部に表示された前記表示像を表す光を前記透光部材に向けて反射させる反射部と、
制御部と、
を有し、
前記制御部は、
前記搭乗者のアイリプスの変化を伴う前記座席の状態変化を検知する検知処理と、
前記検知処理における検知結果に基づき、少なくとも前記座席の状態変化における変化開始から変化完了までの間、前記表示光を消灯する消灯処理と、
を実行することを特徴とする車両用表示装置。
続きを表示(約 1,700 文字)
【請求項2】
前記制御部は、更に、
前記車両の手動運転モードにおいては前記表示像の前記虚像を視認させ、前記車両の自動運転モードにおいては前記表示像の前記実像を視認させるよう切替を行う切替処理を実行し、
前記検知処理では、前記切替処理における、前記手動運転モードに対応して前記虚像を視認させるか、若しくは、前記自動運転モードに対応して前記実像を視認させるか、の切り替えに伴う前記座席の状態変化を検知する
ことを特徴とする請求項1記載の車両用表示装置。
【請求項3】
前記座席は、座部と背もたれ部とを備え、
前記座席の状態変化は、前記背もたれ部の傾き角の角度変化であり、
前記制御部は、
前記検知処理では、前記切替処理による前記手動運転モードから前記自動運転モードへの切り替えに伴う前記傾き角の増大、及び、前記切替処理による前記自動運転モードから前記手動運転モードへの切り替えに伴う前記傾き角の減少を検知し、
前記消灯処理では、少なくとも、前記傾き角の増大開始から増大完了までの間、若しくは、前記傾き角の減少開始から減少完了までの間、前記表示光の消灯を行う
ことを特徴とする請求項2記載の車両用表示装置。
【請求項4】
前記座席の状態変化は、当該座席の高さ変化であり、
前記制御部は、
前記検知処理では、前記切替処理による前記手動運転モードから前記自動運転モードへの切り替えに伴う前記座席の高さの減少、及び、前記切替処理による前記自動運転モードから前記手動運転モードへの切り替えに伴う前記座席の高さの増大を検知し、
前記消灯処理では、少なくとも、前記座席の高さの増大開始から増大完了までの間、若しくは、前記座席の高さの減少開始から減少完了までの間、前記表示光の消灯を行う
ことを特徴とする請求項2記載の車両用表示装置。
【請求項5】
前記座席は、座部と背もたれ部とを備え、
前記座席の状態変化は、前記背もたれ部の傾き角の角度変化であり、
前記制御部は、
前記検知処理では、前記傾き角の増大、及び、前記傾き角の減少を検知し、
前記消灯処理では、
少なくとも、前記傾き角が増大して第1角度に達してから、前記第1角度よりも大きな第2角度に達するまでの間、若しくは、
少なくとも、前記傾き角が減少して前記第2角度に達してから、前記第1角度に達するまでの間、
前記表示光を消灯することを特徴とする請求項1記載の車両用表示装置。
【請求項6】
前記座席の状態変化は、当該座席の高さ変化であり、
前記制御部は、
前記検知処理では、前記高さの減少、及び、前記高さの増大を検知し、
前記消灯処理では、
少なくとも、前記高さが減少して第1高さに達してから、前記第1高さよりも低い第2高さに達するまでの間、若しくは、
少なくとも、前記高さが増大して前記第2高さに達してから、前記第1高さに達するまでの間、
前記表示光を消灯することを特徴とする請求項1記載の車両用表示装置。
【請求項7】
前記反射部は、
第1光線を反射すると共に第2光線を透過する第1ミラーと、
前記第2光線を反射する第2ミラーと、
を含み、
前記第1ミラー及び前記第2ミラーは、
前記表示素子が前記第1光線を出射するときは、前記透光部材及び前記反射部を含む結像光学系の光学焦点と前記表示部との間の位置関係が、前記表示部が前記光学焦点よりも前記射出口側となる第1状態となって、前記虚像を視認させ、
前記表示素子が前記第2光線を出射するときは、前記表示部が前記光学焦点よりも前記光源側となる第2状態となって、前記実像を視認させる、
ように配置されていることを特徴とする請求項1乃至請求項6のいずれか1項記載の車両用表示装置。
発明の詳細な説明
【技術分野】
【0001】
本発明は、視認者に対して虚像及び実像を切り替えて表示する車両用表示装置に関するものである。
続きを表示(約 2,100 文字)
【背景技術】
【0002】
従来、例えば特許文献1に記載の電子装置が知られている。特許文献1には、電子装置が、車両の走行状態に基づいて、第1の画像を表示する表示手段の近傍の第1の位置に第2の画像の虚像を表示するか、車両のフロントガラスの遠方の第2の位置に第2の画像の虚像を表示するか、を判定し、表示位置を切り替えることが開示されている。
【先行技術文献】
【特許文献】
【0003】
特開2017-56844号公報
【発明の概要】
【発明が解決しようとする課題】
【0004】
しかしながら、上記従来の表示装置では、視認性に関する基準となるアイリプス又はアイボックス等(以下、単にアイリプスという)の領域が、第1の位置に虚像が視認される場合と第2の位置に虚像が視認される領域とで異なる領域に設定されている場合に、表示位置の切替時に、第1の位置及び第2の位置の両方に虚像が視認されてしまい視認者が違和感を生じてしまうという問題があった。
【0005】
そこで、本発明は、上記問題点に鑑みてなされたものであり、表示位置の切り替えに伴ってアイリプスの範囲が異なる場合に、視認者の違和感を排除する車両用表示装置を提供することを目的とする。
【課題を解決するための手段】
【0006】
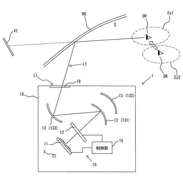
本発明は、搭乗者が着座する座席50と透光部材WSとを備えた車両Cに設けられ、射出口17から表示光L(L1,L2)を前記透光部材WSに向けて射出することで前記表示光Lが表す表示像の虚像VI及び実像RIを視認させる車両用表示装置1であって、表示素子121を備え、光源11が出射した光を透過させると共に前記表示像を表示する表示部12と、前記表示部12に表示された前記表示像を表す光を前記透光部材WSに向けて反射させる反射部13と、制御部15と、を有し、前記制御部15は、前記搭乗者DRのアイリプスEy(Ey1,Ey2)の変化を伴う前記座席50の状態変化を検知する検知処理と、前記検知処理における検知結果に基づき、少なくとも前記座席50の状態変化における変化開始から変化完了までの間、前記表示光Lを消灯する消灯処理と、を実行することを特徴とする。
【発明の効果】
【0007】
本発明によれば、搭乗者のアイリプスの変化を伴う座席の状態変化がある場合に、変化開始から変化完了までの間、表示部による表示光を消灯するため、搭乗者が表示像の視認に違和感を感じてしまうことを防止することができる。
【図面の簡単な説明】
【0008】
本発明の第1の実施形態による車両用表示装置において虚像を生成する場合の構成を示す図。
本発明の第1の実施形態による車両用表示装置において実像を生成する場合の構成を示す図。
本発明の第1の実施形態による車両用表示装置における光源及び表示部の構造を示す模式図。
本発明の第1の実施形態による車両用表示装置におけるPGUの構成を示す機能ブロック図。
本発明の第1の実施形態による車両用表示装置において(A)手動運転モードにおけるアイリプスの変化を伴う座席の状態変化、(B)自動運転モードにおけるアイリプスの変化を伴う座席の状態変化、の一例を示す図。
本発明の第1の実施形態による車両用表示装置における制御部の処理の一例を示すフローチャート。
【発明を実施するための形態】
【0009】
(本発明の第1の実施形態)
以下、本実施形態に係る車両用表示装置について、図面を参照しつつ説明する。図1は、本実施形態に係る車両用表示装置において虚像を生成する場合の構成を示す図、図2は、本実施形態に係る車両用表示装置において実像を生成する場合の構成を示す図である。
【0010】
図1及び図2において、車両用表示装置1は、例えば配線基板に実装された可視波長域の光を出す発光ダイオードからなり、白色の光を発する光源11、当該光源11から入射した光で画像を生成し、射出する光の偏光を互いに異なる第1偏光と第2偏光とに切り替えて表示する表示部12、並びに、光源11の点灯/消灯の切替制御、表示部12における表示内容の制御、及び、第1偏光及び第2偏光の切り替え制御等を行う制御部15からなるPGU(Picture Generation Unit)10と、表示部12で表示された表示像を表す表示光L(図1の場合は虚像VIの表示像を表す表示光L1、図2の場合は実像RIの表示像を表す表示光L2)をウィンドウシールドWS(透光部材)に向けて反射する反射部13とを備え、これらが筐体16に収容される。筐体16には表示光Lが射出される開口部17(射出口)が設けられ、当該開口部17には内部を保護するためのカバーガラス18が配置される。ウィンドウシールドWSは投光部材の一例、開口部17は射出口の一例である。
(【0011】以降は省略されています)
この特許をJ-PlatPat(特許庁公式サイト)で参照する
関連特許
日本精機株式会社
回路基板
2か月前
日本精機株式会社
表示装置
1か月前
日本精機株式会社
照明装置
10日前
日本精機株式会社
検出装置
9日前
日本精機株式会社
表示装置
10日前
日本精機株式会社
車載表示装置
16日前
日本精機株式会社
車載表示装置
18日前
日本精機株式会社
車載表示装置
1か月前
日本精機株式会社
位置検出装置
1か月前
日本精機株式会社
画像投映装置
1か月前
日本精機株式会社
車載表示装置
23日前
日本精機株式会社
位置検出装置
1か月前
日本精機株式会社
位置検出装置
1か月前
日本精機株式会社
運転支援装置
8日前
日本精機株式会社
サージ保護回路
1か月前
日本精機株式会社
車両用表示装置
1か月前
日本精機株式会社
車両用投射装置
1か月前
日本精機株式会社
車両用報知装置
22日前
日本精機株式会社
車両用投影装置
1か月前
日本精機株式会社
車両用表示装置
16日前
日本精機株式会社
ミラーユニット
16日前
日本精機株式会社
車両用投射装置
1か月前
日本精機株式会社
車両用センサ装置
1か月前
日本精機株式会社
投射型表示システム
2か月前
日本精機株式会社
投射型表示システム
2か月前
日本精機株式会社
スペックル低減装置
1か月前
日本精機株式会社
車両用投射型表示装置
1か月前
日本精機株式会社
鞍乗型車両用表示装置
7日前
日本精機株式会社
スクリーン反射型表示装置
8日前
日本精機株式会社
表示装置及びその製造方法
10日前
日本精機株式会社
報知装置及び報知システム
1か月前
日本精機株式会社
ヘッドアップディスプレイ
7日前
日本精機株式会社
ヘッドアップディスプレイ
10日前
日本精機株式会社
ヘッドアップディスプレイ装置
7日前
日本精機株式会社
ヘッドアップディスプレイ装置
1か月前
日本精機株式会社
ヘッドアップディスプレイ装置
8日前
続きを見る
他の特許を見る