TOP
|
特許
|
意匠
|
商標
特許ウォッチ
Twitter
他の特許を見る
10個以上の画像は省略されています。
公開番号
2025006097
公報種別
公開特許公報(A)
公開日
2025-01-17
出願番号
2023106674
出願日
2023-06-29
発明の名称
プロジェクタ
出願人
日本精機株式会社
代理人
主分類
G02B
27/01 20060101AFI20250109BHJP(光学)
要約
【課題】 解像度を変えることなく、波長の違いによる画像のずれを抑制できるプロジェクタを提供する。
【解決手段】 波長が異なる光を出力する複数の光源11R、11G、11Bと、複数の光源11R、11G、11Bから出力された光を回折し、計算機生成ホログラムに基づく干渉縞を含む物体画像をスクリーンSに投影する空間光位相変調器13と、複数の光源11R、11G、11B及び空間光位相変調器13を制御する制御部3と、を備えるプロジェクタであって、複数の光源11R、11G、11Bが出力する光を空間光位相変調器13に対して斜めに入射させる斜入射光学系を構成し、複数の光源11R、11G、11Bが出力する光の空間光位相変調器13に対する入射角度θは、2次元方向において互いに相違し、出力する光の波長に基づいて設定されている。
【選択図】 図3
特許請求の範囲
【請求項1】
波長が異なる光を出力する複数の光源と、
複数の前記光源から出力された光を回折し、計算機生成ホログラムに基づく干渉縞を含む物体画像をスクリーンに投影する空間光位相変調器と、
複数の前記光源及び前記空間光位相変調器を制御する制御部と、を備えるプロジェクタであって、
複数の前記光源が出力する光を前記空間光位相変調器に対して斜めに入射させる斜入射光学系を構成し、
複数の前記光源が出力する光の前記空間光位相変調器に対する入射角度は、2次元方向において互いに相違し、出力する光の波長に基づいて設定されている、プロジェクタ。
続きを表示(約 340 文字)
【請求項2】
前記制御部は、物体のCGHパターンと、レンズのCGHパターンと、を合成して得られる制御用CGHパターンに基づいて前記空間光位相変調器を制御し、
前記レンズのCGHパターンは、前記入射角度に応じて変更される、請求項1に記載のプロジェクタ。
【請求項3】
複数の前記光源は、波長が異なる3色の光を出力する3つの光源を含み、
前記制御部は、3色分の前記制御用CGHパターンに基づいて前記空間光位相変調器を時分割で制御し、
前記3色分の前記制御用CGHパターンのうち、少なくとも2色分の前記制御用CGHパターンには、色毎の描画中心角のずれを補正するための中心角補正用CGHパターンが合成される、請求項2に記載のプロジェクタ。
発明の詳細な説明
【技術分野】
【0001】
本開示は、プロジェクタに関する。
続きを表示(約 1,400 文字)
【背景技術】
【0002】
空間光位相変調器(SLM:Spatial Light Modulator)を用いて、計算機生成ホログラム(CGH:Computer-Generated Hologram)に基づく干渉縞を含む画像を投影するプロジェクタが公知となっている。例えば、特許文献1に開示されている。
【0003】
計算機生成ホログラムの画角θは、下記の式によって決まり、光源から出力される光の波長λと、空間光位相変調器の画素ピッチpとの関数となっている。したがって、波長が異なる複数色の光を同じ空間光位相変調器を用いて回折すると、波長の違いによって画角θが変わり、各色の画像θがずれるという現象が発生する。
【0004】
JPEG
2025006097000002.jpg
26
155
【先行技術文献】
【特許文献】
【0005】
特開2017-151444号公報
【発明の概要】
【発明が解決しようとする課題】
【0006】
この現象の最も簡単な解決手法は、各色の元の画像の大きさを変えることである。しかしながら、このような解決手段を実行すると、色によって解像度(画素数)が変わってしまうという問題がある。
【0007】
そこで、本開示は、解像度を変えることなく、波長の違いによる画像のずれを抑制できるプロジェクタの提供を目的とする。
【課題を解決するための手段】
【0008】
1つの側面では、以下のような解決手段を提供する。
波長が異なる光を出力する複数の光源と、
複数の前記光源から出力された光を回折し、計算機生成ホログラムに基づく干渉縞を含む物体画像をスクリーンに投影する空間光位相変調器と、
複数の前記光源及び前記空間光位相変調器を制御する制御部と、を備えるプロジェクタであって、
複数の前記光源が出力する光を前記空間光位相変調器に対して斜めに入射させる斜入射光学系を構成し、
複数の前記光源が出力する光の前記空間光位相変調器に対する入射角度は、2次元方向において互いに相違し、出力する光の波長に基づいて設定されている、ことを特徴とするプロジェクタが提供される。
【発明の効果】
【0009】
本開示によれば、解像度を変えることなく、波長の違いによる画像のずれを抑制できるプロジェクタの提供が可能となる。
【図面の簡単な説明】
【0010】
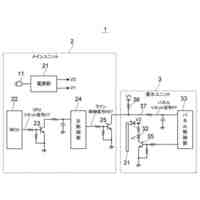
本実施例によるヘッドアップディスプレイ装置が搭載された車両の側面視による概略図である。
本実施例によるヘッドアップディスプレイ装置の概略的な断面図である。
表示器の構成を示す概略図である。
空間光位相変調器の見かけ上の画素ピッチを示す図であり、(a)は入射角度θが0degの場合を示し、(b)は入射角度θが25degの場合を示す。
目標画角と各色の入射角度θとの関係を示す図である。
目標画角を8degとした場合の各色の入射角度θを示す図である。
制御用CGHパターンの基本的な作成方法を示す図である。
本実施例による制御用CGHパターンの作成方法を示す図である。
中心角のずれを補正するための処理を示す図である。
【発明を実施するための形態】
(【0011】以降は省略されています)
この特許をJ-PlatPat(特許庁公式サイト)で参照する
関連特許
日本精機株式会社
検出装置
1か月前
日本精機株式会社
表示装置
1か月前
日本精機株式会社
照明装置
1か月前
日本精機株式会社
運転支援装置
1か月前
日本精機株式会社
車載表示装置
1か月前
日本精機株式会社
車載表示装置
1か月前
日本精機株式会社
車載表示装置
1か月前
日本精機株式会社
プロジェクタ
1日前
日本精機株式会社
画像投映装置
2か月前
日本精機株式会社
発光表示装置
9日前
日本精機株式会社
車両用表示装置
2か月前
日本精機株式会社
サージ保護回路
2か月前
日本精機株式会社
車両用投射装置
1か月前
日本精機株式会社
車両用報知装置
1か月前
日本精機株式会社
車両用表示装置
1か月前
日本精機株式会社
ミラーユニット
1か月前
日本精機株式会社
車両用表示装置
1日前
日本精機株式会社
スペックル低減装置
1か月前
日本精機株式会社
鞍乗型車両用表示装置
2日前
日本精機株式会社
鞍乗型車両用表示装置
29日前
日本精機株式会社
照明装置及び表示装置
8日前
日本精機株式会社
車両表示装置用回路基板
1日前
日本精機株式会社
ヘッドアップディスプレイ
1か月前
日本精機株式会社
表示装置及びその製造方法
1か月前
日本精機株式会社
スクリーン反射型表示装置
1か月前
日本精機株式会社
ヘッドアップディスプレイ
29日前
日本精機株式会社
ヘッドアップディスプレイ装置
29日前
日本精機株式会社
ヘッドアップディスプレイ装置
1か月前
日本精機株式会社
ヘッドアップディスプレイ装置
1か月前
日本精機株式会社
表示制御装置、表示装置、及び表示制御方法
1日前
日本精機株式会社
表示制御装置、表示装置、及び表示制御方法
29日前
日本精機株式会社
ヘッドアップディスプレイ装置及び表示制御装置
29日前
日本精機株式会社
ヘッドアップディスプレイ装置、及び画像回転角度設定方法
1日前
日本精機株式会社
嚥下異常検出システム、嚥下異常検出装置および嚥下異常検出用プログラム
29日前
日本精機株式会社
ヘッドアップディスプレイ装置
1か月前
日本精機株式会社
音圧制御装置、及びサウンダーの音圧制御システム、並びにサウンダーの音圧制御方法
1か月前
続きを見る
他の特許を見る