TOP
|
特許
|
意匠
|
商標
特許ウォッチ
Twitter
他の特許を見る
公開番号
2025180889
公報種別
公開特許公報(A)
公開日
2025-12-11
出願番号
2024088559
出願日
2024-05-31
発明の名称
プロジェクタ、及び投射表示制御方法
出願人
日本精機株式会社
代理人
個人
,
個人
,
個人
,
個人
,
個人
主分類
B60Q
1/26 20060101AFI20251204BHJP(車両一般)
要約
【課題】 プロジェクタにおいて、光源としてのレーザーダイオードのディレーティングを実施した場合の表示光の光束値の低下を抑制する。
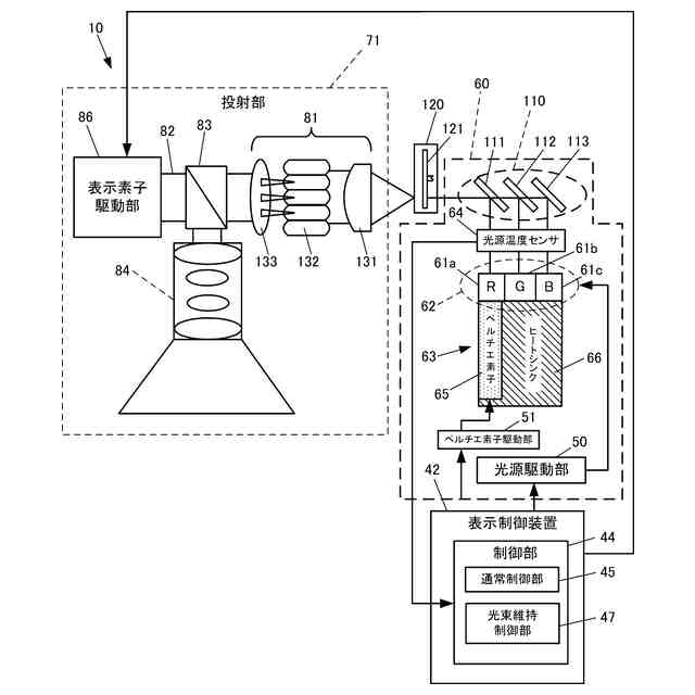
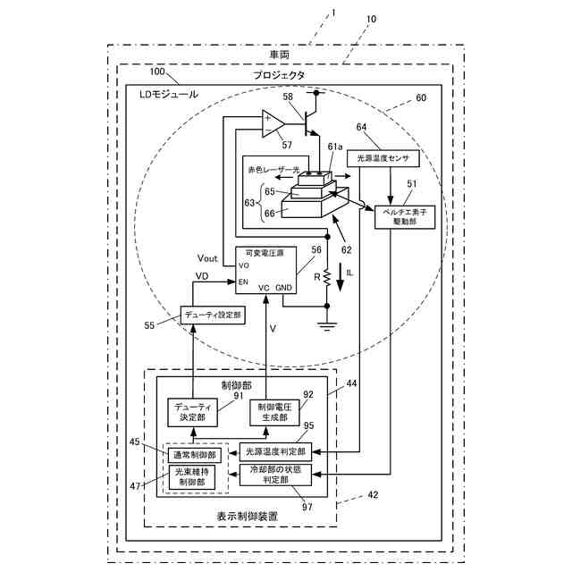
【解決手段】 光源部62と、光源駆動部と50と、制御部44を含む表示制御装置42と、を有し、制御部は、赤色レーザーダイオードの温度を許容温度以下に抑制できる場合には、ホワイトバランスを満たすように、各光出力を調整する通常制御モードを実施し、許容温度以下に抑制できない場合には、赤色レーザーダイオードについてディレーティングを実施すると共に、赤色レーザーダイオードの光出力の低下による表示光の光束値の低下を抑制するように、緑色及び青色のレーザーダイオード、又は、緑色のレーザーダイオードの駆動電流値を増大させて光出力を増大させ、これによって、ホワイトバランスの維持よりも表示光の光束値の維持を優先させる光束維持制御モードを実施する。
【選択図】 図2
特許請求の範囲
【請求項1】
車両に搭載され、前記車両の外の対象物に対して表示光を投射することによって画像を表示するプロジェクタであって、
赤、緑、青の各色のレーザーダイオードを含む光源部と、
前記赤、緑、青の各色のレーザーダイオードの駆動電流値を調整することにより、前記各色のレーザーダイオードの光出力を変化させることが可能な光源駆動部と、
前記光源駆動部を制御する制御部を含む表示制御装置と、
を有し、
前記制御部は、
前記光源部の動作中において、
前記赤色レーザーダイオードの温度が、前記赤色レーザーダイオードについての許容温度以下に抑制できる場合には、前記赤、緑、青の各色のレーザーダイオードの各光出力が所望のホワイトバランスを満たすように、前記各光出力を調整する通常制御モードを実施し、
前記赤色レーザーダイオードの温度が、前記赤色レーザーダイオードについての前記許容温度以下に抑制できない場合には、
前記赤色レーザーダイオードの駆動電流値を低下させてディレーティングを実施すると共に、
前記赤色レーザーダイオードの光出力の低下による前記表示光の光束値の低下を抑制するように、前記緑色及び青色のレーザーダイオード、又は、前記緑色のレーザーダイオードの駆動電流値を増大させて光出力を増大させ、
これによって、前記ホワイトバランスの維持よりも前記表示光の光束値の維持を優先させる光束維持制御モードを実施する、
プロジェクタ。
続きを表示(約 1,300 文字)
【請求項2】
前記光源部を強制的に冷却する冷却機構を有し、
前記制御部は、
前記冷却機構を動作させても前記赤色レーザーダイオードの温度を前記許容温度以下に抑制できない場合に、前記光束維持モードを実施し、
前記光束維持モードを実施した後、前記冷却機構によって前記赤色レーザーダイオードの温度を前記許容温度以下に抑制できるようになった場合には、前記光束維持制御モードを前記通常制御モードに切替える、
請求項1に記載のプロジェクタ。
【請求項3】
前記冷却機構は、ペルチエ素子、又は、冷却ファンからなる、電気的冷却部を有し、
前記電気的冷却部は、前記赤色レーザーダイオードについてのみ設けられる、
請求項2に記載のプロジェクタ。
【請求項4】
前記制御部は、
前記通常制御モードから前記光束維持制御モードへの切替えに際して、
赤色レーザーダイオードの駆動電圧波形の上限値については現状を維持させ、かつ前記駆動電圧波形のパルス幅を低下させることで前記ディレーティングを実施し、
前記緑色及び青色のレーザーダイオード、又は、前記緑色のレーザーダイオードの駆動電圧波形の上限値については現状よりも増大させるか、あるいは、現状を維持させ、かつ前記駆動電圧波形のパルス幅を増大させ、前記赤色レーザーダイオードの光出力の低下による前記表示光の光束値の低下を抑制するように可変に制御する、
請求項1に記載のプロジェクタ。
【請求項5】
前記制御部は、
前記通常制御モードから前記光束維持制御モードへの切替えに際して、
前記赤、緑、青の各色のレーザーダイオードの少なくとも1つの駆動電流を、時間経過と共に、連続的に、又は、複数の段階を経て徐々に変化させる遷移制御モードを実施する、請求項1に記載のプロジェクタ。
【請求項6】
車両に搭載され、前記車両の外の対象物に対して表示光を投射することによって画像を表示するプロジェクタの投射表示制御方法であって、
赤、緑、青の各色のレーザーダイオードを含む光源部の動作中において、
前記赤色レーザーダイオードの温度が、前記赤色レーザーダイオードについての許容温度以下に抑制できる場合には、前記赤、緑、青の各色のレーザーダイオードの各光出力が所望のホワイトバランスを満たすように、前記各光出力を調整する通常制御モードを実施する第1のステップと、
前記赤色レーザーダイオードの温度が、前記赤色レーザーダイオードについての前記許容温度以下に抑制できない場合には、前記赤色レーザーダイオードの駆動電流値を低下させてディレーティングを実施すると共に、前記赤色レーザーダイオードの光出力の低下による前記表示光の光束値の低下を抑制するように、前記緑色及び青色のレーザーダイオード、又は、前記緑色のレーザーダイオードの駆動電流値を増大させて光出力を増大させ、これによって、前記ホワイトバランスの維持よりも前記表示光の光束値の維持を優先させる光束維持制御モードを実施する第2のステップと、
を含む投射表示制御方法。
発明の詳細な説明
【技術分野】
【0001】
本発明は、例えば自動車等の車両に搭載されるプロジェクタ、及び投射表示制御方法等に関する。
続きを表示(約 1,900 文字)
【背景技術】
【0002】
特許文献1の[0034]~[0036]には、「ヘッドアップディスプレイのような表示装置において、赤(R)、緑(G)、青(B)の各レーザーダイオード(LD)の温度が所定温度を超える場合には、駆動電流の電流制限(ディレーティング)を実施すること」が開示されている。
【0003】
また、同文献の[0044]、図8には、「例えば、赤(R)のレーザーダイオードについて、光出力Pr(言い換えれば供給電流Ir)を制限した場合、その制限された光出力Pr(電流Ir)に対して、ホワイトバランス(WB)を保つように、緑(G)のレーザーダイオードの光出力Pg(駆動電流Ig)、及び、青(B)のレーザーダイオードの光力Pb(駆動電流Ir)を設定すること」が記載されている。
【先行技術文献】
【特許文献】
【0004】
特開2018-037531号公報
【発明の概要】
【発明が解決しようとする課題】
【0005】
特許文献1では、赤(R)、緑(G)、青(B)の何れかのレーザーダイオード(以下、LDと記載する場合がある)が所定温度を超える場合に、光出力(駆動電流)の電流制限(ディレーティング)が実施されて、LDの温度上昇が抑制される。
このとき、特許文献1では、その制限された光出力(駆動電流)に対して、ホワイトバランス(WB)が維持されるように、他の色のLDの光出力(駆動電流)の制限も実施される。
言い換えれば、特許文献1では、一つの色のLDについてディレーティングが実施された場合、ホワイトバランス(WB)を維持するために、他の色のLDについてもディレーティングが実施される。
この場合、各色の光を合成して得られる表示光の光束値(言い換えれば「明るさ」)が低下することは否めない。
【0006】
ここで、車両に搭載され、道路の路面等に画像を投影して表示するプロジェクタ(屋外プロジェクタ)において、赤(R)、緑(G)、青(B)の各色のLDの光出力を、所望のホワイトバランス(WB)が得られるように合成して表示光を得る場合を想定する。
例えば、屋外プロジェクタでは、画像が道路の路面等に直接に投影されるため、太陽光等の影響を直接に受け、よって、太陽光等の外光強度が大きい場合等には、道路の路面等に投影される画像の視認性が低下する。
道路の路面等に表示される画像には、車両の安全運転に関するナビゲーション情報等も含まれるため、画像の視認性の低下は、車両の安全な運行に直接的な影響を与える場合も想定され得る。
したがって、特許文献1のように、赤(R)、緑(G)、青(B)の各色の光について、一律にディレーティングを実施することで表示光の光束値(明るさ)が低下すると、画像の視認性を維持する、というプロジェクタ分野における要請を満たすことができない。
【0007】
また、プロジェクタ(屋外プロジェクタ)では、画像の視認性を所望の値に保つために大出力の光源が必要となることから、各色のLDにおける温度上昇が急であることが多く、また、環境温度が高い場合には、各色のLDの温度上昇がさらに急になることも想定され得る。
よって、プロジェクタ(屋外プロジェクタ)では、ディレーティングによるLDの保護(寿命低下の抑制)が特に重要であり、さらに、ペルチエ素子(あるいはファン)等を用いた強制冷却機構が必要となるが、この場合、プロジェクタ(屋外プロジェクタ)が大型化するのは否めない。
一方、プロジェクタ(屋外プロジェクタ)が車載される場合、車載スペースには限界があることから、上記の大型化を抑制することも重要となる。
【0008】
このような、プロジェクタに特有の課題については、特許文献1には記載がなく、その対策についても言及されていない。
【0009】
本発明の目的の一つは、プロジェクタにおいて、光源としてのレーザーダイオードのディレーティングを実施した場合における、表示光の光束値(言い換えれば、画像の明るさ)の低下を抑制することにある。
【0010】
本発明の他の目的は、以下に例示する態様及び最良の実施形態、並びに添付の図面を参照することによって、当業者に明らかになるであろう。
【課題を解決するための手段】
(【0011】以降は省略されています)
この特許をJ-PlatPat(特許庁公式サイト)で参照する
関連特許
日本精機株式会社
表示装置
1か月前
日本精機株式会社
照明装置
1か月前
日本精機株式会社
検出装置
1か月前
日本精機株式会社
回路基板
2日前
日本精機株式会社
発光表示装置
14日前
日本精機株式会社
位置検出装置
2か月前
日本精機株式会社
車載表示装置
1か月前
日本精機株式会社
運転支援装置
1か月前
日本精機株式会社
車載表示装置
1か月前
日本精機株式会社
位置検出装置
2か月前
日本精機株式会社
プロジェクタ
6日前
日本精機株式会社
車載表示装置
1か月前
日本精機株式会社
画像投映装置
2か月前
日本精機株式会社
位置検出装置
2か月前
日本精機株式会社
液面検出装置
1日前
日本精機株式会社
車両用報知装置
1か月前
日本精機株式会社
車両用表示装置
1か月前
日本精機株式会社
車両用投射装置
2か月前
日本精機株式会社
サージ保護回路
2か月前
日本精機株式会社
ミラーユニット
1か月前
日本精機株式会社
車両用表示装置
2か月前
日本精機株式会社
車両用投射装置
2か月前
日本精機株式会社
車両用表示装置
6日前
日本精機株式会社
車両用表示装置
1日前
日本精機株式会社
導光体照明装置
今日
日本精機株式会社
車両用投影装置
今日
日本精機株式会社
スペックル低減装置
1か月前
日本精機株式会社
交通保安用投影装置
2日前
日本精機株式会社
鞍乗型車両用表示装置
1か月前
日本精機株式会社
照明装置及び表示装置
13日前
日本精機株式会社
鞍乗型車両用表示装置
7日前
日本精機株式会社
車両用投射型表示装置
2か月前
日本精機株式会社
車両表示装置用回路基板
6日前
日本精機株式会社
スクリーン反射型表示装置
1か月前
日本精機株式会社
ヘッドアップディスプレイ
1か月前
日本精機株式会社
表示装置及びその製造方法
1か月前
続きを見る
他の特許を見る