TOP
|
特許
|
意匠
|
商標
特許ウォッチ
Twitter
他の特許を見る
10個以上の画像は省略されています。
公開番号
2025180158
公報種別
公開特許公報(A)
公開日
2025-12-11
出願番号
2024087306
出願日
2024-05-29
発明の名称
製紙用フェルト及びこの製紙用フェルトの切断方法
出願人
日本フエルト株式会社
代理人
個人
,
個人
主分類
D21F
7/08 20060101AFI20251204BHJP(製紙;セルロースの製造)
要約
【課題】切断によって生じた糸の破片の視認性に優れることにより、フェルト表面への糸の破片の付着を防止する製紙用フェルト及びこの製紙用フェルトの切断方法を提供する。
【解決手段】製紙用フェルト5は、基布30と、基布30に積層されたバット繊維層とを備え、基布30は、基布を分断するように幅方向(CMD)及び丈方向(MD)全長にわたって配置された、複数の発光糸からなる発光部10A、20A、30Aを有し、発光部10Aの位置を指示する破線状の目印61、発光部20Aの位置を指示する破線状の目印64、65、66が設けられている。製紙用フェルトの切断方法は、目印61、64、65、66に基づいて、発光部10A、20A、30Aを備える箇所を切断する。
【選択図】図10
特許請求の範囲
【請求項1】
製織および/または不織の糸を有する基布と、前記基布に積層されたバット繊維層とを備える製紙用フェルトであって、
前記基布は、前記基布を分断するように配置された、複数の発光糸からなる少なくとも1つの発光部を有し、
前記発光部の位置を指示する目印が設けられていることを特徴とする製紙用フェルト。
続きを表示(約 840 文字)
【請求項2】
前記目印は、前記発光部の厚さ方向に対応するように前記バット繊維層の表面に配置されている、請求項1に記載の製紙用フェルト。
【請求項3】
前記目印は、線状またはドット状に設けられている、請求項2に記載の製紙用フェルト。
【請求項4】
前記目印はインクによる表記である、請求項2または3に記載の製紙用フェルト。
【請求項5】
前記目印は、前記発光部の色と異なる色で発光する複数の発光糸からなり、前記発光部の両側に隣接配置されて前記基布の一部を構成する、請求項1に記載の製紙用フェルト。
【請求項6】
製織および/または不織の糸を有する基布と、前記基布に積層されたバット繊維層とを備える製紙用フェルトの切断方法であって、
前記基布は、前記基布を分断するように延在する、複数の発光糸からなる少なくとも1つの発光部を有し、
前記発光部の位置を指示する目印に基づいて、前記発光部を備える箇所を切断することを特徴とする製紙用フェルトの切断方法。
【請求項7】
前記目印は、前記発光部の厚さ方向に対応するように前記バット繊維層の表面に配置されており、前記目印に沿って切断する、請求項6に記載の製紙用フェルトの切断方法。
【請求項8】
前記目印は、前記発光部の厚さ方向に対応するように前記バット繊維層の表面にドット状に複数配置されており、前記目印を繋ぐ線を引いてから、該線に沿って切断する、請求項6に記載の製紙用フェルトの切断方法。
【請求項9】
前記目印は、前記発光部の色と異なる色で発光する複数の発光糸からなり、前記発光部の幅方向両側にて前記基布の一部を構成し、前記製紙用フェルトの側方端面から前記発光部の位置を確認して切断を開始し、前記異なる色の目印が露出した際に前記発光部側に切断方向を変える、請求項6に記載の製紙用フェルトの切断方法。
発明の詳細な説明
【技術分野】
【0001】
本発明は、抄紙機のプレスパートで使用される製紙用フェルト(以下「フェルト」ともいう。)及びこの製紙用フェルトの切断方法に関する。更に詳しくは、切断によって生じた糸の破片の視認性に優れることにより、フェルト表面への糸の破片の付着を防止する製紙用フェルト及びこの製紙用フェルトの切断方法に関する。
続きを表示(約 4,800 文字)
【背景技術】
【0002】
製紙用フェルトは、抄紙機におけるプレスパートの工程で使用される。製紙用フェルトは、経方向に無端状であり、機械のロールに掛け渡され、ロールの回転によって走行する。製紙用フェルトは、ワイヤーパートから運ばれてくる80%程度の水分を含む湿紙を受け取り、一対のプレスロールの間で湿紙を加圧して搾水する。このように、製糸用フェルトを湿紙とともにプレスロール間に通過させることで、湿紙を搾水し、その表面が平滑化される。そして、50%程度の水分率にして、次のドライパートに送り出す。
製紙用フェルトは、糸からなる基布と、この基布の両面に交絡して積層したバット繊維層とを有する。
そのため、バット繊維層表面に異物が付着すると、バット繊維層はバット繊維からなるため、異物は絡まれて付着し、除去しない限り、フェルトの周長周期で凹み跡がつく。凹み跡がついた湿紙は損紙となる虞があり、その際の被害は甚大なものとなる。
【0003】
この異物の一つに、フェルトに内在している基布を構成する糸(単糸や撚糸)の破片(1mm~10mm程度)が挙げられる。
この基布を構成する糸の破片は、フェルト切断時に、バット繊維層と同時に基布の糸も切断されることにより生ずる。
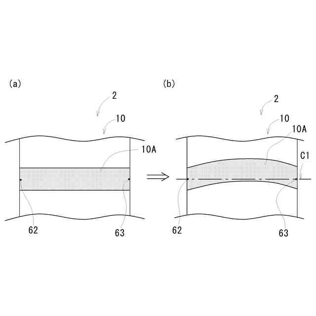
図12に示すように、特に糸の延在する方向にフェルトを切断する場合に、糸が細かく切断されて糸の破片が生じやすい。例えば、同図(a)に示すように、直線状ではなく糸90が撓んだ状態で延在する場合、直線状の切断線C3に沿って切断すると、糸91から糸の破片91a、91b、91cが生ずる。また同図(b)に示すように、直線状の糸95の延在する方向に切断線C4が直線でなく揺らぎがある場合、糸92から糸の破片92a、92b、92cが生ずる。
基布の糸の破片が生ずるのは、主として次の3つの場合である。まず、フェルト製造の仕上げ工程において、フェルトの幅方向の端縁部を丈方向に切断する幅カット時に丈方向に延在する糸の破片が生ずる。次いで、抄紙機の稼働中においてフェルトの端縁部が解れたり、丈方向に延在する糸が飛び出したりした際には、糸が抄紙機のロールに絡んだり人体に触れる危険性があるため、端縁部の幅カットをする必要が生じる。この幅カット時に丈方向に延在する糸の破片が生ずる。そして、フェルト使用後に抄紙機からフェルトを取り外すために、フェルトを幅方向に切断する場合、幅方向に延在する糸の破片が生ずる。
そうすると、新たに抄紙機にフェルトを掛け渡す際に、フェルトがフロアーを擦り、糸の破片がその表面のバット繊維層に付着する。糸の破片は小さく、半透明なため見逃しやすく、また、発見と除去に長時間を要することになる。
【0004】
ここで、発光糸を用いたフェルトに係る文献が開示されている(例えば、特許文献1~8参照。)。
特許文献1には、螺旋基布の製造方法について開示されており、小幅基布の巻回ごとの丈方向の長さがばらつかないように、隣り合う小幅基布の緯方向の位置合わせを行う目的で緯糸の一部を発光糸にすることが記載されている。
特許文献2には、抄紙布の上に紙が載置された状態で、発光強度の増大を、検出器を使って検出する内容が開示されており、紙の収縮の把握を目的として発光糸を配置している。
特許文献3には、フェルト使用中に脱落した糸やバット繊維が紙に混入することで、紙が汚染された際に、製造業者に補償を求めるにあたり、どの製造業者に由来する異物であるかの特定を目的としており、糸やバット繊維にフォトクロミック材料を含有させる内容が開示されている。
特許文献4には、高温多湿の暗い環境下でも、耐久性を確保しつつ、蛇行や片寄などの走行状態を目視で簡単に視認可能にするために、糸で構成される織物の表面に発光剤含有樹脂を塗布した発光部を有する工業用繊維物が開示されている。
特許文献5には、ワープシーム基布を製造する際のループ形成時の視認性向上のため、基布の糸の一部を蛍光糸にした内容が開示されている。
特許文献6には、小幅基布同士を縫い合わせる際の、縫い位置の視認性を良くするために、隣り合う小幅基布同士を縫い合わせる際の目印(縫い位置)として、蛍光糸を用いる内容が開示されている。
特許文献7には、抄紙用布の経糸または緯糸の少なくとも一部に発光糸を使用し、発光強度の変化から、抄紙用布の汚染度合いや、糸の摩耗度合いを把握する内容が開示されている。
特許文献8には、プレスフェルトの摩耗の検知を目的とし、糸やバット繊維に発光材料を含有させ、プレスフェルトのどの層まで露出しているかを可視化する内容が開示されている。
【先行技術文献】
【特許文献】
【0005】
特許6497678号公報
特許3726118号公報
英国特許2315499号公報
特許6997916号公報
特開2023-70320号公報
特許6718731号公報
国際公開2012/175670号公報
特表2007-521406号公報
【発明の概要】
【発明が解決しようとする課題】
【0006】
しかし、上記いずれの文献も、発光糸を用いたフェルトに関する文献であるものの、フェルトの切断によって生じる糸の破片を精度よく発見、除去することを目的として発光糸を用いているわけではないため、コストを抑えつつ、糸の破片を精度よく発見、除去するための具体的な手段や手法についての記載はない。
【0007】
本発明は、上記現状に鑑みてなされたものであり、コストを抑えつつ、切断によって生じた糸の破片の視認性を向上させることにより、フェルト表面への糸の破片の付着を抑制する製紙用フェルト及びこの製紙用フェルトの切断方法を提供することを目的とする。
【課題を解決するための手段】
【0008】
上記問題を解決するための手段は、以下の通りである。
1.製織および/または不織の糸を有する基布と、前記基布に積層されたバット繊維層とを備える製紙用フェルトであって、
前記基布は、前記基布を分断するように配置された、複数の発光糸からなる少なくとも1つの発光部を有し、
前記発光部の位置を指示する目印が設けられていることを特徴とする製紙用フェルト。
2.前記目印は、前記発光部の厚さ方向に対応するように前記バット繊維層の表面に配置されている、前記1.に記載の製紙用フェルト。
3.前記目印は、線状またはドット状に設けられている、前記2.に記載の製紙用フェルト。
4.前記目印はインクによる表記である、前記2.または3.に記載の製紙用フェルト。
5.前記目印は、前記発光部の色と異なる色で発光する複数の発光糸からなり、前記発光部の両側に隣接配置されて前記基布の一部を構成する、前記1.に記載の製紙用フェルト。
6.製織および/または不織の糸を有する基布と、前記基布に積層されたバット繊維層とを備える製紙用フェルトの切断方法であって、
前記基布は、前記基布を分断するように延在する、複数の発光糸からなる少なくとも1つの発光部を有し、
前記発光部の位置を指示する目印に基づいて、前記発光部を備える箇所を切断することを特徴とする製紙用フェルトの切断方法。
7.前記目印は、前記発光部の厚さ方向に対応するように前記バット繊維層の表面に配置されており、前記目印に沿って切断する、前記6.に記載の製紙用フェルトの切断方法。
8.前記目印は、前記発光部の厚さ方向に対応するように前記バット繊維層の表面にドット状に複数配置されており、前記目印を繋ぐ線を引いてから、該線に沿って切断する、前記6.に記載の製紙用フェルトの切断方法。
9.前記目印は、前記発光部の色と異なる色で発光する複数の発光糸からなり、前記発光部の幅方向両側にて前記基布の一部を構成し、前記製紙用フェルトの側方端面から前記発光部の位置を確認して切断を開始し、前記異なる色の目印が露出した際に前記発光部側に切断方向を変える、前記6.に記載の製紙用フェルトの切断方法。
【発明の効果】
【0009】
本発明の製紙用フェルトは、フェルトの切断時、基布を構成する糸のうち発光糸を選択的に切断できるため、抄紙機の周囲のフロアーに微細な糸の破片が落下しても、より容易に発見できる。そのため、フロアーを十分に清掃でき、新たなフェルトを抄紙機に掛け入れる際に、フェルトがフロアーに擦っても残存する糸の破片がフェルトに付着するのを抑制でき、フェルトが汚染されるのを防止することができる。
また、フェルトは使用環境により、種々の色に着色され得る。その上、フェルトは製造時や使用時に張力をかけられるため、特に幅方向に延在する発光部は湾曲してしまう。そのため、局所的に設けられた発光部の位置を、バット繊維層越しに、幅方向全長にわたって正確に把握することは難しい。一方で、発光糸は比較的高価であるため、基布を構成するすべての糸を発光糸に置き換えると、コストが高くなってしまう。発光部の位置を指示する目印を設けることで、発光糸を基布の一部にだけ使用したとしても、フェルトの使用環境によらず、発光部の位置を精度よく把握し、切断することが可能となる。
【0010】
また、幅方向に延在する発光部を少なくとも1箇所備える場合には、掛けられたフェルトを幅方向に切断して、無端ベルトとしてのフェルトを取り外すことができる。
目印は、発光部の厚さ方向に対応するようにバット繊維層の表面に配置されている場合には、目印によって発光部の位置を確認することができる。
目印は、発光部の延在する方向に線状又はドット状に設けられている場合には、より容易に発光部の位置を精度よく把握することができる。
目印は、インクによる表記である場合にはフェルトの外観に変化を与えないものとすることができる場合がある。
目印は、前記発光部の色と異なる色で発光する複数の発光糸からなり、前記発光部の延在方向に沿って、前記発光部の両側に隣接配置されて前記基布の一部を構成する場合には、フェルトの目印が外観上表れないため、特に好ましい。
本発明の製紙用フェルトの切断方法であれば、発光部の位置を指示する目印に基づいて、容易に発光部を備える箇所を切断することができる。
目印は、発光部の厚さ方向に対応するようにバット繊維層の表面に配置されていれば、目印に沿って容易に切断することができる。
目印は、発光部の厚さ方向に対応するように前記バット繊維層の表面にドット状に複数配置されており、前記目印を繋ぐ線を引いてから、該線に沿って切断する方法であれば、
フェルト切断時以外は外観に変化を与えることが少ないため、外観上好ましい。
目印は、前記発光部の色と異なる色で発光する複数の発光糸からなり、前記発光部の幅方向両側にて前記基布の一部を構成し、前記製紙用フェルトの側方端面から前記発光部の位置を確認して切断を開始し、前記異なる色の目印が露出した際に前記発光部側に切断方向を変えることによりフェルトを切断する方法であれば、フェルトの目印が外観上表れないため、特に好ましい。
【図面の簡単な説明】
(【0011】以降は省略されています)
この特許をJ-PlatPat(特許庁公式サイト)で参照する
関連特許
日本フエルト株式会社
製紙用フェルト及びこの製紙用フェルトの切断方法
1日前
アイカ工業株式会社
紙透明化剤
2か月前
三菱製紙株式会社
両艶クラフト紙
7か月前
artience株式会社
積層体
1か月前
日本製紙株式会社
測定装置
1か月前
丸住製紙株式会社
変性パルプ
1か月前
日本製紙株式会社
耐雪紙
2か月前
オリベスト株式会社
ガラス繊維不織布
2か月前
東洋アルミニウム株式会社
積層体
4か月前
株式会社大善
色管理システム
7か月前
日本製紙株式会社
消臭性板紙
1か月前
丸住製紙株式会社
パルプおよびシート
28日前
CHEMIPAZ株式会社
紙用柔軟剤及び紙
5か月前
独立行政法人 国立印刷局
コーナーロール機構
2か月前
特種東海製紙株式会社
シートの製造方法
14日前
ダイキン工業株式会社
組成物
5か月前
ダイキン工業株式会社
組成物
5か月前
ダイキン工業株式会社
組成物
5か月前
独立行政法人 国立印刷局
ふるい分け残量算出方法
2か月前
花王株式会社
古紙のパルプ化処理方法
4か月前
特種東海製紙株式会社
軟包装材用原紙および軟包装材
2か月前
丸住製紙株式会社
水解紙及び水解紙の製造方法
5か月前
ダイキン工業株式会社
パルプ組成物
7か月前
ダイキン工業株式会社
パルプ組成物
7か月前
ダイキン工業株式会社
パルプ組成物
6か月前
日本製紙株式会社
印刷用塗工紙
1か月前
セイコーエプソン株式会社
微細化装置
2か月前
東レ株式会社
湿式不織布、および固体電解質用補強シート
1か月前
ダイキン工業株式会社
パルプ用耐油剤
3か月前
日本製紙株式会社
非塗工紙及び非塗工紙の製造方法
6か月前
独立行政法人 国立印刷局
抄紙機における光沢部の安全機構
3か月前
日本製紙株式会社
板紙
16日前
リンテック株式会社
剥離紙原紙
6か月前
花王株式会社
水解性シート
4か月前
日本製紙株式会社
塗工紙
22日前
日本フエルト株式会社
製紙用織物
5か月前
続きを見る
他の特許を見る