TOP
|
特許
|
意匠
|
商標
特許ウォッチ
Twitter
他の特許を見る
公開番号
2025174264
公報種別
公開特許公報(A)
公開日
2025-11-28
出願番号
2024080427
出願日
2024-05-16
発明の名称
シートの製造方法
出願人
特種東海製紙株式会社
代理人
個人
主分類
D21G
9/00 20060101AFI20251120BHJP(製紙;セルロースの製造)
要約
【課題】シート又はシートと接触する走行体の表面に液体を噴射する工程を含むシートの製造方法において、当該シートの表面への液体の噴射むら又は当該走行体の表面の摩耗むらを抑制すること。
【解決手段】シート又はシートと接触する走行体の表面に液体を噴射する工程を含むシートの製造方法であって、前記液体を扇形に噴射し、前記液体の噴射パターンの長手方向が前記シート又は走行体の幅方向と5度未満の角度で交わる。
【選択図】図6
特許請求の範囲
【請求項1】
シート又はシートと接触する走行体の表面に液体を噴射する工程を含むシートの製造方法であって、
前記液体を扇形に噴射し、
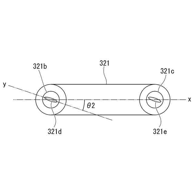
前記液体の噴射パターンの長手方向と前記シート又は前記走行体の幅方向とが5度未満の角度で交わる、シートの製造方法。
続きを表示(約 450 文字)
【請求項2】
前記液体の噴射パターンの長手方向が前記シート又は前記走行体の幅方向と平行である、請求項1記載の製造方法。
【請求項3】
前記扇形の噴射角が50~120度である、請求項1記載の製造方法。
【請求項4】
前記液体を複数の扇形に噴射し、且つ、複数の扇形の一部が重複する、請求項1記載の製造方法。
【請求項5】
前記噴射を固定ノズルにより行う、請求項1記載の製造方法。
【請求項6】
前記固定ノズルが二股管の端部に備えられている、請求項5記載の製造方法。
【請求項7】
前記固定ノズルがフラットノズルである、請求項5記載の製造方法。
【請求項8】
前記液体が水を含む、請求項1記載の製造方法。
【請求項9】
前記シートが紙である、請求項1記載の製造方法。
【請求項10】
前記走行体がロールである、請求項1記載の製造方法。
(【請求項11】以降は省略されています)
発明の詳細な説明
【技術分野】
【0001】
本発明は、紙等のシートの製造方法に関する。
続きを表示(約 1,000 文字)
【背景技術】
【0002】
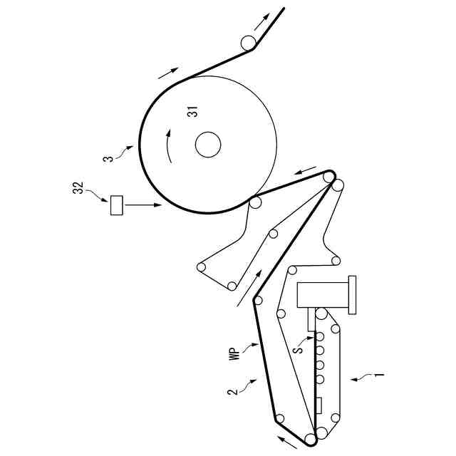
従来、抄紙機内を移動する湿紙に対して、紙力増強等のために紙力増強剤等を含む液体が噴射されている。
【0003】
特許文献1には、ヤンキードライヤー上の湿紙の表面に水溶性高分子を含む薬液を扇形に噴射するにあたり、複数の扇形が湿紙の幅方向に対してそれぞれ5~30度の角度で交わり、且つ、各扇形の面が平行となるようにして、湿紙に対して水溶性高分子を含む薬液を噴射することが開示されている。
【先行技術文献】
【特許文献】
【0004】
特開2010-150731号公報
【発明の概要】
【発明が解決しようとする課題】
【0005】
特許文献1によれば、そこに記載される噴射手法により、薬液の塗布むらを抑制することができるとされているが、改善の余地がある。
【0006】
更に、特許文献1では、ロール状のヤンキードライヤー上の湿紙に薬液を噴射することを前提としており、ヤンキードライヤーの表面に薬液を直接噴射することを想定していないが、紙等のシートの製造方法では、当該シートと接触する各種のロールの表面に液体を直接噴射する場合があり、その場合に、ロール表面の不均一な摩耗が問題となる。
【0007】
本発明は、紙等のシートの表面に各種の液体を噴射する工程を備えるシートの製造方法において、当該シートの表面への液体の噴射むらを抑制することを第1の目的とする。
【0008】
また、本発明は、紙等のシートと接触するロール等の走行体の表面に各種の液体を噴射する工程を備えるシートの製造方法において、当該走行体の表面の摩耗むらを抑制することを第2の目的とする。
【課題を解決するための手段】
【0009】
本発明の第1及び第2の目的は、シート又はシートと接触する走行体の表面に液体を噴射する工程を含むシートの製造方法であって、
前記液体を扇形に噴射し、
前記液体の噴射パターンの長手方向と前記シート又は前記走行体の幅方向とが5度未満の角度で交わる、シートの製造方法によって達成することができる。
【0010】
前記液体の噴射パターンの長手方向が前記シート又は前記走行体の幅方向と平行であることが好ましい。
(【0011】以降は省略されています)
この特許をJ-PlatPat(特許庁公式サイト)で参照する
関連特許
特種東海製紙株式会社
シートの製造方法
1日前
特種東海製紙株式会社
軟包装材用シート
1か月前
特種東海製紙株式会社
軟包装材用原紙および軟包装材
1か月前
三菱製紙株式会社
包装用紙
9か月前
アイカ工業株式会社
紙透明化剤
1か月前
artience株式会社
積層体
22日前
日本製紙株式会社
測定装置
1か月前
三菱製紙株式会社
両艶クラフト紙
7か月前
丸住製紙株式会社
変性パルプ
1か月前
日本製紙株式会社
耐雪紙
1か月前
オリベスト株式会社
ガラス繊維不織布
1か月前
東洋アルミニウム株式会社
積層体
4か月前
日本製紙株式会社
消臭性板紙
1か月前
株式会社大善
色管理システム
7か月前
CHEMIPAZ株式会社
紙用柔軟剤及び紙
4か月前
丸住製紙株式会社
パルプおよびシート
15日前
特種東海製紙株式会社
シートの製造方法
1日前
独立行政法人 国立印刷局
コーナーロール機構
1か月前
ダイキン工業株式会社
組成物
5か月前
ダイキン工業株式会社
組成物
5か月前
ダイキン工業株式会社
組成物
5か月前
花王株式会社
古紙のパルプ化処理方法
4か月前
独立行政法人 国立印刷局
ふるい分け残量算出方法
1か月前
特種東海製紙株式会社
軟包装材用原紙および軟包装材
1か月前
丸住製紙株式会社
水解紙及び水解紙の製造方法
5か月前
ダイキン工業株式会社
パルプ組成物
6か月前
リンテック株式会社
透明紙
7か月前
ダイキン工業株式会社
パルプ組成物
6か月前
リンテック株式会社
耐油紙
7か月前
ダイキン工業株式会社
パルプ組成物
6か月前
ダイキン工業株式会社
パルプ組成物
8か月前
セイコーエプソン株式会社
解繊装置
9か月前
セイコーエプソン株式会社
微細化装置
1か月前
日本製紙株式会社
印刷用塗工紙
1か月前
ダイキン工業株式会社
パルプ用耐油剤
3か月前
東レ株式会社
湿式不織布、および固体電解質用補強シート
24日前
続きを見る
他の特許を見る