TOP
|
特許
|
意匠
|
商標
特許ウォッチ
Twitter
他の特許を見る
公開番号
2025179833
公報種別
公開特許公報(A)
公開日
2025-12-10
出願番号
2025088329
出願日
2025-05-27
発明の名称
改良された自己発振型D級増幅装置
出願人
ハイペックス ホールディング ビー.ブイ.
代理人
個人
主分類
H03F
3/217 20060101AFI20251203BHJP(基本電子回路)
要約
【課題】音響性能の向上、歪みの低減及び安定性の向上を実現する自己発振型D級増幅装置を提供する。
【解決手段】増幅装置300は、スピーカ等のリアクティブ負荷を駆動するために、装置入力Xにおける入力信号Sxを装置出力Yにおける出力信号Syに増幅し、伝達関数KA(s)を有する自己発振型D級電力増幅器Kを備える。該増幅器は、比較器、電力団、2次のローパス出力フィルタ及び時間遅延ユニットを有する。時間遅延ユニットは、比較器、電力段及び第1フィードバックフィルタHoscによる遅延を提供する。出力信号Syは、第1帰還経路を介して比較器にフィードバックされる。補正段は、トランスインピーダンスアンプの仮想グランド入力に出力信号Syを供給する第2帰還経路を有する。補正をさらに強化するための第3帰還経路は、出力信号Syに第1伝達関数H2を適用し、入力信号Sxに第2伝達関数H3を適用するパッシブネットワークを含む。
【選択図】図2
特許請求の範囲
【請求項1】
スピーカまたは同等のリアクティブ負荷を駆動するために、装置入力Xにおける入力信号Sxを装置出力Yにおける出力信号Syに増幅するための増幅装置であって、
前記増幅装置は、第1伝達関数K
A
(s)を有する自己発振型D級電力増幅段(10)と、補正段とを備え、
前記自己発振型D級電力増幅段(10)は、比較器(01)と、D級電力段(03)と、2次のローパス出力フィルタ(04)と、時間遅延ユニット(02)と、装置出力Yからの第1帰還経路とを有し、
前記比較器(01)は、第1フィードバックフィルタHosc(06)を介して、前記比較器の出力信号Syをローカル入力電圧SKinと比較し、
前記D級電力段(03)は、前記比較器(01)の出力に結合され、前記比較器(01)の出力によって駆動され、前記比較器の出力電圧を大電流能力を有するより高い電圧レベルに変換し、
前記ローパス出力フィルタ(04)は、前記D級電力段の出力信号から高周波スイッチングノイズの少なくとも一部を除去するために、インダクタおよびキャパシタ(04)を含み、前記電力段(03)と前記スピーカまたは同等の負荷との間に結合され、
前記時間遅延ユニット(02)は、前記比較器、Hoscおよび前記電力段のうちの1つ以上に応じた時間遅延を提供するように構成され、
前記第1帰還経路は、Hosc(06)を介して出力信号Syを比較器(01)に戻して結合するものであり、発振周波数の制御を提供し、音声周波数帯域における信号の歪みを低減するために、少なくとも部分的に低周波フィードバックを提供し、
前記補正段は、第2帰還経路および第3帰還経路を有し、
前記第2帰還経路は、前記増幅段によって生成された前記出力信号(Sy)の誤差をさらに補正するために、トランスインピーダンスアンプHZ1(102)の仮想グランド入力である加算ノードS2へのH1(104)を介して、装置出力Yからの前記出力信号Syを前記補正段の帰還入力に結合し、
前記さらなる補正は、前記電力増幅段、前記出力フィルタおよび前記スピーカまたは前記同等の負荷によって引き起こされた、分離されてフィルタリングされた歪み成分の反転で、前記増幅段(10)の電力増幅器の入力信号SKinを事前に歪ませることによって実行され、
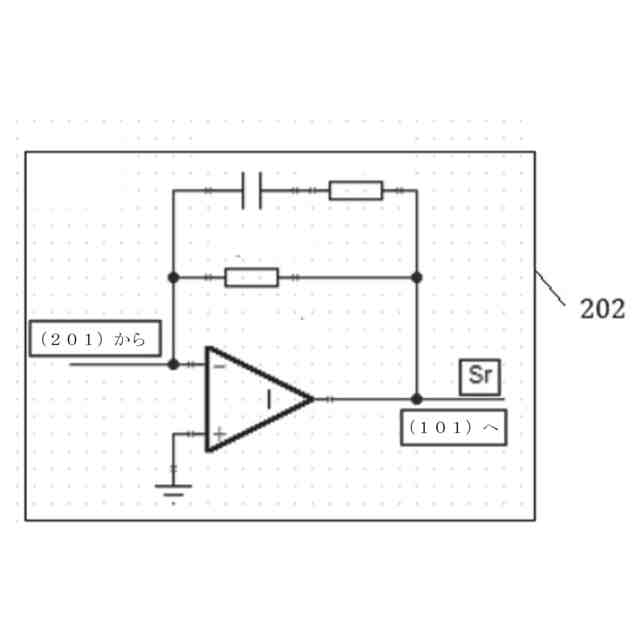
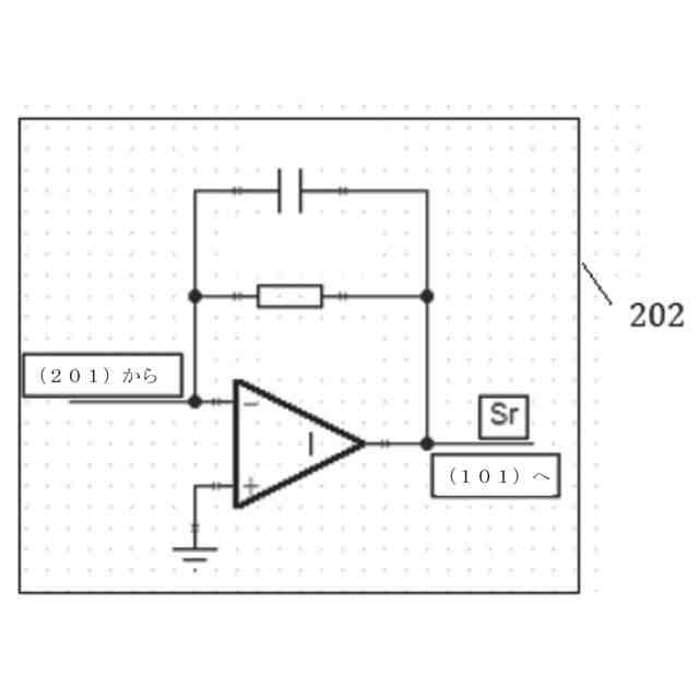
前記分離された歪み成分は、トラッキングフィルタK
T
(101)に入力信号Srを通し、そのあと、前記出力信号SyのスケーリングされたバージョンであるH1(104)の出力から、帰還信号からの結果を減算することによって得られ、
前記第3帰還経路は、前記第2帰還経路による前記出力信号Syの補正をさらに強化するために、H2+H3を介して、前記補正段のHZ2を通して、前記出力信号Syを追加の帰還入力に結合し、
前記第3帰還経路は、前記帰還経路の選択性を強化し、追加の帰還利得を提供するために、高次の加算として構成され、
前記第3帰還経路は、前記出力信号Syに適用される第1伝達関数H2と、前記入力信号Sxに適用される異なる第2伝達関数H3とを実装したネットワークで構成され、
前記H2およびH3は、抵抗およびキャパシタを含む単一のパッシブネットワーク内で結合され、
前記H2およびH3のそれぞれの出力は、加算され、トランスインピーダンスアンプHZ2への電流入力として供給され、その出力が前記入力信号Srを定義する、
増幅装置。
続きを表示(約 660 文字)
【請求項2】
前記第2帰還経路は、誤差補正を強化し、低周波ループ利得をさらに増大させるように構成された、少なくとも2つのキャパシタ、好ましくは3つ、より好ましくは4つのキャパシタと、3つの抵抗、より好ましくは4つの抵抗とを含む、最小次数2、好ましくは3のフィードバックネットワークを有する、
請求項1に記載の増幅装置。
【請求項3】
前記第3帰還経路は、キャパシタおよび抵抗を含む加算ネットワークH2+H3を介した入力/帰還加算機能をさらに含み、入力信号Sxおよび出力(Y)からの出力信号Sy帰還を、周波数に依存した手法で加算するように構成され、
前記加算された出力は、電流としてトランスインピーダンスアンプHZ2の仮想グランド入力に供給される、
請求項1または2に記載の増幅装置。
【請求項4】
前記加算機能は、演算増幅器、1つまたは2つの抵抗および1つのキャパシタを含むトランスインピーダンス回路HZ2をさらに有する、
請求項3に記載の増幅装置。
【請求項5】
(102)の出力に結合された入力と、HZ1(s)の入力に結合された出力と、HZ2(s)の入力に結合された別の出力とを有するソフトリミッタ回路をさらに備え、
前記ソフトリミッタ回路は、HZ1(102)の出力における電圧レベルが既定の電圧レベルを超えた場合、補正ループ構造の利得を効果的に比例的に制限する、
請求項1から4のいずれか一項に記載の増幅装置。
発明の詳細な説明
【技術分野】
【0001】
発明の分野
本発明は、増幅装置に関し、特に、音質が改良された増幅装置に関する。
続きを表示(約 2,800 文字)
【背景技術】
【0002】
発明の背景
近年、音声増幅の分野では、高性能なD級増幅器が開発され、大きな進歩を遂げている。D級増幅器は、スイッチング増幅器としても知られており、電力段の半導体、通常はMOSFETなどのトランジスタが、従来の古い増幅器のような線形利得装置としてではなく、電子スイッチとして動作する電子増幅器である。それらは、アナログ音声入力信号の振幅変化を表す、振幅は固定であるがデューティサイクルが変化する矩形パルスのトレインを生成することによって動作する。変調器の出力は、出力トランジスタを交互にオン、オフするために使用される。トランジスタは完全にオンかオフのどちらかであるため、消費電力はほとんどなく、これはD級増幅器の典型的な利点である。インダクタとキャパシタとで構成されるローパスフィルタは、音声信号の可聴低周波の経路を提供し、音声信号から高周波成分の大部分を除去する。
【0003】
D級増幅器は、かなり以前から知られており、他の級の増幅器と比較して、いくつかの利点があることで知られている。その中でも、D級増幅器は、A級増幅器およびAB級増幅器と比較して、常に効率が良く、比較的コンパクトなサイズであることが知られている。しかしながら、EMC関連の問題の可能性など、ある種の課題も抱えている。
【0004】
D級増幅器では制御回路が複雑であるため、設計および実装の面で課題が生じ得る。効率、サイズ、低歪みの維持のバランスを達成するためには、慎重なエンジニアリングが必要であり、トレードオフを伴うことが多い。さらに、負荷変動に対するD級増幅器の感度が懸念される場合もある。リアクティブ負荷は性能に影響を与え得るため、負荷条件が大きく変化しても増幅器が良好に動作するように設計することが重要となる。
【0005】
しかしながら、現代の高性能のD級増幅器は、ほとんどの用途で良好な性能を発揮し、多くの場合、典型的なD級増幅器の上記の欠点の多くがある程度克服された高忠実度特性を特徴とする。
【0006】
しかしながら、現代のD級増幅器でさえ、常に妥協がないわけではなく、まだ改善の余地が残されていることが多い。
【0007】
長年にわたり、D級増幅器の忠実性および堅牢性を高めるために、フィードバック制御技術および部品統合の改善など、いくつかの改良が行われてきた。このような進歩にもかかわらず、市販されている多くのD級増幅器は、特に実際のダイナミックな状況およびリアクティブ負荷の下で高い音質を維持する上で、さらなる改善の余地を残している。
【0008】
特に、高性能の音響用途において、これらの増幅器により高い忠実度が要求されるようになると、効率、歪み抑制、制御ループの安定性のトレードオフのバランスを取ることが、設計上の課題として残る。
【0009】
このようなことから、本発明は、D級動作の固有の効率の利点を維持しつつ、音響性能の向上、歪みの低減、および安定性の向上を実現する、改良された自己発振型D級増幅装置を提供することを目的とする。
【発明の概要】
【課題を解決するための手段】
【0010】
上記の目的は、本開示の第1態様において、少なくとも部分的に、スピーカまたは同等のリアクティブ負荷を駆動するために、装置入力Xにおける入力信号Sxを装置出力Yにおける出力信号Syに増幅するための増幅装置によって達成される。この増幅装置は、第1伝達関数K
A
(s)を有する自己発振型D級電力増幅段(10)と、補正段と、を備える。この増幅段(10)は、比較器(01)と、D級電力段(03)と、2次のローパス出力フィルタ(04)と、時間遅延ユニット(02)と、装置出力Yからの第1帰還経路と、を有する。比較器(01)は、第1フィードバックフィルタHosc(06)を介して、比較器の出力信号Syをローカル入力電圧SKinと比較する。D級電力段(03)は、比較器(01)の出力に結合され、比較器(01)の出力によって駆動され、比較器の出力電圧を高電流能力を有するより高い電圧レベルに変換する。2次のローパス出力フィルタ(04)は、D級電力段の出力信号から高周波スイッチングノイズの少なくとも一部を除去するために、インダクタおよびキャパシタを含み、電力段(03)とスピーカまたは同等の負荷との間に結合される。時間遅延ユニット(02)は、比較器、Hoscおよび電力段のうちの1つ以上に応じた時間遅延を提供するように構成される。第1帰還経路は、Hosc(06)を介して、出力信号Syを比較器(01)に戻して結合する。この第1帰還経路は、発振周波数の制御を提供し、音声周波数帯域における信号の歪みを低減するために、少なくとも部分的に低周波フィードバックを提供する。補正段は、第2帰還経路を有する。第2帰還経路は、増幅段によって生成された出力信号(Sy)の誤差をさらに補正するために、トランスインピーダンスアンプHZ1(102)の仮想グランド入力である加算ノードS2へのH1(104)を介して、装置出力Yからの出力信号Syを補正段の帰還入力に結合する。このさらなる補正は、電力増幅段、出力フィルタおよびスピーカまたは同等の負荷によって引き起こされた、分離されてフィルタリングされた歪み成分の反転で、増幅段(10)の電力増幅器の入力信号SKinを事前に歪ませることによって実行される。分離された歪み成分は、トラッキングフィルタKT(101)に入力信号Srを通し、そのあと、出力信号SyのスケーリングされたバージョンであるH1(104)の出力から、帰還信号からの結果を減算することによって得られる。補正段は、第3帰還経路をさらに有する。第3帰還経路は、第2帰還経路による出力信号Syの補正をさらに強化するために、H2+H3を介して、補正段のHZ2を通して、出力信号Syを追加の帰還入力に結合する。第3帰還経路は、帰還経路の選択性を強化し、追加の帰還利得を提供するために、高次の加算として構成される。第3帰還経路は、出力信号Syに適用される第1伝達関数H2と、入力信号Sxに適用される異なる第2伝達関数H3とを実装したネットワークで構成される。これらのH2およびH3は、抵抗およびキャパシタを含む単一のパッシブネットワーク内で結合される。H2およびH3のそれぞれの出力は、加算され、トランスインピーダンスアンプHZ2への電流入力として供給され、トランスインピーダンスアンプHZ2の出力が入力信号Srを定義する。
(【0011】以降は省略されています)
この特許をJ-PlatPat(特許庁公式サイト)で参照する
関連特許
株式会社蜂鳥
増幅器
14日前
エイブリック株式会社
増幅器
2か月前
エイブリック株式会社
増幅器
2か月前
エイブリック株式会社
増幅回路
2か月前
日本電波工業株式会社
水晶振動子
1か月前
エイブリック株式会社
電圧検出器
3か月前
日本電波工業株式会社
圧電振動片
2か月前
日本電波工業株式会社
圧電デバイス
4か月前
株式会社トーキン
ノイズフィルタ
3か月前
ローム株式会社
オペアンプ
4か月前
ローム株式会社
オペアンプ
4か月前
株式会社大真空
圧電振動デバイス
1日前
ローム株式会社
オペアンプ
4か月前
台灣晶技股ふん有限公司
水晶発振器
1か月前
三菱電機株式会社
半導体装置
4か月前
京セラ株式会社
差動信号フィルタデバイス
20日前
京セラ株式会社
差動信号フィルタデバイス
20日前
富士電機株式会社
半導体装置
13日前
株式会社大真空
恒温槽型圧電発振器
4か月前
個人
誤り訂正装置及び誤り訂正方法
3か月前
株式会社半導体エネルギー研究所
駆動回路
2か月前
株式会社村田製作所
増幅回路
3か月前
TDK株式会社
電子部品
2か月前
ローム株式会社
オペアンプ回路
4か月前
ローム株式会社
オペアンプ回路
4か月前
株式会社村田製作所
高周波回路
3か月前
ローム株式会社
オペアンプ回路
4か月前
ローム株式会社
半導体集積回路
3か月前
TDK株式会社
電子部品
2か月前
台灣晶技股ふん有限公司
水晶発振素子
1か月前
ローム株式会社
半導体集積回路
4か月前
京セラ株式会社
弾性波共振子および通信装置
今日
株式会社村田製作所
弾性波装置
13日前
住友電気工業株式会社
歪補償装置
7日前
ローム株式会社
自己診断システム
1か月前
国立大学法人東北大学
弾性表面波デバイス
1か月前
続きを見る
他の特許を見る